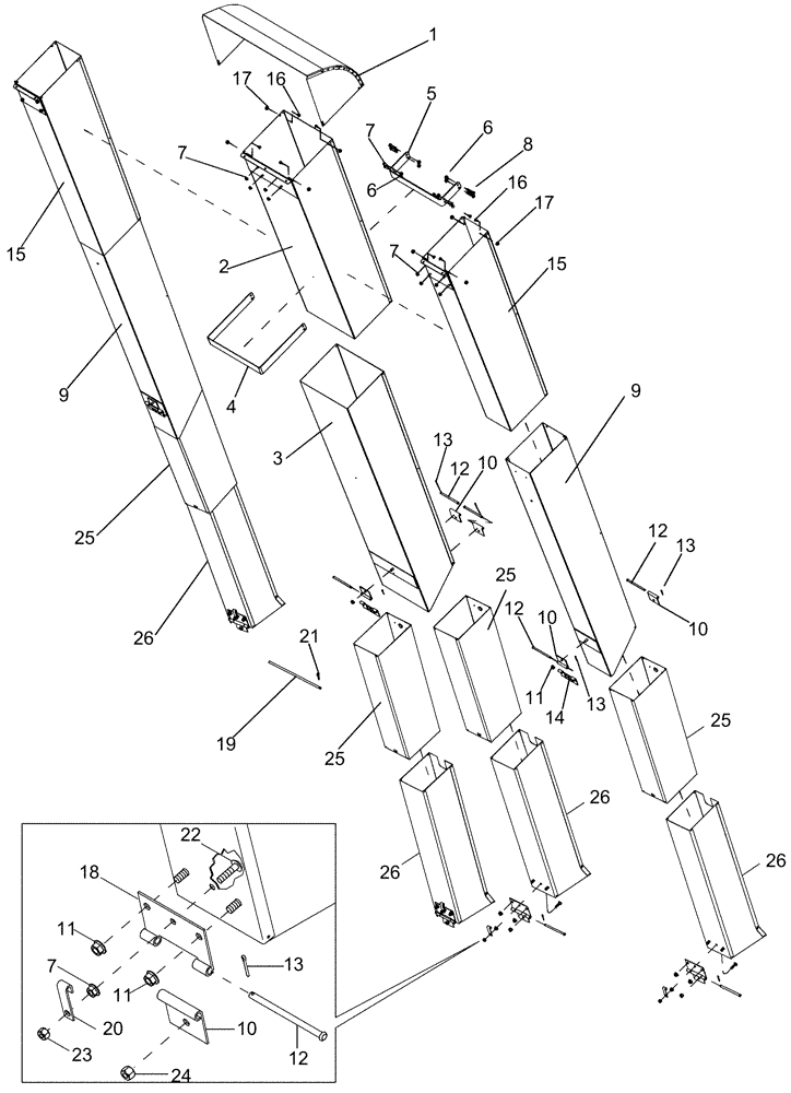
Запчасти Case IH 635 (74.141.18) - CONVEYOR CHUTES, TRIPLE CENTER TELESCOPING, 6 ROW NARROW NO. 3F, 4R, 4F, 5R (74) - CLEANING

Схема запчастей Case IH 635 - (74.141.18) - CONVEYOR CHUTES, TRIPLE CENTER TELESCOPING, 6 ROW NARROW NO. 3F, 4R, 4F, 5R (74) - CLEANING
12
13
10
25
10
20
9
1
24
9
25
11
2
15
12
26
13
22
15
8
10
13
7
10
11
26
14
17
17
26
7
7
12
7
6
13
25
16
6
3
26
16
19
11
5
4
12
25
23
18
21
FIT
1:1
100%

Артикул

Название

Примечание

Количество

1

87737292

CHUTE

Triple Hood 6 Row Narrow

1шт.

2

NSS

NOT SOLD SEPARAT

CHUTE, Center Upper Assembly

1шт.

3

NSS

NOT SOLD SEPARAT

CHUTE, Double Lower Upper Center

1шт.

4

87661974

BRACKET

Lower Ladder Strap

1шт.

5

87661973

BRACKET

Lower Basket Ladder

1шт.

6

413-512

BOLT,Hex, 5/16" - 18 x 3/4", Gr 5

4шт.

7

231-5145

SERRATED NUT,Flg, USR, 5/16"-18

40шт.

8

413-532

BOLT,Hex, 5/16" - 18 x 2", Gr 5

12шт.

9

87735244

CHUTE

Single Inner Lower

2шт.

10

1270014C1

HINGE

Upper

8шт.

11

231-5146

FLANGE NUT,3/8"-16

8шт.

12

1349860C1

PIN,7.94mm OD x 129mm L

Upper Hinge

8шт.

13

432-816

COTTER PIN,1/8" x 1"

4шт.

14

87683626

HINGE

2шт.

15

87736198

CHUTE

Single Inner Upper

2шт.

16

87327190

SCREW,Truss HD, 1/4" x 1/2", Gr 8

12шт.

17

231-5144

SERRATED NUT,Flg, USR, 1/4"-20

12шт.

18

1349843C1

HINGE

Female

8шт.

19

233320A2

PIN,7.94mm OD x 194.5mm L

4шт.

20

1984343C1

HOOK

Air Pipe

4шт.

21

136-159

HAIR PIN COTTER,Int, 3/16 x .080"

4шт.

22

477-73120

SERRATED SCREW,Truss HD, 5/16" - 18 x 1-1/4"

4шт.

23

231-4115

NUT,5/16"-18, GB

8шт.

24

231-4116

NUT,3/8"-16, GB

4шт.

25

1349938C1

CHUTE

Upper

4шт.

26

84175678

CHUTE

Lower

4шт.

Выбрано товаров: 26