Запчасти Case IH 635 (74.141.24[02]) - REAR COOLER BOX AND SUPPORTS, ASN YBT016811 (74) - CLEANING

Схема запчастей Case IH 635 - (74.141.24[02]) - REAR COOLER BOX AND SUPPORTS, ASN YBT016811 (74) - CLEANING
10.310.01
6
35
16
9
23
10
46
8
20
35.910.08
30
47
15
32
11
29
14
24
29
26
47
30
34
29
12
1
10.310.01
38
17
36
46
27
33
46
46
35
49
48
20
22
46
25
44
28
47
19
home
30
40
5
30
36
2
36
42
30
7
35.910.08
74.141.22
38
43
37
31
4
39
13
21
37
3
41
45
36
18
10.310.01
49
FIT
1:1
100%

Артикул

Название

Примечание

Количество

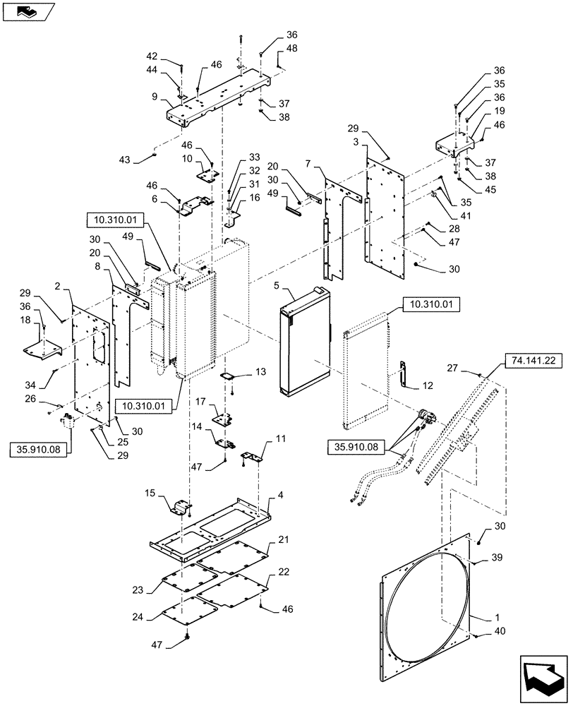
1

84428305

SHEET

Screen Support

1шт.

2

84411579

SHEET

LH

1шт.

3

84405143

SHEET

RH

1шт.

4

84466830

SHEET

Bottom

1шт.

5

84404697

OIL COOLER

1шт.

6

84466748

MOUNT

CAC

1шт.

7

84468205

MOUNT

Radiator, RH Side

1шт.

8

84468182

MOUNT

Radiator, LH Side

1шт.

9

84470477

CHANNEL

Cooler Box Support

1шт.

10

84479777

MOUNT

HOC Top Out

1шт.

11

84466809

MOUNT

HOC Bottom

1шт.

12

84468141

MOUNT

A/C Side

2шт.

13

84479779

SPACER

HOC Bottom

1шт.

14

84466776

MOUNT

CAC Bottom

1шт.

15

84466764

MOUNT

A/C Side

1шт.

16

84425017

MOUNT

A/C Top

1шт.

17

84466077

MOUNT

HOC Top Out

1шт.

18

84467225

MOUNT

Cooler Box Support, LH

1шт.

19

84410541

MOUNT

Cooler Box Support, RH

1шт.

20

84470954

ANGLE BAR

Seal

2шт.

21

84479372

GASKET,3.3mm Thk

Cooler Box Cover, RH

1шт.

22

84481953

COVER

Cooler Box Bottom, RH

1шт.

23

84479371

GASKET,3.3mm Thk

Cooler Box Cover, LH

1шт.

24

84481952

COVER

Cooler Box Bottom, LH

1шт.

25

515-23286

CLAMP,1-1/8", Insul, 3/8" Bolt

1шт.

26

515-22254

CLAMP,1", Insul, 5/16" Bolt

1шт.

27

231-5145

SERRATED NUT,Flg, USR, 5/16"-18

8шт.

28

477-82508

SERRATED SCREW,Sl Truss Hd, 1/4" - 20 x 1/2"

27шт.

29

477-82512

SERRATED SCREW,Sl Truss Hd, 1/4" - 20 x 3/4"

6шт.

30

231-5144

SERRATED NUT,Flg, USR, 1/4"-20

29шт.

31

86639325

WASHER,10.8mm ID x 24.5mm OD x 3mm Thk

2шт.

32

892-11010

LOCK WASHER,M10

2шт.

33

413-612

BOLT,Hex, 3/8" - 16 x 3/4", Gr 5

2шт.

34

84476726

SCREW,Hex Socket, M10 x 1.5 x 30mm, Class 8.8

2шт.

35

9840672

BOLT,Hex Serr Flg, M10 x 30mm

22шт.

36

434-820

CARRIAGE BOLT,Sht Sq Nk, 1/2" - 13 x 1 1/4", Gr 5

9шт.

37

495-21056

WASHER,1/2"

9шт.

38

231-5148

FLANGE NUT,Flg, USR, 1/2"-13

9шт.

39

409-7512

BOLT,Hex Flg, 5/16" - 18 x 3/4", Spcl

10шт.

40

87021006

BOLT,M10 x 26.4mm, Cl 10.9

4шт.

41

515-23381

CLAMP,1 1/2", Insul, 3/8" Bolt

1шт.

42

490-1108

SCREW,Cross Pan Hd, #10-32 x 1/2"

2шт.

43

225-14210

NUT,#10-32

2шт.

44

167800C1

CLIP

2шт.

45

43435

FLANGE NUT,Hex, M10 x 1.5

4шт.

46

905-10025

BOLT,Hex Flg, M10 x 25mm

41шт.

47

274249

BOLT,Hex, M10 x 20mm

25шт.

48

477-82516

SERRATED SCREW,Sl Truss Hd, 1/4" - 20 x 1"

1шт.

49

84480727

RUBBER SEAL,173mm L

2шт.

Выбрано товаров: 49