Запчасти Case IH 1400 (9B-02) - FAN DRIVE AND CONTROLS (15) - HANDLING SYSTEM

Схема запчастей Case IH 1400 - (9B-02) - FAN DRIVE AND CONTROLS (15) - HANDLING SYSTEM
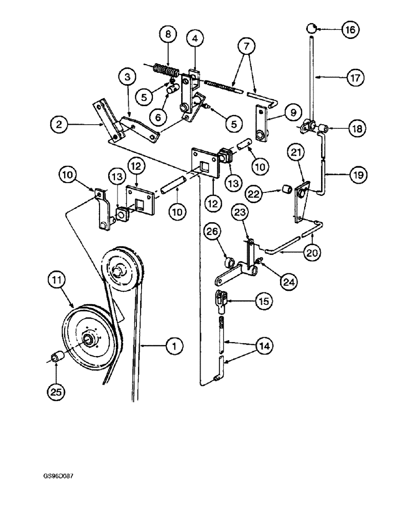
2
10
6
7
11
8
1
4
22
24
21
10
5
26
14
18
19
23
25
13
12
5
12
17
13
20
9
10
16
15
3
FIT
1:1
100%

Артикул

Название

Примечание

Количество

1

217564C1

BELT,1904.86 mm L, 2 Ribs

Fan drive 1904.86 mm L, 2 Ribs

1шт.

2

217656C1

LEVER

- long

1шт.

22635R1

HEADED PIN,1/2" x 1 1/4"

PIN, HEADED, 1/2 x 1 1/4 inch

1шт.

432-1216

COTTER PIN,3/16" x 1"

(Replaces pin 103407) 3/16" x 1"

1шт.

3

217658C1

ARM

- main drive, lever

1шт.

432-1216

COTTER PIN,3/16" x 1"

(Replaces pin 103407) 3/16" x 1"

1шт.

495-81163

WASHER,17/32" x 1 1/2" x .120"

- flat, 17/32 x 1-1/2 x 7/64 inch (Replaces washer 460908R1)

1шт.

4

219645C1

ROCKSHAFT

- belt tightener

1шт.

5

219-87

LUBE NIPPLE,1/4" - 28 NPTF

NIPPLE, LUBE, (Replaces fitting 19588R91) 1/4"-28 x .56" lg, Self-Tap

2шт.

6

214567C1

PIN

- rod pivot

1шт.

7

217670C1

ROD

- control, long

1шт.

231-1448

NUT,1/2"-13, GB

- hex, self-locking, 1/2 inch NC (Replaces nut 22816R1)

1шт.

425-108

NUT,1/2" - 13, Gr 5

NUT, , Hex (Replaces nut 120378) 1/2"-13, G5

1шт.

432-1216

COTTER PIN,3/16" x 1"

(Replaces pin 103407) 3/16" x 1"

1шт.

8

53988V

SPRING - idler

1шт.

495-11053

WASHER,1/2", SAE

(17/32" x 1-1/16" x 3/32") (Replaces washer 120396) 1/2", SAE

2шт.

9

217672C1

ARM

- idler shaft, lever

1шт.

38-32020

PIN,5/16" x 1 1/4", Coiled

(replaces pin 19790R1) 5/16" x 1 1/4", Coiled

1шт.

10

217647C1

SHAFT

ROCKSHAFT - fan drive idler

1шт.

432-1220

COTTER PIN,3/16" x 1 1/4"

(Replaces pin 103408) 3/16" x 1 1/4"

2шт.

495-81060

WASHER,23.01mm ID x 44.45mm OD x 3.4mm Thk

- flat, 29/32 x 1-3/4 x 7/64 inch (Replaces washer 21715R1)

1шт.

11

222100C1

PULLEY ASSY.

PULLEY - idler

1шт.

413-1036

BOLT,Hex, 5/8" - 11 x 2-1/4", Gr 5

- hex, 5/8 NC x 2-1/4 inch (Replaces bolt 271724)

1шт.

425-1010

NUT,5/8"-11, G5

(Replaces nut 124589) 5/8"-11, G5

1шт.

492-11062

BEARING WASHER,5/8"

WASHER, LOCK, (Replaces washer 121574) 5/8"

1шт.

12

217699C1

BELT,2780.63 mm L

BAR - bearing, support

2шт.

413-616

BOLT,Hex, 3/8" - 16 x 1", Gr 5

- hex, 3/8 NC x 1 inch (Replaces bolt 180122)

4шт.

231-5146

FLANGE NUT,3/8"-16

(Replaces nut 482256R1) Flg, USR, 3/8"-16

4шт.

13

668999R1

BUSHING

- flange

2шт.

14

217667C1

ROD

- lower control

1шт.

15

213-128

ADJUSTABLE CLEVIS,1/2"-20 x 3"

CLEVIS, ADJUSTABLE, (Replaces clevis 144256) 1/2"-20 x 3"

1шт.

427-8136

CLEVIS PIN,1/2" x 1.360"

PIN - clevis, 1/2 x 3/8 inch, hardened (Replaces pin 138086)

1шт.

432-816

COTTER PIN,1/8" x 1"

(Replaces pin 137185) 1/8" x 1"

1шт.

432-812

COTTER PIN,3/4" OAL x 1/8" W

PIN, SPLIT (COTTER), (Replaces pin 103384) 1/8" x 3/4"

1шт.

425-158

JAM NUT,Jam, 1/2"-20, G5

(Replaces nut 124934) Jam, 1/2"-20, G5

1шт.

16

198936C1

KNOB

- fan engage lever

1шт.

17

219898C91

CONTROL

- fan engage

1шт.

18

156064C1

SPACER

BUSHING - fan engage control

1шт.

495-81177

WASHER,21/32" x 1" x .030"

- flat, 21/32 x 1 x 1/32 inch (Replaces washer 22258R1)

2шт.

413-628

BOLT,Hex, 3/8" - 16 x 1-3/4", Gr 5

- hex, 3/8 NC x 1-3/4 inch (Replaces 180128)

1шт.

425-106

NUT,3/8"-16, Cl 5

(Replaces nut 120377) 3/8"-16, G5

1шт.

492-11038

LOCK WASHER,3/8"

(Replaces washer 120382) 3/8"

1шт.

19

219908C1

BAR

ROD - fan control, upper

1шт.

432-616

COTTER PIN,3/32" x 1"

(Replaces pin 121222) 3/32" x 1"

2шт.

20

220692C1

ROD - fan control, center

1шт.

432-616

COTTER PIN,3/32" x 1"

(Replaces pin 121222) 3/32" x 1"

2шт.

21

220694C91

ARM

- fan lever, front

1шт.

22

568921R1

BUSHING,15.9mm ID x 19.02mm OD x 22.23mm L

- lever

1шт.

23

219906C1

LEVER

- drive, rear

1шт.

24

219-8

LUBE NIPPLE,1/4" - 28 NPTF

NIPPLE, LUBE, (Replaces fitting 109454) 1/4"-28 NPT x .54" lg

1шт.

25

568921R1

BUSHING,15.9mm ID x 19.02mm OD x 22.23mm L

- idler pulley

1шт.

26

50061K

SPACER,1" Tube x 3/4"

- tube, 1 x 3/4 inch

1шт.

Выбрано товаров: 52