Запчасти Case IH 1400 (7-08) - PARKING BRAKE (5.1) - BRAKES

Схема запчастей Case IH 1400 - (7-08) - PARKING BRAKE (5.1) - BRAKES
6
2
1
5
4
4
3
2
5
1
FIT
1:1
100%

Артикул

Название

Примечание

Количество

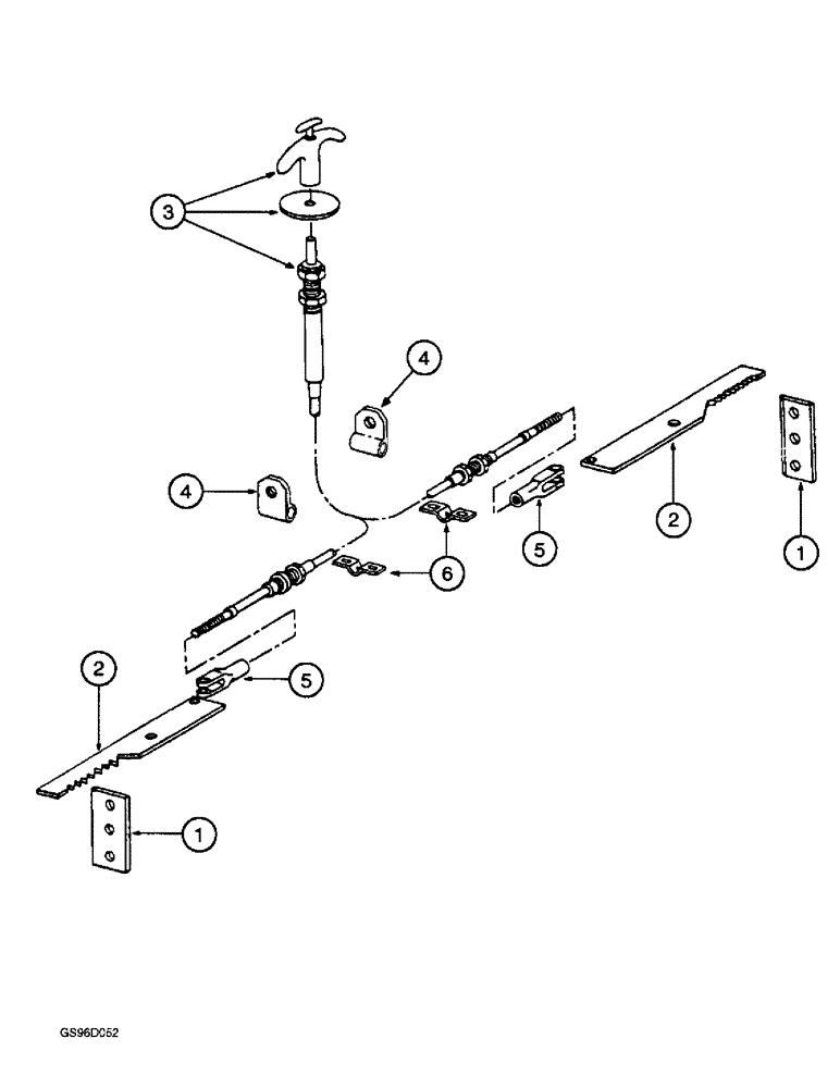
1

216037C1

BAR

- parking brake ratchet

2шт.

413-516

BOLT,Hex, 5/16" - 18 x 1", Gr 5

- hex, 5/16 NC x 1 inch (Replaces bolt 180079)

4шт.

425-105

NUT,5/16"-18, G5

- hex, 5/16 inch NC (Replaces nut 120376)

4шт.

492-11031

LOCK WASHER,5/16"

WASHER, LOCK, (Replaces washer 120214) 5/16"

4шт.

2

207326C1

LEVER

- parking brake sector

2шт.

413-616

BOLT,Hex, 3/8" - 16 x 1", Gr 5

- hex, 3/8 NC x 1 inch (Replaces bolt 180122)

2шт.

231-4116

NUT,3/8"-16, GB

NUT - hex, self-locking, 3/8 inch NC (Replaces nut 9411655)

2шт.

3

216199C1

CABLE

- parking brake

1шт.

4

27386D

CLAMP - cable

2шт.

5

673428R1

YOKE

CLEVIS - parking brake

2шт.

427-4077

CLEVIS PIN,1/4" x .770"

PIN, CLEVIS, (Replaces pin 138083) 1/4" x .770"

2шт.

432-48

COTTER PIN,1/16" x 1/2"

PIN, SPLIT (COTTER), (Replaces pin 112726) 1/16" x 1/2"

2шт.

225-14110

NUT,#10-24

(Replaces nut 120361) #10-24

2шт.

6

216493C1

CLAMP

- cable, includes shim

2шт.

463-1108

SCREW,Hex Hd, #10-24 x 1/2"

- machine, No. 10 NC x 1/2 inch,Course threads

4шт.

225-14110

NUT,#10-24

(Replaces nut 120361) #10-24

4шт.

492-11010

LOCK WASHER,#10

WASHER, LOCK, (Replaces washer 120217) #10

4шт.

Выбрано товаров: 17