Запчасти Case IH 1400 (6-18) - TRANSMISSION SHIFT CONTROLS (03) - POWER TRAIN

Схема запчастей Case IH 1400 - (6-18) - TRANSMISSION SHIFT CONTROLS (03) - POWER TRAIN
10
2
1
4
16
14
6
15
12
10
11
5
7
3
8
13
11
11
9
17
FIT
1:1
100%

Артикул

Название

Примечание

Количество

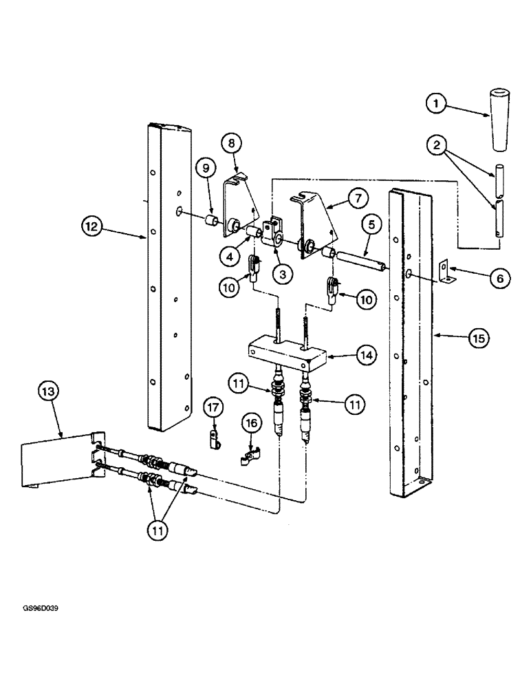
1

198934C1

HANDLE

KNOB - gear shift

1шт.

2

215744C2

ROD

- transmission shift

1шт.

495-81253

WASHER,0.34" ID x 0.88" OD x 0.06" Thk

- flat, 11/32 x 7/8 x 1/16 inch (Replaces washer 21448R1)

1шт.

22099R1

LOCK PIN,5/16" x 1 1/2", Slotted

Pin, 5/16" x 1 1/2", Slotted

1шт.

3

157360C11

ARM

PIVOT - gear shift

1шт.

4

568920R1

BUSHING

- body

1шт.

495-81182

WASHER,21/32" x 1 1/4" x .060"

- flat, 21/32 x 1-1/4 x 3/64 inch (Replaces washer 608701R1)

8шт.

5

209938C1

PIN

- gear shift pivot

1шт.

432-1232

COTTER PIN,3/16" OD x 2" L

(Replaces pin 127623) 3/16" x 2"

1шт.

6

165900C1

ANGLE

CLIP - pin retainer

1шт.

413-516

BOLT,Hex, 5/16" - 18 x 1", Gr 5

- hex, 5/16 NC x 1 inch (Replaces bolt 180079)

1шт.

425-105

NUT,5/16"-18, G5

- hex, 5/16 inch NC (Replaces nut 120376)

1шт.

492-11031

LOCK WASHER,5/16"

WASHER, LOCK, (Replaces washer 120214) 5/16"

1шт.

7

215737C91

ARM

- transmission shift front

1шт.

8

215738C91

ARM

- transmission shift rear

1шт.

9

568921R1

BUSHING,15.9mm ID x 19.02mm OD x 22.23mm L

- transmission arm

2шт.

10

213-125

ADJUSTABLE CLEVIS,5/16" - 32

(Replaces clevis 104037) 5/16"-24

2шт.

327-5094

CLEVIS PIN,5/16" x .940"

PIN - clevis, 5/16 x 15/16 inch (Replaces pins 121741 and 16616R1)

2шт.

432-616

COTTER PIN,3/32" x 1"

(Replaces pin 137159) 3/32" x 1"

2шт.

425-155

JAM NUT,Jam, 5/16"-24, G5

- hex jam, 5/16 inch NF (Replaces nut 124920)

4шт.

11

1329381C1

CABLE

- transmission shift (Replaces cable 672861R91)

2шт.

12

215743C2

SUPPORT - gear shift rear (Replaces support 215743C1)

1шт.

413-512

BOLT,Hex, 5/16" - 18 x 3/4", Gr 5

- hex, 5/16 NC x 3/4 inch (Replaces bolt 180077)

2шт.

425-105

NUT,5/16"-18, G5

- hex, 5/16 inch NC (Replaces nut 120376)

2шт.

492-11031

LOCK WASHER,5/16"

WASHER, LOCK, (Replaces washer 120214) 5/16"

2шт.

13

215823C1

SUPPORT

ANCHOR - cable lower

1шт.

26312R1

BOLT,Hex, 3/8" - 16 x 1 1/2", Gr 8

- hex, 3/8 NC x 1-1/2 inch

2шт.

14

215736C1

SUPPORT

- cable upper

1шт.

413-516

BOLT,Hex, 5/16" - 18 x 1", Gr 5

- hex, 5/16 NC x 1 inch (Replaces bolt 180079)

2шт.

425-105

NUT,5/16"-18, G5

- hex, 5/16 inch NC (Replaces nut 120376)

2шт.

492-11031

LOCK WASHER,5/16"

WASHER, LOCK, (Replaces washer 120214) 5/16"

2шт.

15

215742C2

SUPPORT - gear shift front (Replaces support 215742C1)

1шт.

413-512

BOLT,Hex, 5/16" - 18 x 3/4", Gr 5

- hex, 5/16 NC x 3/4 inch (Replaces bolt 180077)

2шт.

425-105

NUT,5/16"-18, G5

- hex, 5/16 inch NC (Replaces nut 120376)

2шт.

492-11031

LOCK WASHER,5/16"

WASHER, LOCK, (Replaces washer 120214) 5/16"

2шт.

16

588322R2

CLAMP - transmission shift cable

1шт.

413-512

BOLT,Hex, 5/16" - 18 x 3/4", Gr 5

- hex, 5/16 NC x 3/4 inch (Replaces bolt 180077)

1шт.

425-105

NUT,5/16"-18, G5

- hex, 5/16 inch NC (Replaces nut 120376)

1шт.

492-11031

LOCK WASHER,5/16"

WASHER, LOCK, (Replaces washer 120214) 5/16"

1шт.

17

358986R1

CABLE CLIP

CLIP - cable

1шт.

413-816

BOLT,Hex, 1/2" - 13 x 1", Gr 5

(Replaces bolt 180173) Hex, 1/2"-13 x 1", G5, Full Thd

1шт.

425-108

NUT,1/2" - 13, Gr 5

NUT, , Hex (Replaces nut 120378) 1/2"-13, G5

1шт.

80679

LOCK WASHER,1/20.507 CST ZND

WASHER, LOCK, (Replaces washer 120384) 1/2"

1шт.

Выбрано товаров: 43