Запчасти Case IH 1400 (5-08) - STEERING CYLINDER (04) - STEERING

Схема запчастей Case IH 1400 - (5-08) - STEERING CYLINDER (04) - STEERING
9
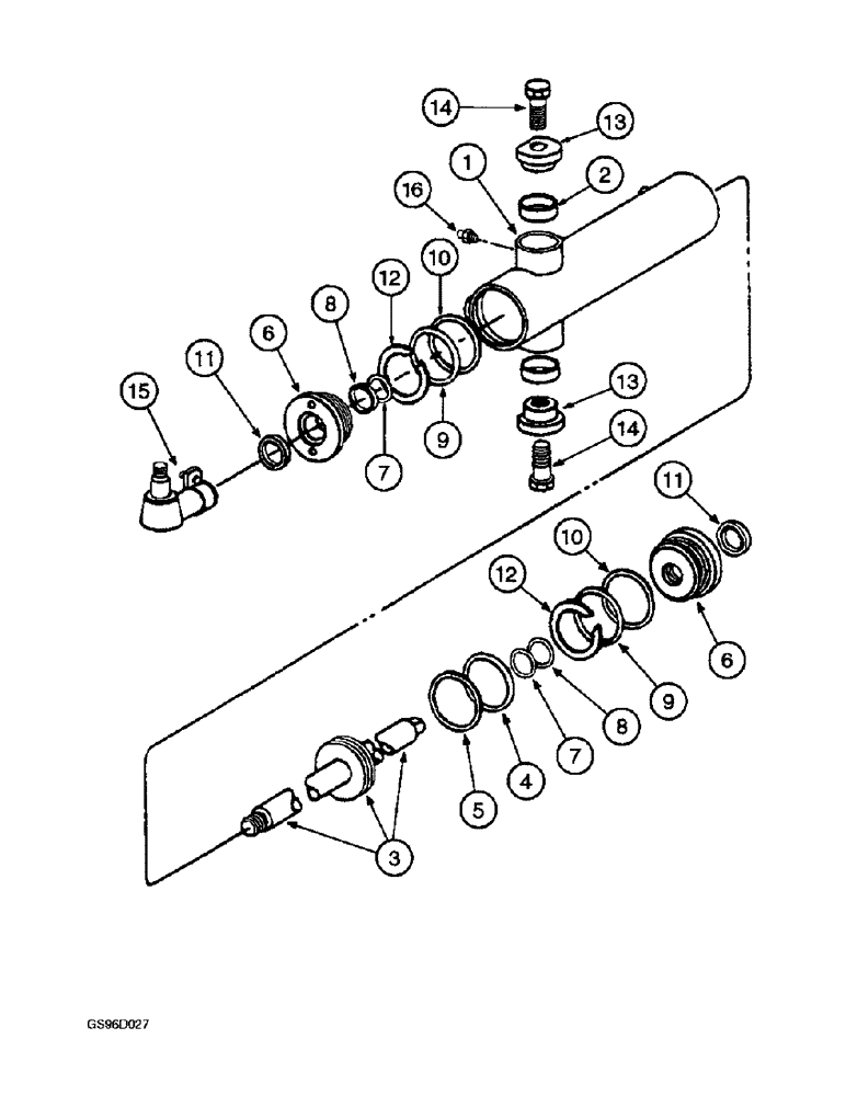
1
11
14
7
5
9
10
8
6
3
13
2
13
12
7
11
15
6
4
10
8
12
14
16
FIT
1:1
100%

Артикул

Название

Примечание

Количество

149812C91

CYLINDER

ASSEMBLY - hydraulic steering

1шт.

1

NSS

NOT SOLD SEPARAT

BODY - steering cylinder, with bushings, order cylinder assembly 149812C91

1шт.

2

533283R1

BUSHING,38.16mm ID x 41.41mm OD x 10.99mm L

- steering cylinder body trunnion

2шт.

3

149810C1

ROD ASSY.

ROD - steering cylinder piston

1шт.

4

238-5129

O-RING,0.103" Thk x 1.549" ID, -129, Cl 5, 75 Duro

Steering cylinder piston (Replaces 327085R1) -129, 70 Duro, 1.549" ID x .103" Thk

1шт.

5

377220R2

RING

SEAL - steering cylinder piston O-ring, teflon

1шт.

6

149809C1

HEAD

- steering cylinder

2шт.

7

238-6214

O-RING,0.139" Thk x 0.984" ID, -214, Cl 6, 90 Duro

Steering cylinder piston rod (Replaces O-ring 380794R1) -214, 90 Duro, .984" ID x .139" Thk

2шт.

8

379571R1

BACK-UP RING,Split, 25.37mm ID x 31.67mm OD x 1.32mm Thk

- piston rod O-ring, back-up

2шт.

9

238-5224

O-RING,0.139" Thk x 1.734" ID, -224, Cl 5, 75 Duro

Steering cylinder head (Replaces O-ring 290987R1) -224, 70 Duro, 1.734" ID x .139" Thk

2шт.

10

377230R1

BACK-UP RING

WASHER - cylinder head O-ring, back-up

2шт.

11

G33955

WIPER SEAL,25.37mm ID x 38.13mm OD x 7.92mm Thk

SEAL - steering cylinder scraper oil (Replaces seal 532856R91)

2шт.

12

461180R1

RETAINER

RING - retaining, steering cylinder front head, 6-1/4 inch (159 mm) long, cut from bulk stock 140600C1 below

2шт.

13

531237R1

CAP

- trunnion

2шт.

14

531238R1

BOLT,Hex, 5/8" - 18 x 1.6", Cl 8

- trunnion cap

2шт.

15

186796C1

BALL JOINT

SOCKET - steering

1шт.

425-1310

SLOTTED NUT,5/8"-18, G5

NUT - hex slotted, 5/8 inch NF (Replaces nut 125267)

1шт.

432-824

COTTER PIN,1/8" x 1 1/2"

PIN, SPLIT (COTTER), 1/8" x 1-1/2" (Replaces pin 137204)

1шт.

495-21069

WASHER,5/8"

- flat, 11/16 x 1-3/4 x 9/64 inch (Replaces washer 130999)

1шт.

A41424

SEAL

- steering socket (Replaces seal 382562R1)

1шт.

16

219-53

LUBE NIPPLE,65 Degree Elbow, 3/16" NPTF

FITTING - grease, 65 degree, 3/16 inch (Replaces fitting 273359)

1шт.

149844C1

KIT

- hydraulic cylinder service

1шт.

140600C1

RETAINING WIRE

WIRE - retaining, 12-13/16 inch (325 mm) long

1шт.

Выбрано товаров: 23