Запчасти Case IH 1400 (5-14) - STEERING AXLE - ADJUSTABLE, SERIAL NUMBER 764 AND ABOVE (04) - STEERING

Схема запчастей Case IH 1400 - (5-14) - STEERING AXLE - ADJUSTABLE, SERIAL NUMBER 764 AND ABOVE (04) - STEERING
8
10
26
34
36
23
11
15
29
25
30
17
20
18
28
16
31
32
3
2
33
7
21
3
25
19
24
27
33
4
5
9
35
14
1
31
7
12
22
30
13
6
FIT
1:1
100%

Артикул

Название

Примечание

Количество

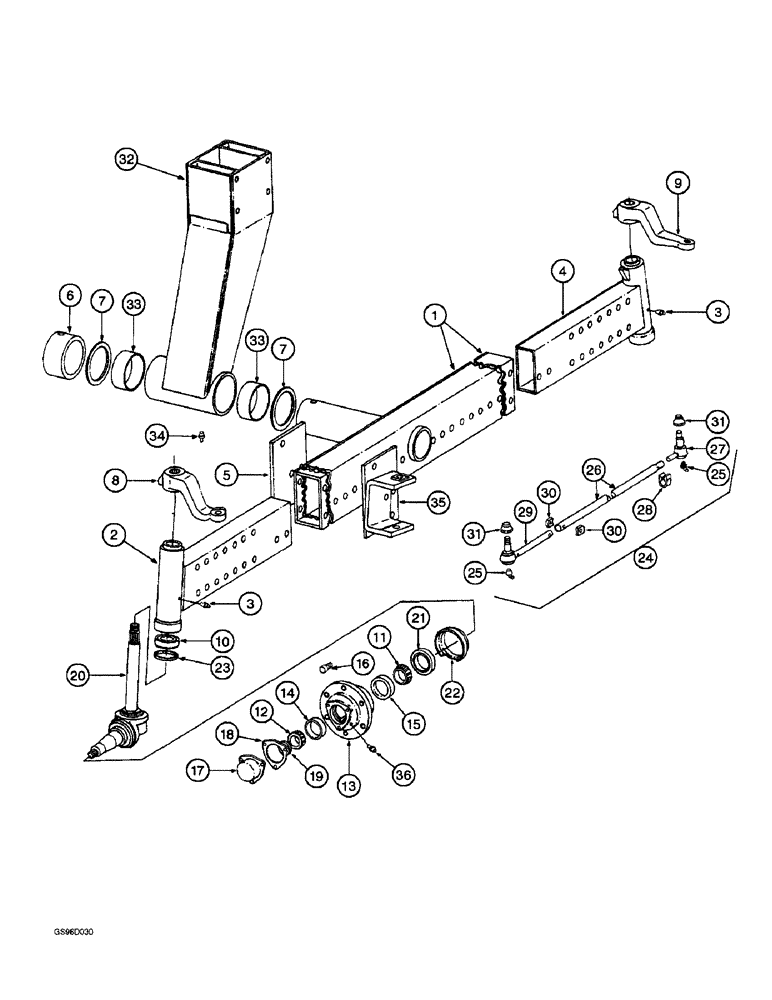
1

1251278C2

AXLE

- guide wheel

1шт.

2

177763C91

EXTENSION ASSY.

EXTENSION - guide axle, left-hand

1шт.

3

219-17

LUBE NIPPLE,3/16" NPTF

FITTING - grease, straight, 3/16 drive type x 17/32" (Replaces fitting 443566)

2шт.

4

177764C91

EXTENSION ASSY.

EXTENSION - guide axle, right-hand

1шт.

5

1251276C1

PLATE

- cylinder mounting

1шт.

413-1276

BOLT,Hex, 3/4" - 10 x 4-3/4", Gr 5

- hex, 3/4 NC x 4-3/4 inch (Replaces bolt 271782)

6шт.

413-1288

BOLT,Hex, 3/4" - 10 x 5-1/2", Gr 5

- hex, 3/4 NC x 5-1/2 inch (Replaces bolt 19873R1)

3шт.

413-1296

BOLT,Hex, 3/4" - 10 x 6", Gr 5

- hex, 3/4 NC x 6 inch (Replaces bolt 20300R1)

1шт.

192-27

LOCK WASHER,3/4"

WASHER, LOCK, (Replaces washer 131046) 3/4"

10шт.

425-1012

NUT,3/4"-10, G5

- hex, 3/4 inch NC (Replaces nut 220086)

10шт.

6

1260432C1

SPACER

- axle

1шт.

7

168385C2

WASHER,102.6mm ID x 127mm OD x 3.3mm Thk

- guide tube pivot

2шт.

439-11288

HEADED PIN,19.05mm OD x 139.7mm L

PIN - headed, 3/4 x 5/8 inch, grade 2 (Replaces pin 28147R1)

1шт.

232-4636

LOCK NUT,3/8"-24, GC

NUT, LOCK, 3/8"-24, GC

1шт.

32-1620

COTTER PIN,1/4" x 1 1/4"

PIN, SPLIT (COTTER), (Replaces pin 103419) 1/4" x 1 1/4"

1шт.

8

177776C3

ARM

- steering knuckle, left-hand

1шт.

9

177777C1

ARM

- steering knuckle, right-hand

1шт.

10

185106C91

BEARING ASSY,44.2mm ID x 70.1mm OD x 19.05mm W

BEARING - extension (Replaces bearing 405831R91)

2шт.

11

G15215

ROLLER BEARING

BEARING - cone, inner wheel (Replaces bearing 619386R91)

2шт.

12

618023R91

BEARING ASSY,34.93mm ID x 18.2mm W

BEARING - cone, outer wheel

2шт.

13

391823R11

HUB

- wheel

2шт.

13

391823R11GV

HUB

Value, Hub Assy.

2шт.

14

618024R1

BEARING CUP,65.113mm OD x 13.97mm W

- Outer wheel

2шт.

15

619387R1

BEARING CUP

BEARING - cup, inner wheel

2шт.

16

414-932

BOLT,Hex, 9/16" - 18 x 2", Gr 5

- front wheel hub (Replaces bolt 181731)

12шт.

17

369859R1

CAP

- front wheel hub

2шт.

18

369860R1

GASKET,0.79mm Thk

- front wheel hub

2шт.

413-510

BOLT,Hex, 5/16" - 18 x 5/8", Gr 5

- hex, 5/16 NC x 5/8 inch (Replaces bolt 180075)

6шт.

492-11031

LOCK WASHER,5/16"

WASHER, LOCK, (Replaces washer 120214) 5/16"

6шт.

19

370255R2

WASHER,22.63mm ID x 47.75mm OD x 4.18mm Thk

- flat, 3/32 x 1-3/32 x 5 gauge

2шт.

20

71785C2

STEERING KNUCKLE

KNUCKLE - steering (Replaces steering knuckle 71785C91)

2шт.

425-1314

SLOTTED NUT,7/8"-14, G5

NUT - hex slotted, 7/8 inch NF (Replaces nut 427646)

2шт.

432-1024

COTTER PIN,5/32" x 1 1/2"

(Replaces pin 108643) 5/32" x 1 1/2"

2шт.

495-81218

WASHER,35.71mm ID x 69.85mm OD x 1.37mm Thk

- flat, 1-13/32 x 2-3/4 x 3/64 inch (Replaces washer 22827R1)

2шт.

425-1522

JAM NUT,Jam, 1 3/8"-12, G5

- hex jam, 1-3/8 inch NF (Replaces nut 427547)

2шт.

21

370254R91

OIL SEAL,57.02mm ID x 82.55mm OD x 6.86mm Thk

- wheel hub

2шт.

22

48701D

SHIELD

- wheel hub

2шт.

23

15943DA

SEALING WASHER,60.33mm ID x 72.23mm OD x 4.76mm Thk

- Felt

2шт.

24

1260512C91

ROD

ASSEMBLY - tie, adjustable axle

1шт.

495-81176

WASHER,21/32" x 1" x .060"

- flat, 21/32 x 1 x 3/64 inch (Replaces washer 21796R1)

2шт.

25

219-1

LUBE NIPPLE,1/8" - 27 NPTF

FITTING - grease, straight, 1/8 inch PT x 21/32 inch (Replaces fitting 109461)

2шт.

26

1260511C1

TUBE

- rod end

1шт.

27

179228C1

END ASSY.

END - rod, right-hand

1шт.

28

225265R1

CLAMP

- rod end, right-hand

1шт.

413-840

BOLT,Hex, 1/2" - 13 x 2-1/2", Gr 5

- hex, 1/2 NC x 2-1/2 inch (Replaces bolt 180185)

1шт.

231-4118

LOCK NUT,1/2"-13, GB

NUT - hex, self-locking, 1/2 inch NC (Replaces nut 9413967)

1шт.

29

193371C1

END ASSY.

END - rod

1шт.

30

A43369

CLAMP

WASHER - end clamp, left-hand (Replaces washer 180586C1)

2шт.

328-648

BOLT,Hex, 3/8" - 24 x 3", Gr 8

(Replaces bolt 25779R1) Hex, 3/8"-24 x 3", G8

1шт.

425-1310

SLOTTED NUT,5/8"-18, G5

NUT - hex slotted, 5/8 inch NF (Replaces nut 125267)

2шт.

31

A41424

SEAL

- rod end (Replaces seal 382562R1)

2шт.

432-824

COTTER PIN,1/8" x 1 1/2"

PIN, SPLIT (COTTER), 1/8" x 1-1/2" (Replaces pin 137204)

2шт.

32

217401C91

BOLSTER

- guide wheel

1шт.

33

177751C1

BUSHING,101.7mm ID x 106.36mm OD x 38.1mm L

- guide wheel bolster

2шт.

34

219-87

LUBE NIPPLE,1/4" - 28 NPTF

NIPPLE, LUBE, (Replaces fitting 19588R91) 1/4"-28 x .56" lg, Self-Tap

1шт.

21441R1

BOLT,Hex, 3/4"-10 x 8 1/4", G8

- hex, 3/4 NC x 8-1/4 inch

4шт.

492-11075

LOCK WASHER,3/4"

(Replaces washer 131046) 3/4"

4шт.

329-1012

NUT,3/4"-10, G8

(Replaces nut 25529R1) 3/4"-10, G8

4шт.

35

1251277C1

PLATE

- cylinder mounting

1шт.

36

219-53

LUBE NIPPLE,65 Degree Elbow, 3/16" NPTF

FITTING - grease, 65 degree, 3/16 inch (Replaces fitting 273359)

2шт.

Выбрано товаров: 60