Запчасти Case IH 1400 (8-04) - HYDRAULIC CYLINDER, UNIT LIFT (07) - HYDRAULICS

Схема запчастей Case IH 1400 - (8-04) - HYDRAULIC CYLINDER, UNIT LIFT (07) - HYDRAULICS
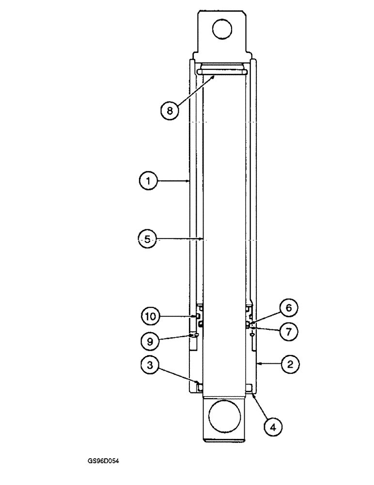
5
7
9
2
10
6
3
4
1
8
FIT
1:1
100%

Артикул

Название

Примечание

Количество

142417C93

CYLINDER ASSY.

CYLINDER ASSEMBLY - single acting, 1-1/2 (38) ID x 8 inch (203 mm) stroke (Replaces cylinder assembly 142417C91)

1шт.

1

NSS

NOT SOLD SEPARAT

BODY - cylinder, order cylinder assembly 142417C93

1шт.

2

57018C3

JACK HEAD

HEAD - cylinder front (Replaces cylinder heads 57019C1 and 57019C2)

1шт.

3

383770R1

WASHER

WASHER - seal

1шт.

4

383771R1

SEALING WASHER

WASHER - seal retainer

1шт.

5

142421C1

PISTON ROD

ROD - piston

1шт.

6

238-6222

O-RING,0.139" Thk x 1.484" ID, -222, Cl 6, 90 Duro

(Replaces O-ring 343909R1) -222, 90 Duro, 1.484" ID x .139" Thk

1шт.

7

388969R1

BACK-UP RING

WASHER - piston rod back-up

1шт.

8

376821R1

RING, SNAP

RING - snap, retaining

1шт.

9

388968R1

ELECTRICAL WIRE

KEY - retaining, 5-3/4 inch (146 mm) long

1шт.

10

238-6132

O-RING,0.103" Thk x 1.737" ID, -132, Cl 6, 90 Duro

(Replaces O-ring 391219R1) -132, 90 Duro, 1.737" ID x .103" Thk

1шт.

389270R91

KIT

- hydraulic cylinder service, no longer available, order components separately

1шт.

Выбрано товаров: 12