Запчасти Case IH 1400 (8-06) - HYDRAULIC STABILIZER (07) - HYDRAULICS

Схема запчастей Case IH 1400 - (8-06) - HYDRAULIC STABILIZER (07) - HYDRAULICS
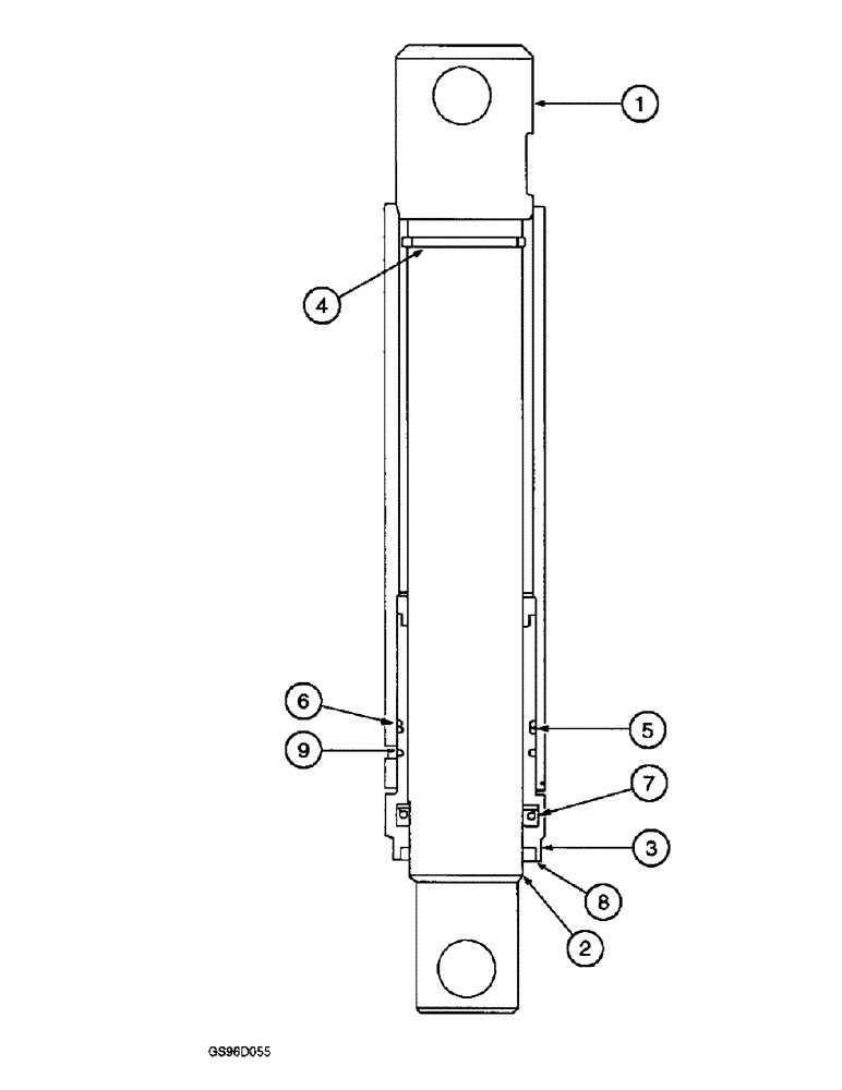
5
4
2
7
8
9
1
6
3
FIT
1:1
100%

Артикул

Название

Примечание

Количество

142602C91

CYLINDER

ASSEMBLY - 2 (51) ID x 6-1/2 inch (165 mm) stroke, hydraulic

1шт.

1

NSS

NOT SOLD SEPARAT

BODY - cylinder, order cylinder assembly 142602C91

1шт.

2

142605C1

ROD

- cylinder

1шт.

3

142686C1

HEAD

- cylinder

1шт.

4

59743C1

STOP - piston rod

1шт.

5

238-5140

O-RING,0.103" Thk x 2.237" ID, -140, Cl 5, 75 Duro

(Replaces O-ring 364306R1) -140, 90 Duro, 2.237" ID x .103" Thk

1шт.

6

59742C1

WASHER

- back-up

1шт.

7

119205C1

SEAL

- piston rod

1шт.

8

59741C1

WIPER SEAL

WIPER - rod

1шт.

9

59744C1

RING

- retaining, 7-1/2 inch (192 mm) long

1шт.

77898C91

KIT

- cylinder service

1шт.

Выбрано товаров: 11