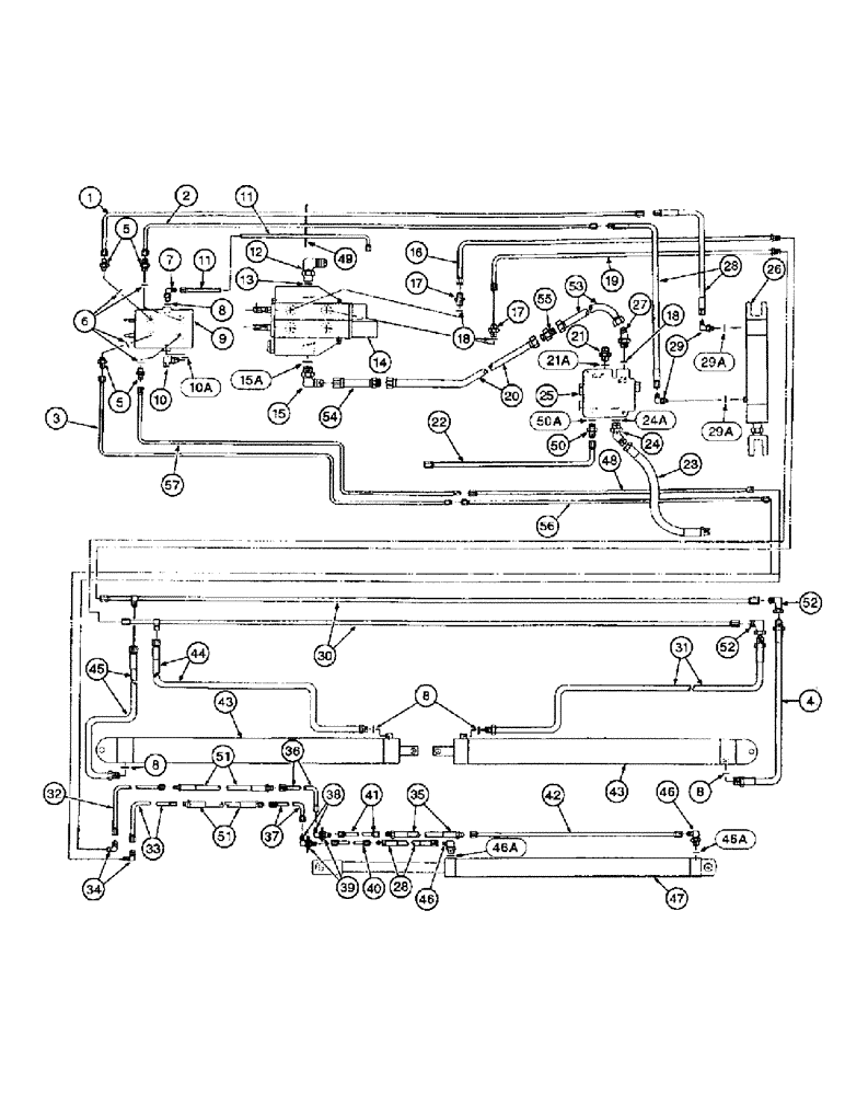
Запчасти Case IH 1400 (8-30) - VALVES AND CONNECTIONS (07) - HYDRAULICS

Схема запчастей Case IH 1400 - (8-30) - VALVES AND CONNECTIONS (07) - HYDRAULICS
11
40
10
18
24
35
2
36
17
42
51
8
29
45
29a
41
24a
4
5
8
16
46
43
14
46
1
21
9
48
38
46a
11
51
31
52
53
18
8
43
22
23
50
17
32
47
5
8
50a
27
28
55
49
33
39
19
12
29a
30
10a
37
46a
21a
25
3
13
56
26
54
7
20
52
44
15a
57
6
34
15
28
FIT
1:1
100%

Артикул

Название

Примечание

Количество

1

1260428C1

TUBE

- boll box cylinder, front

1шт.

2

1260429C1

TUBE

- boll box cylinder, rear

1шт.

3

1260431C1

TUBE

- compactor valve, front

2шт.

4

214992C1

HOSE

- basket rear, lower

1шт.

5

218-5057

HYD CONNECTOR,9/16" - 18 JIC x 9/16" - 18 ORB

ADAPTER - straight, 9/16-18 inch flare x O-ring boss (Replaces connector 9410202)

4шт.

7

218-5128

ELBOW,90° Elbow, 9/16" - 18 Male JIC x 3/4" - 16 Male ORB

- 90 degree, 9/16-18 flare x 3/4-16 inch adjustable O-ring boss (Replaces elbow 935036R91)

1шт.

8

237-6008

O-RING,0.087" Thk x 0.644" ID, -908, Cl 6, 90 Duro

8-1, 90 Duro, .644" ID x .087" Thk (Replaces 570828R1)

5шт.

9

145636C91

VALVE - basket distributor, no longer serviced, order kit 791193C91

1шт.

238-5114

O-RING,0.103" Thk x 0.612" ID, -114, Cl 5, 75 Duro

(Replaces O-ring 350429R1) -114, 70 Duro, .612" ID x .103" Thk

4шт.

413-428

BOLT,Hex, 1/4" - 20 x 1-3/4", Gr 5

- hex, 1/4 NC x 1-3/4 inch (Replaces bolt 180042)

3шт.

425-104

NUT,1/4"-20, Cl 5

- hex, 1/4 inch NC (Replaces nut 120375)

3шт.

492-11025

LOCK WASHER,1/4"

WASHER, LOCK, (Replaces washer 120380) 1/4"

3шт.

10

218-5106

90 ELBOW,90 Degree Elbow, 3/4" - 16 Male JIC x 3/4" - 16 Male ORB

- 90 degree, 3/4-16 inch flare x adjustable O-ring boss (Replaces elbow 9410977)

1шт.

10a

237-6008

O-RING,0.087" Thk x 0.644" ID, -908, Cl 6, 90 Duro

8-1, 90 Duro, .644" ID x .087" Thk

1шт.

11

222113C1

TUBE

- return line for distribution valve

1шт.

12

218-5124

ELBOW,90 Degree Elbow, 1-5/16" - 12 Male JIC x 1-1/16" - 12 Male ORB

- 90 degree, 1-5/16-12 flare x 1-1/16-12 inch adjustable O-ring boss (Replaces elbow 153619C91)

1шт.

13

237-6012

O-RING,0.116" Thk x 0.924" ID, -912, Cl 6, 90 Duro

12-1, 90 Duro, .924 ID x .116" Thk (Replaces 368269R1)

2шт.

14

137955C92

VALVE

ASSEMBLY - unit lift and basket, parts list page 8-23

1шт.

413-544

BOLT,Hex, 5/16" - 18 x 2-3/4", Gr 5

- hex, 5/16 NC x 2-3/4 inch (Replaces bolt 180112)

3шт.

425-105

NUT,5/16"-18, G5

- hex, 5/16 inch NC (Replaces nut 120376)

3шт.

492-11031

LOCK WASHER,5/16"

WASHER, LOCK, (Replaces washer 120214) 5/16"

3шт.

15

218-5108

ELBOW,90 Degree Elbow, 1-1/16" - 12 Male JIC x 1-1/16" - 12 Male ORB

90º, 1-1/16-12 inch flare x adjustable O-ring boss (Replaces elbow 9410979)

1шт.

15a

237-6012

O-RING,0.116" Thk x 0.924" ID, -912, Cl 6, 90 Duro

12-1, 90 Duro, .924 ID x .116" Thk

1шт.

16

1251179C1

TUBE

- basket raise

1шт.

17

218-5060

HYD CONNECTOR,3/4" - 16 Male JIC x 7/8" - 14 Male ORB

Adapter, straight, O-ring boss (Replaces connector 481352R1) 3/4"-16, 37º x 7/8"-14, O-Ring

2шт.

18

237-6010

O-RING,0.097" Thk x 0.755" ID, -910, Cl 6, 90 Duro

10-1, 90 Duro, .755" ID x .097" Thk (Replaces O-ring 364885R1)

2шт.

19

1251179C1

TUBE

- basket raise

1шт.

20

1260480C2

TUBE

- flow, Serial Range: divider-unit

1шт.

21

218-5059

HYD CONNECTOR,3/4"-16, 37 Degree x 3/4"-16, O-Ring

ADAPTER - straight, 3/4-16 inch flare x O-ring boss (Replaces connector 9410203)

1шт.

21a

237-6008

O-RING,0.087" Thk x 0.644" ID, -908, Cl 6, 90 Duro

8-1, 90 Duro, .644" ID x .087" Thk

1шт.

22

222111C2

HYD TUBE

TUBE - flow divider return

1шт.

23

222333C1

HYDRAULIC HOSE,19.00 mm ID x 1574.00 mm, SAE 100R1

Pump to Flow Divider 19.00 mm ID x 1574.00 mm, SAE 100R1

1шт.

24

218-5138

ELBOW,45 Degree Elbow, 1-1/16" - 12 Male JIC x 1-1/16" - 12 Male ORB

- 45 degree, 1-1/16-12 inch flare x adjustable O-ring boss

1шт.

24a

237-6008

O-RING,0.087" Thk x 0.644" ID, -908, Cl 6, 90 Duro

8-1, 90 Duro, .644" ID x .087" Thk

1шт.

25

128143C91

VALVE

ASSEMBLY - flow control, parts list page 8-37

1шт.

413-648

BOLT,Hex, 3/8" - 16 x 3", Gr 5

(Replaces bolt 18785R1) Hex, 3/8"-16 x 3", G5

2шт.

425-106

NUT,3/8"-16, Cl 5

(Replaces nut 120377) 3/8"-16, G5

2шт.

492-11038

LOCK WASHER,3/8"

(Replaces washer 120382) 3/8"

2шт.

542535R1

GASKET

WASHER - rubber

4шт.

495-81138

WASHER,10.31mm ID x 25.4mm OD x 4.93mm Thk

- flat, 13/32 x 1 x 11/64 inch (Replaces washer 22264R1)

2шт.

26

381818R94

CYLINDER ASSY.

CYLINDER ASSEMBLY - boll box, parts list page 8-25

1шт.

427-10161

CLEVIS PIN,15.88mm OD x 40.89mm L

PIN - clevis, 5/8 NC x 1-39/64 inch (Replaces pin 138087)

2шт.

432-816

COTTER PIN,1/8" x 1"

(Replaces pin 137185) 1/8" x 1"

2шт.

432-1216

COTTER PIN,3/16" x 1"

(Replaces pin 103407) 3/16" x 1"

4шт.

27

1260581C1

ELBOW

- flow control valve

1шт.

28

673581R1

HOSE

- distributor cylinder

1шт.

29

218-5105

ELBOW,90 Degree Elbow, 9/16" - 18 Male JIC x 9/16" - 18 Male ORB

- 90 degree, 9/16-18 inch flare x adjustable O-ring boss (Replaces elbow 9410976)

2шт.

30

215776C1

HYD TUBE

TUBE - basket cylinder

2шт.

31

1251221C1

HYDRAULIC HOSE

HOSE - basket rear, upper

1шт.

32

1260403C1

TUBE

- compactor pivot, Serial Range: inner-bottom

1шт.

33

1260402C1

TUBE

- compactor pivot, Serial Range: outer-top

1шт.

34

218-473

ELBOW,90 Degree Elbow, 9/16" - 18 Male JIC x 9/16" - 18 Male JIC

- 90 degree, 9/16-18 inch flare x flare (Replaces elbow 9402942)

2шт.

35

673578R1

HOSE

- compactor pivot

1шт.

36

1260400C1

TUBE

- compactor cylinder, rear

1шт.

37

1260401C1

TUBE

- compactor cylinder, front

1шт.

38

673578R1

HOSE

ELBOW - bulkhead tube

2шт.

39

218-1254

LOCK NUT,Blkhd, 9/16"-18

NUT - hex, lock, bulkhead, 9/16 inch NF (Replaces nut 9403293)

1шт.

40

215016C1

TUBE

-, Serial Range: bulkhead-cylinder

1шт.

41

215017C1

TUBE

-, Serial Range: bulkhead-cylinder

1шт.

42

673582R11

TUBE,0.375" OD, 17, 1.2" Length

- cylinder return

1шт.

43

145288C91

CYLINDER

ASSEMBLY - basket lift, parts list page 8-5B

1шт.

44

1251220C1

HYDRAULIC HOSE

HOSE - basket front, upper

1шт.

45

214990C1

HOSE

- basket front, lower

1шт.

46

218-5128

ELBOW,90° Elbow, 9/16" - 18 Male JIC x 3/4" - 16 Male ORB

- 90 degree, 9/16-18 flare x 3/4-16 inch adjustable O-ring boss (Replaces elbow 935036R91)

2шт.

46a

237-6008

O-RING,0.087" Thk x 0.644" ID, -908, Cl 6, 90 Duro

8-1, 90 Duro, .644" ID x .087" Thk

2шт.

47

1272487C91

CYLINDER

ASSEMBLY - hydraulic distributor, parts list page 8-7B

1шт.

23289R1

PIN - headed, 1 x 2-3/4 inch 1" x 2 3/4"

1шт.

439-11672

HEADED PIN,1" x 4 1/2"

PIN - headed, 1 x 4-1/2 inch (Replaces pin 22973R2)

1шт.

32-1620

COTTER PIN,1/4" x 1 1/4"

PIN, SPLIT (COTTER), (Replaces pin 103419) 1/4" x 1 1/4"

2шт.

48

1260699C1

TUBE - compactor rally strip top

1шт.

23289R1

PIN - headed, 1 x 2-3/4 inch 1" x 2 3/4"

1шт.

439-11672

HEADED PIN,1" x 4 1/2"

PIN - headed, 1 x 4-1/2 inch (Replaces pin 22973R2)

1шт.

32-1620

COTTER PIN,1/4" x 1 1/4"

PIN, SPLIT (COTTER), (Replaces pin 103419) 1/4" x 1 1/4"

2шт.

3118067R1

CLAMP

- tube

3шт.

49

222492C1

SUPPORT

- boll box line clip

1шт.

50

218-5351

HYD CONNECTOR,3/4"-16, 37 Degree x 9/16"-18, O-Ring

ADAPTER - straight, 3/4-16 flare x 9/16-18 inch O-ring boss (Replaces connector 324273R1)

1шт.

51

1251337C1

HOSE ASSY.

HOSE - basket distributor valve to hydraulic distributor cylinder

2шт.

52

218-5230

ELBOW,90 Degree, 3/4"-16, 37 Degree x 3/4"-16, 37 Degree Fem Sw

- 90 degree, 3/4-16 flare x swivel flare (Replaces elbow 9410281)

2шт.

53

1260582C1

HOSE,19.00 mm ID x 311.00 mm, SAE 100R1

- main flow divider 19.00 mm ID x 311.00 mm, SAE 100R1

1шт.

54

1260477C1

HOSE

- valve to supply line

1шт.

55

9403218

TUBE NUT,1 1/16"-12, 37 Degree

UNION - 3/4 inch flared tube

1шт.

56

1260698C1

TUBE

- basket distributor valve to hydraulic distributor cylinder

1шт.

57

1260430C1

TUBE

- compactor valve rear top

1шт.

79193C91

KIT

- valve service

1шт.

NSS

NOT SOLD SEPARAT

CAP - end, order kit 79193C91

1шт.

NSS

NOT SOLD SEPARAT

SPRING - return, order kit 79193C91

1шт.

NSS

NOT SOLD SEPARAT

SCREW - distributor valve, order kit 79193C91

1шт.

NSS

NOT SOLD SEPARAT

WASHER - distributor valve, order kit 79193C91

1шт.

NSS

NOT SOLD SEPARAT

SPACER - distributor valve, order kit 79193C91

1шт.

6

237-6006

O-RING,0.078" Thk x 0.468" ID, -906, Cl 6, 90 Duro

6-1, 90 Duro, .468" ID x .078" Thk (Replaces O-ring 364839R1)

4шт.

29a

237-6006

O-RING,0.078" Thk x 0.468" ID, -906, Cl 6, 90 Duro

6-1, 90 Duro, .468" ID x .078" Thk

2шт.

50a

237-6006

O-RING,0.078" Thk x 0.468" ID, -906, Cl 6, 90 Duro

6-1, 90 Duro, .468" ID x .078" Thk

1шт.

Выбрано товаров: 0