Запчасти Case IH 1800 (4-32) - WARNING LAMPS (06) - ELECTRICAL SYSTEMS

Схема запчастей Case IH 1800 - (4-32) - WARNING LAMPS (06) - ELECTRICAL SYSTEMS
12
2
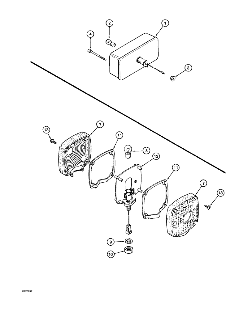
1
10
7
9
3
11
4
7
11
8
13
13
FIT
1:1
100%

Артикул

Название

Примечание

Количество

130882C91

LAMP

LAMP ASSEMBLY - warning

2шт.

1

130883C1

LENS

- amber

1шт.

2

A41264

BULB,#1156, 12V

Lamp (Replaces bulb 9417866) #1156, 12V

1шт.

3

231-51409

SERRATED NUT,Flg, USR, #10-24

4шт.

4

440-11036

SCREW,Cross Pan Hd, #10-24 x 2 1/4"

- machine, pan Phillips, No. 10 NC x 2-1/4 inch

4шт.

83885C91

LAMP

ASSEMBLY - warning, no longer available, order kit 192051A1 below SIDE

2шт.

7

537012R1

LENS

- amber SIDE

2шт.

8

A41264

BULB,#1156, 12V

Lamp (Replaces bulb 9417866), Side #1156, 12V

1шт.

9

80679

LOCK WASHER,1/20.507 CST ZND

WASHER, LOCK, , Side 1/2"

1шт.

10

425-108

NUT,1/2" - 13, Gr 5

NUT, , Hex, Side 1/2"-13, G5

1шт.

11

NSS

NOT SOLD SEPARAT

GASKET - lens, order lamp assembly 83885C91 SIDE

2шт.

12

NSS

NOT SOLD SEPARAT

BODY - lamp, order lamp assembly 83885C91 SIDE

1шт.

13

NSS

NOT SOLD SEPARAT

SCREW - slotted, No. 8 x 3/4 inch, order lamp assembly 83885C91 SIDE

8шт.

192051A1

SERVICE KIT

KIT - warning lamp, includes instructions SIDE

1шт.

A44201

LIGHT ASSY.

LAMP - warning SIDE

1шт.

377630C1

CONNECTOR, ELEC

CONNECTOR - warning lamp SIDE

1шт.

Выбрано товаров: 16