Запчасти Case IH 1800 (8-78) - BASKET DISTRIBUTOR CYLINDER (07) - HYDRAULICS

Схема запчастей Case IH 1800 - (8-78) - BASKET DISTRIBUTOR CYLINDER (07) - HYDRAULICS
15
9
13
8
4
2
14
11
12
1
16
5
3
10
6
FIT
1:1
100%

Артикул

Название

Примечание

Количество

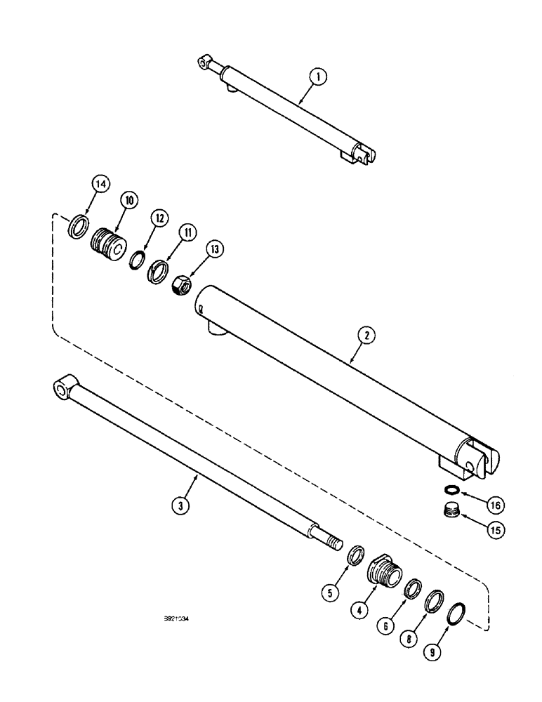
1

1343726C3

CYLINDER ASSY.,Double Acting, 25.3mm Rod, 501.3mm Stroke

CYLINDER ASSEMBLY - distributor (Replaces cylinder assembly 1343726C2)

1шт.

2

NSS

NOT SOLD SEPARAT

BODY - cylinder, order cylinder assembly 1343726C3

1шт.

3

1285720C1

ROD

- piston

1шт.

4

1343723C1

GLAND

- cylinder

1шт.

5

NSS

NOT SOLD SEPARAT

WIPER - piston rod seal

1шт.

See Figure Note.

1шт.

6

119185C1

SEAL,26.18mm ID x 32.17mm OD x 4.66mm Thk

- piston rod

1шт.

See Figure Note.

1шт.

8

NSS

NOT SOLD SEPARAT

RING - backup

1шт.

See Figure Note.

1шт.

9

NSS

NOT SOLD SEPARAT

O-RING - 1-5/16 x 1-1/2 inch wide

1шт.

See Figure Note.

1шт.

10

92608C1

PISTON

- cylinder

1шт.

11

NSS

NOT SOLD SEPARAT

RING - piston seal

1шт.

See Figure Note.

1шт.

12

NSS

NOT SOLD SEPARAT

O-RING - piston seal

1шт.

See Figure Note.

1шт.

13

232-46310

LOCK NUT,5/8"-11, GC

NUT, LOCK, (Replaces nut 9411658) 5/8"-11, GC

1шт.

14

NSS

NOT SOLD SEPARAT

SEAL - piston

1шт.

See Figure Note.

1шт.

15

71100209

PLUG,Hex Soc, 3/4"-16 ORB

Used with cylinder assembly 1343726C2 only Hex Soc, 3/4"-16 ORB

1шт.

16

237-6008

O-RING,0.087" Thk x 0.644" ID, -908, Cl 6, 90 Duro

8-1, 90 Duro, .644" ID x .087" Thk, Used with cylinder assembly 1343726C2 only

1шт.

See Figure Note.

1шт.

92611C3

SEAL KIT

KIT - seal

1шт.

See Figure Note.

1шт.

Выбрано товаров: 25