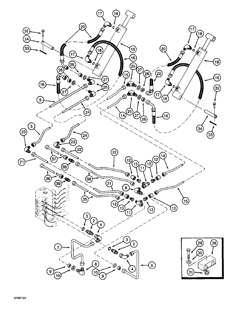
Запчасти Case IH 1800 (8-84) - BASKET DOOR CYLINDER SYSTEM (07) - HYDRAULICS

Схема запчастей Case IH 1800 - (8-84) - BASKET DOOR CYLINDER SYSTEM (07) - HYDRAULICS
25
5
4
31
5
21
17
10
24
25
8
15
12
18
20
34
13
13
32
10
39
12
20
3
11
30
6
38
7
2
26
26
34
15
14
25
35
22
27
18
16
20
11
16
39
27
16
13
3
21
26
9
27
23
37
29
16
8
14
18
2
33
18
33
17
17
17
4
9
26
23
28
24
19
36
12
22
27
13
12
19
32
FIT
1:1
100%

Артикул

Название

Примечание

Количество

REF

INSTRUCTION

VALVE ASSEMBLY - basket manifold, parts list page 8-75

1шт.

2

218-5059

HYD CONNECTOR,3/4"-16, 37 Degree x 3/4"-16, O-Ring

ADAPTER - straight, 3/4-16 inch flare x O-ring boss

2шт.

3

237-6008

O-RING,0.087" Thk x 0.644" ID, -908, Cl 6, 90 Duro

8-1, 90 Duro, .644" ID x .087" Thk

2шт.

4

218-5230

ELBOW,90 Degree, 3/4"-16, 37 Degree x 3/4"-16, 37 Degree Fem Sw

- 90 degree, 3/4-16 inch flare x swivel

2шт.

5

1285330C3

TUBE

- door open, rear

1шт.

6

1982337C3

HYD TUBE

TUBE - door close (Replaces tube 1982337C2)

1шт.

7

1982347C1

TUBE

- door open

1шт.

8

1285774C1

ELBOW

- 90 degree bulkhead, 1/2 tube 3/4-16 inch thread

2шт.

9

218-1255

BHD LOCK NUT,Blkhd, 3/4"-16

NUT, LOCK, Blkhd, 3/4"-16

2шт.

10

495-81042

WASHER,25/32" x 1 1/2" x .120"

- flat, 25/32 x 1-1/2 x 7/64 inch

2шт.

11

218-845

TEE,37 Degree, 3/4"-16 x 3/4"-16, Fem Sw Run

- 3/4-16 inch flare branch x flare x swivel

2шт.

12

218-344

TUBE NUT,37 Degree, 3/4"-16, Type B

NUT - hex, 3/4 inch NF

4шт.

13

218-792

REDUCER,37 Degree, 1/2" x 3/8" Tube

ADAPTER - reducing, 1/2 tube OD x 9/16-18 inch flare

4шт.

14

1285331C3

TUBE

- door close, front

1шт.

15

1285328C3

TUBE

- door open, front

1шт.

16

1285366C1

HOSE

- door close

2шт.

17

218-5128

ELBOW,90° Elbow, 9/16" - 18 Male JIC x 3/4" - 16 Male ORB

- 90 degree, 9/16-18 flare x 3/4-16 inch adjustable O-ring boss

4шт.

19

REF

INSTRUCTION

CYLINDER ASSEMBLY - basket door, parts list page 8-87

2шт.

20

1285395C1

HOSE

- door open

2шт.

21

1285329C3

TUBE

- door open right-hand, if used

1шт.

22

1285327C2

TUBE,0.375" OD, 3332.48, 162.56 mm Length

- door close right-hand, if used (Replaces tube 1285327C2)

1шт.

23

218-473

ELBOW,90 Degree Elbow, 9/16" - 18 Male JIC x 9/16" - 18 Male JIC

- 90 degree, 9/16-18 inch flare x flare

2шт.

24

1285332C3

TUBE

- door close, rear

1шт.

25

218-693

ELBOW,90 Degree Blkhd, 9/16"-18, 37 Degree x 9/16"-18, 37 Degree

- 90 degree, 9/16-18 inch flare x bulkhead flare

4шт.

26

218-1254

LOCK NUT,Blkhd, 9/16"-18

NUT - hex, lock, bulkhead, 9/16 inch NF

4шт.

27

396-21066

WASHER,16.66mm ID x 33.33mm OD x 4.27mm Thk

4шт.

28

183825C1

CLAMP

- tube, retaining

5шт.

30

496-21028

WASHER,.281" x 5/8" x .075", HDN

- flat, 9/32 x 5/8 x 5/64 inch, hardened

5шт.

31

231-5144

SERRATED NUT,Flg, USR, 1/4"-20

5шт.

32

439-1428

HEADED PIN,1/4" OD x 1-3/4" OAL, Gr 2

PIN - headed, 1/4 x 1-3/4 inch, grade 2

2шт.

33

432-816

COTTER PIN,1/8" x 1"

1/8" x 1"

2шт.

34

1260395C1

SHAFT

- pivot

1шт.

35

1994991C1

HYD TUBE,0.375" OD

TUBE - door open, right-hand, if used, used with items 36 and 39

1шт.

36

1994992C1

HYD TUBE,0.375" OD

TUBE - door close, right-hand, if used, used with items 35 and 39

1шт.

37

1994992C1

HYD TUBE,0.375" OD

TUBE - door close, right-hand, if used, used with items 38 and 39

1шт.

38

1994995C1

HYD TUBE

TUBE - door close, right-hand, if used, used with items 37 and 39

1шт.

39

218-734

UNION,9/16"-18, 37 Degree x 9/16"-18, 37 Degree

CONNECTOR - straight, 9/16-18 inch flare

2шт.

29

413-420

BOLT,Hex, 1/4" - 20 x 1-1/4", Gr 5

5шт.

18

237-6006

O-RING,0.078" Thk x 0.468" ID, -906, Cl 6, 90 Duro

6-1, 90 Duro, .468" ID x .078" Thk

1шт.

Выбрано товаров: 39