Качественные детали и логистика
Оригинальные и аналоговые запчасти с доставкой по России, Казахстану и Беларуси
©2022 PartSell ООО "Система" ИНН 2463123282 ОГРН 1212400004838
Центральный офис: г. Красноярск, Академика Киренского, д.87, пом.4
Телефон: 8 (800) 777-65-74 Email: zakaz@partsell.ru
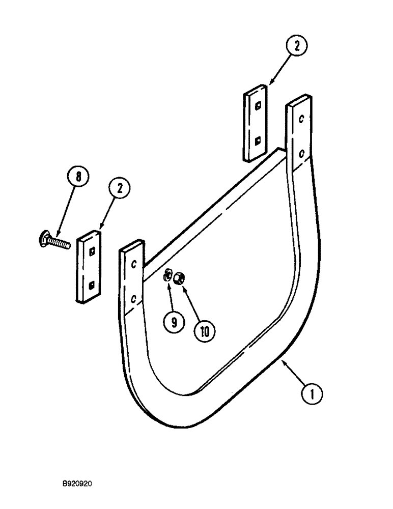
(9E-24) - TIRE AND MUD SHIELDS
№
Артикул
Название
Примечание
Количество
1
1266379C3
GUARD
SHIELD - mud, left-hand
1шт.
1266380C3
SHIELD - mud, right-hand
2
215520C2
LARGE PLATE
BAR - mud blade
4шт.
8
413-864
BOLT,Hex, 1/2" - 13 x 4", Gr 5
- hex, 1/2 NC x 4 inch
8шт.
9
80679
LOCK WASHER,1/20.507 CST ZND
WASHER, LOCK, 1/2"
10
425-108
NUT,1/2" - 13, Gr 5
NUT, , Hex 1/2"-13, G5
Выбрано товаров: 0