Запчасти Case IH 1800 (9B-06) - FAN PULLEY GUARDS, USED WITH 8 INCH DIAMETER IDLER PULLEY (15) - HANDLING SYSTEM

Схема запчастей Case IH 1800 - (9B-06) - FAN PULLEY GUARDS, USED WITH 8 INCH DIAMETER IDLER PULLEY (15) - HANDLING SYSTEM
10
2
1
6
5
7
10
8
12
3
12
5
9
4
FIT
1:1
100%

Артикул

Название

Примечание

Количество

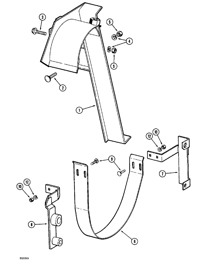
1

1329224C3

GUARD

- fan pulley

1шт.

2

434-512

CARRIAGE BOLT,Sht Sq Nk, 5/16" - 18 x 3/4", Gr 5

BOLT - carriage, 5/16 NC x 3/4 inch

4шт.

3

409-7520

BOLT,Hex Flg, 5/16" - 18 x 1 1/4", Spcl

- hex serrated flange, 5/16 NC x 1-1/4 inch

1шт.

4

492-11031

LOCK WASHER,5/16"

WASHER, LOCK, 5/16"

5шт.

5

425-105

NUT,5/16"-18, G5

- hex, 5/16 inch NC

5шт.

6

1338649C3

GUIDE

GUARD - fan pulley

1шт.

7

1338647C1

SUPPORT

BRACKET - guard, right-hand

1шт.

8

1285481C6

SUPPORT

BRACKET - guard, left-hand (Replaces bracket 1285481C5)

1шт.

9

434-412

CARRIAGE BOLT,Sht Sq Nk, 1/4" - 20 x 3/4", Gr 5

BOLT - carriage, 1/4 NC x 3/4 inch

4шт.

10

425-104

NUT,1/4"-20, Cl 5

- hex, 1/4 inch NC

4шт.

12

492-11025

LOCK WASHER,1/4"

WASHER, LOCK, 1/4"

4шт.

Выбрано товаров: 11