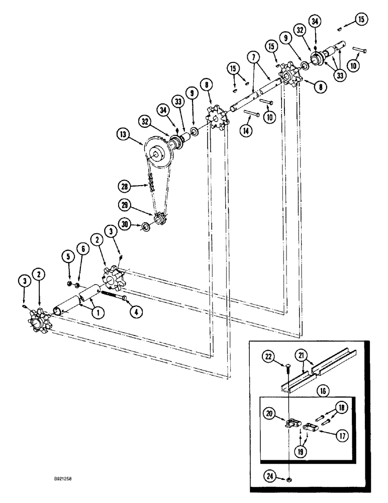
Запчасти Case IH 1800 (9B-26) - UNLOADING CONVEYOR AND DRIVE (15) - HANDLING SYSTEM

Схема запчастей Case IH 1800 - (9B-26) - UNLOADING CONVEYOR AND DRIVE (15) - HANDLING SYSTEM
14
24
9
3
20
2
19
15
30
17
10
9
7
3
4
33
18
8
5
15
1
22
10
6
28
21
33
32
2
34
13
29
8
32
16
15
34
FIT
1:1
100%

Артикул

Название

Примечание

Количество

1

1260354C2

TUBE,48.26 mm OD, 1628 mm Length

PIPE - idler adjustment (Replaces pipe 1260354C1)

2шт.

2

1270109C1

SPROCKET ASSY.

SPROCKET - idler, 7 tooth

4шт.

3

219-87

LUBE NIPPLE,1/4" - 28 NPTF

NIPPLE, LUBE, 1/4"-28 x .56" lg, Self-Tap

4шт.

4

1262728C2

BOLT,Hex, 3/8" x 6"

BOLT - idler take-up (Replaces bolt 1262728C1)

4шт.

5

425-146

JAM NUT,3/8" - 16, Gr 5

- hex jam, 3/8 inch NC

4шт.

6

425-106

NUT,3/8"-16, Cl 5

4шт.

7

1260366C2

SHAFT

- conveyor drive (Replaces shaft 1260366C1)

1шт.

8

1269910C1

DRIVE SPROCKET

SPROCKET - drive, 7 tooth

4шт.

9

495-81213

WASHER,35.71mm ID x 50.8mm OD x 1.7mm Thk

- flat, 1-13/32 x 2 x 3/64 inch

8шт.

10

617942R1

PIN,7.92mm OD x 57.15mm L, Coiled

headed (replaces pin 441015R1) 5/16" x 2 1/4", Coiled

4шт.

13

1260365C3

PINION

SPROCKET - drive, 12 tooth (Replaces sprocket 1260365C2)

1шт.

14

38-12048

LOCK PIN,5/16" x 3", Slotted

Pin, (replaces pin 455184R1) 5/16" x 3", Slotted

1шт.

15

117997

WOODRUFF KEY,#25, 5/16" x 1 1/2", HT

5шт.

16

1263072C93

CHAIN (AG)

CHAIN ASSEMBLY - conveyor, 1/2 length (Replaces chain assembly 1263072C92)(See Note)

8шт.

See Figure Note.

1шт.

16

127910A1

CHAIN (AG),80 Links x 58.75mm = 4700mm

CHAIN ASSEMBLY - conveyor, 1/2 length (See Note)

8шт.

See Figure Note.

1шт.

17

821017C2

LINK,Chain

LINK ASSEMBLY - conveyor chain (Replaces link assembly 821017C1)

1шт.

18

821369C1

PIN,7.79mm OD x 47.93mm L

- connecting

1шт.

19

432-88

COTTER PIN,1/8" x 1/2"

PIN, SPLIT (COTTER), 1/8" x 1/2"

1шт.

20

821016C1

LINK,Chain

LINK - attaching

1шт.

21

1263020C1

CONDUIT

CHANNEL - conveyor slat

40шт.

22

413-516

BOLT,Hex, 5/16" - 18 x 1", Gr 5

- hex, 5/16 NC x 1 inch

80шт.

24

231-1435

LOCK NUT,5/16"-18, GB

NUT - hex, self-locking, 5/16 inch NC

80шт.

28

141492A1

CHAIN (CE)

CHAIN - conveyor drive (See Note)

1шт.

See Figure Note.

1шт.

29

1260364C1

SPROCKET ASSY.

SPROCKET - drive, 10 teeth

1шт.

30

495-81070

WASHER,1 1/32" x 1 1/2" x .120"

- flat, 1-1/32 x 1-1/2 x 7/64 inch

1шт.

32

1278954C91

BEARING ASSY

ASSEMBLY - drive shaft

4шт.

33

1278956C1

BUSHING,34.95mm ID x 39.7mm OD x 63.75mm L

- bearing

1шт.

34

219-87

LUBE NIPPLE,1/4" - 28 NPTF

NIPPLE, LUBE, 1/4"-28 x .56" lg, Self-Tap

4шт.

Выбрано товаров: 31