Запчасти Case IH 1800 (9C-16) - BASKET DOOR (16) - BASKET

Схема запчастей Case IH 1800 - (9C-16) - BASKET DOOR (16) - BASKET
19
2
7
24
6
9
27
4
8
40
35
5
17
10
18
15
1
16
3
33
15
26
29
2
3
20
16
17
10
23
30
45
4
1
28
9
34
FIT
1:1
100%

Артикул

Название

Примечание

Количество

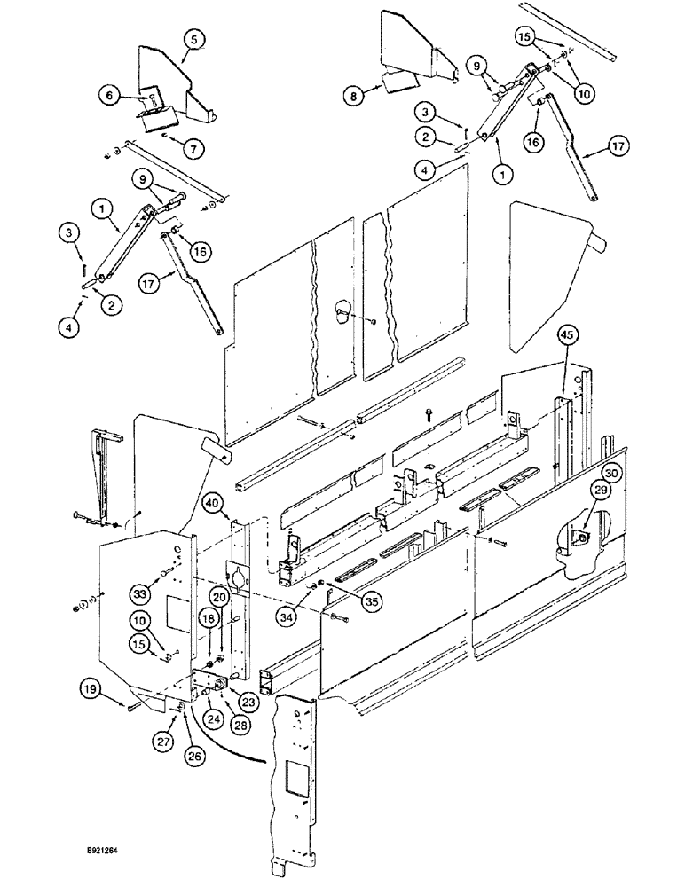
1

1260385C2

ARM

- basket door, amplifier

2шт.

2

1260395C1

SHAFT

- pivot

2шт.

3

439-1428

HEADED PIN,1/4" OD x 1-3/4" OAL, Gr 2

PIN - headed, 1/4 x 1-3/4 inch, grade 2

2шт.

4

32-812

COTTER PIN,1/8" x 3/4"

PIN, SPLIT (COTTER), 1/8" x 3/4"

2шт.

5

87256C2

GUIDE

- basket door, front

1шт.

6

413-616

BOLT,Hex, 3/8" - 16 x 1", Gr 5

- hex, 3/8 NC x 1 inch

4шт.

7

231-5146

FLANGE NUT,3/8"-16

6шт.

8

87257C2

GUIDE

- rear, basket door

1шт.

9

1260383C1

SHAFT

- amplifier link

4шт.

10

495-11106

WASHER,1", SAE

- flat, 1-1/16 x 2 x 1/8 inch

6шт.

15

432-1228

COTTER PIN,3/16" x 1 3/4"

3/16" x 1 3/4"

6шт.

16

607783R1

SPACER,1" Pipe x 1850"

- 1 x 1-27/32 inch

4шт.

17

1260388C1

BAR

- amplifier link

2шт.

18

80679

LOCK WASHER,1/20.507 CST ZND

WASHER, LOCK, 1/2"

4шт.

19

413-824

BOLT,Hex, 1/2" - 13 x 1-1/2", Gr 5

12шт.

20

425-108

NUT,1/2" - 13, Gr 5

NUT, , Hex 1/2"-13, G5

4шт.

23

1270277C1

PIVOT

ASSEMBLY - door front

1шт.

24

458900R1

SPACER

BUSHING - split steel back

1шт.

26

495-81205

WASHER,32.54mm ID x 50.8mm OD x 1.7mm Thk

- flat, 1-9/32 x 2 x 3/64 inch

2шт.

27

432-1632

COTTER PIN,1/4" x 2"

Pin, Split (Cotter), 1/4" x 2"

2шт.

28

219-53

LUBE NIPPLE,65 Degree Elbow, 3/16" NPTF

FITTING - grease, 65 degree, 3/16 drive type x 23/32 inch (Replaces fitting 273359)

2шт.

29

1270278C1

PIVOT

ASSEMBLY - door rear

1шт.

30

458900R1

SPACER

BUSHING - split steel back

1шт.

33

413-616

BOLT,Hex, 3/8" - 16 x 1", Gr 5

- hex, 3/8 NC x 1 inch

20шт.

34

492-11038

LOCK WASHER,3/8"

24шт.

35

425-106

NUT,3/8"-16, Cl 5

24шт.

40

1270172C4

CONDUIT

CHANNEL - front door (Replaces channel 1270172C3)

1шт.

45

1270173C3

CONDUIT

CHANNEL - rear door (Replaces channel 1270173C2)

1шт.

Выбрано товаров: 28