Запчасти Case IH 95 (08-01) - ELECTRICAL, WIRING DIAGRAM, SERIAL NUMBER 1012 AND ABOVE (06) - ELECTRICAL

Схема запчастей Case IH 95 - (08-01) - ELECTRICAL, WIRING DIAGRAM, SERIAL NUMBER 1012 AND ABOVE (06) - ELECTRICAL
18
43
3
9
45
31
42
1
45
6
57
53
15
2
29
53
32
43
38
23
63
10
1
20
68
44
35
44
8
5
14
19
7
5
64
52
36
47
34
54
31
4
58
43
59
5
13
30
60
25
49
39
65
12
44
28
39
5
41
22
66
49
16
26
11
33
56
37
27
17
29
21
67
32
61
51
5
3
53
33
38
1
45
2
55
40
3
46
2
24
1
48
53
62
50
FIT
1:1
100%

Артикул

Название

Примечание

Количество

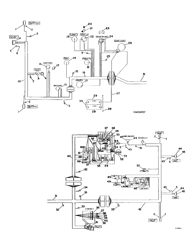
1

67538C92

HEADLIGHT

LIGHT ASSY, round flasher warning, Only serviceable item is lamp 9417866

4шт.

120371

NUT,1/2"-20, G5

4шт.

138549

LOCK WASHER,Int Tooth, 1/2"

WASHER, LOCK, Int Tooth, 1/2"

4шт.

2

394262R1

WASHER

flasher light

4шт.

3

362120R1

CLAMP,9.53mm ID, 10.32mm Bolt Hole, P Type

CLIP, cable harness

12шт.

180122

BOLT,Hex, 3/8" - 16 x 1", Gr 5

3/8 x 1 type 5

2шт.

482256R1

BEARING LOCK NUT,Flg, USR, 3/8"-16

3/8 flange lock

2шт.

180077

BOLT,Hex, 5/16" - 18 x 3/4", Gr 5

5/16 x 3/4 type 5

2шт.

120393

BEARING WASHER,5/16", SAE

WASHER, .344 x .688 x .051

2шт.

938017R1

FLANGE NUT,Flg, USR, 5/16"-18

5/16 flange lock

2шт.

4

387729R92

LIGHT ASSY.

LIGHT ASSY, combination rear and tail, Only serviceable items are lamp, 455490, sealed beam unit, 371461R91 and rubber retainer, 676078R1

1шт.

120378

NUT,Hex, 1/2" - 13, Gr 5

NUT, 1/2"-13, G5

1шт.

120384

WASHER,1/2"

LOCK, 1/2"

1шт.

5

49069D

SPACER

headlight and tail light

4шт.

6

561915R1

BRACKET

tail light mounting

1шт.

9635884

BOLT,Hex, 5/16" - 18 1", Full Thd, Gr 5

5/16 x 1 type 5

1шт.

938017R1

FLANGE NUT,Flg, USR, 5/16"-18

5/16 flange lock

1шт.

7

362121R1

CLIP

cable harness

1шт.

8

203850C1

KIT

UNIT ASSY, full level sending

1шт.

436732

SCREW,Slotted Pan Hd, #10-24 x 1/2"

no. 10 x 1/2 znp p/hds mach

5шт.

9

369154R1

GASKET

sending unit

1шт.

10

217486C1

HARNESS ASSY, rear

1шт.

11

3224405R1

SWITCH

ASSY, air filter

1шт.

12

105412

ELBOW,90 Degree, 1/8" NPT

1/8 x 90 deg pipe

1шт.

13

SOLENOID ASSY, ether injection, Refer to fuel system, group 12

1шт.

14

677163R91

TEMPERATURE SENDER

SENDER, coolant

1шт.

15

363444R1

CLAMP,J, 9/16" Insul, 3/8" Bolt

CLIP, cable harness

5шт.

179833

BOLT,Hex, 3/8" - 16 x 1/2", Gr 5, Full Thd

Water pump adjusting brace Hex, 3/8"-16 x 1/2", G5, Full Thd

1шт.

95-11041

WASHER,3/8"

.406 x .812 x .051 pln, water pump adjusting brace

1шт.

88574

BOLT,Hex, 5/16" - 18 x 1/2", Gr 5, Full Thd

alternator adjusting brace Hex, 5/16"-18 x 1/2", G5, Full Thd

1шт.

120376

NUT,5/16"-18, G5

Alternator adjusting brace 5/16"-18, G5

1шт.

16

121966C1

HARNESS ASSY, engine

1шт.

17

ALTERNATOR GENERATOR ASSY, Refer to alternator generator and connections

1шт.

18

107488C1

SWITCH

coolant hi-temp

1шт.

19

201457C1

GAUGE ASSY.

SENDER, oil pressure gauge

1шт.

20

444024

REDUCER,1/4"-18 NPTF x 1/8"-27 Fem NPTF

BUSHING, 1/4-18 auto. pipe reducer

2шт.

21

9409931

ELBOW,90 Degree, 1/8"-28 NPTF, Fem x 1/8"-27 NPTF Male

1/8-27 auto. 90 deg pipe street

1шт.

22

121817C1

SWITCH

low oil pressure light and hourmeter

1шт.

23

60620C2

SUPPORT, magnetic switch

1шт.

24

121613C1

IGNITION SWITCH

SWITCH, magnetic cranking motor

1шт.

120217

LOCK WASHER,#10

WASHER, LOCK, #10

1шт.

120614

NUT,Hex, #10 - 32

NUT, #10-32

1шт.

413-412

BOLT,Hex, 1/4" - 20 x 3/4", Gr 5

2шт.

492-11025

LOCK WASHER,1/4"

WASHER, LOCK, 1/4"

2шт.

120375

NUT,Hex, 1/4" - 20, Gr 5

2шт.

25

363660R1

CLIP

harness, twisted

1шт.

26

MOTOR ASSY, cranking, Refer to cranking motor

1шт.

27

212327C1

CABLE ASSY, Serial Range: battery-starter

1шт.

28

217057C1

CABLE ASSY, battery ground

1шт.

29

392247R91

BATTERY, Prestolite 1323X, 6 volt

2шт.

30

259171R91

CABLE

ASSY, Serial Range: battery-battery

1шт.

31

217488C1

HARNESS ASSY, center electrical

1шт.

32

362666R1

CLIP

cable harness

9шт.

9635884

BOLT,Hex, 5/16" - 18 1", Full Thd, Gr 5

5/16 x 1 type 5

3шт.

938017R1

FLANGE NUT,Flg, USR, 5/16"-18

5/16 flange lock

3шт.

180122

BOLT,Hex, 3/8" - 16 x 1", Gr 5

3/8 x 1 type 5

2шт.

482256R1

BEARING LOCK NUT,Flg, USR, 3/8"-16

3/8 flange lock

2шт.

33

670043C1

CLIP

cable harness

11шт.

34

370384R1

CLIP

cable harness

1шт.

180122

BOLT,Hex, 3/8" - 16 x 1", Gr 5

3/8 x 1 type 5

1шт.

938016R1

FLANGE NUT,Flg, USR, 1/4"-20

1/4 flange lock

1шт.

35

363660R1

CLIP

electrical cable harness

1шт.

36

196875C1

BLOCK

fuse panel

1шт.

436733

BOLT

SCREW, no. 10 x 5/8 znp p/hds mach

2шт.

120217

LOCK WASHER,#10

WASHER, LOCK, #10

2шт.

120361

NUT,Hex Mach Screw, #10 - 24

2шт.

37

9426331

FUSE CARTRIDGE,30 Amp, Type 3AG

FUSE, cartridge type AGC-30, light green

1шт.

38

9428126

FUSE,20 Amp, Type SFE

cartridge type SFE-20, yellow

2шт.

39

9426334

FUSE,10 Amp, Type 3AG

cartridge type AGC-10 red

2шт.

40

3118918R1

FUSE

cartridge type AGC-5

1шт.

41

107655C1

SOLENOID SWITCH

SWITCH ASSY, magnetic console

1шт.

120217

LOCK WASHER,#10

WASHER, LOCK, #10

1шт.

120614

NUT,Hex, #10 - 32

NUT, #10-32

1шт.

937059R1

SCREW,Serr, M10 x 70mm, Cl 10.9

1/4-20 x 1/2 slt-truss-hd

2шт.

938016R1

FLANGE NUT,Flg, USR, 1/4"-20

1/4 flange lock

2шт.

120376

NUT,5/16"-18, G5

2шт.

80681

LOCK WASHER,5/16"

WASHER, LOCK, 5/16"

2шт.

42

217489C1

HARNESS ASSY, main front cable

1шт.

43

350920R1

CLAMP

headlight

3шт.

44

391005R91

HEADLIGHT

LIGHT ASSY, 12 volt work flood, Only serviceable items are

3шт.

530029R91

CONNECTOR, ELEC

CONNECTOR

1шт.

676078R1

RETAINER

rubber

1шт.

373662R91

LAMP

SEALED BEAM UNIT

1шт.

487374R1

BEARING LOCK NUT,Flg, USR, 1/2"-13

1/2 flange lock

3шт.

45

373662R91

LAMP

UNIT ASSY, sealed beam

3шт.

46

107200C2

LIGHT SWITCH

SWITCH ASSY, light

1шт.

57312D

NUT, light switch

1шт.

141706

WASHER

11/16 int pln lock

1шт.

47

121628C1

BUZZER

ALARM, electronic audible

1шт.

48

107334C91

SWITCH

ASSY, turn signal

1шт.

49

121684C91

LIGHT ASSY.

LIGHT, flasher indicator

2шт.

50

121629C1

IGNITION SWITCH

SWITCH ASSY, neutral starting

1шт.

51

589980R2

CLIP

cable harness

2шт.

52

SPEEDOMETER, Serial Range: Refer-speedometer

1шт.

53

A14553

BULB

no. 57 light

4шт.

54

217707C1

INDICATOR, light, temperature

1шт.

55

217708C1

INDICATOR, light, air

1шт.

56

217706C1

INDICATOR, light, oil

1шт.

57

397940R93

SWITCH

ether start

1шт.

436750

SCREW,Slotted Pan Hd, #10-32 x 1/2"

no. 10-NF x 1/2 znp p/hds mach

2шт.

120217

LOCK WASHER,#10

WASHER, LOCK, #10

2шт.

120611

NUT,#10 - 32

no. 10-32 sq

2шт.

58

107682C1

SWITCH

ASSY, ignition

1шт.

365502R1

NUT

13/16-20 hex

2шт.

NLS

NO LONGER SERVICED

LOCK, Int Tooth, 13/16"

1шт.

59

131313C1

KEY, IGNITION

switch

1шт.

60

217490C1

HARNESS ASSY, console electrical

1шт.

61

217926C1

RECTIFIER ASSY

1шт.

274957

GIFTS, VACUUM FLASK

no. 10 x 3/4 znp h/hd mach

2шт.

120217

LOCK WASHER,#10

WASHER, LOCK, #10

2шт.

120361

NUT,Hex Mach Screw, #10 - 24

4шт.

62

201456C1

OIL PRESSURE GAUGE

GAUGE ASSY, oil pressure

1шт.

63

673278R1

GAUGE

ASSY, water temperature

1шт.

64

219622C1

CABLE ASSY, instrument light

1шт.

65

389985R92

METER

GAUGE ASSY, hourmeter

1шт.

66

674390R1

GAUGE

ASSY, fuel

1шт.

67

178914C1

VOLTMETER

1шт.

68

23713R1

BULB,C2F, #1889, 14V

no. 1889 light

1шт.

Выбрано товаров: 118