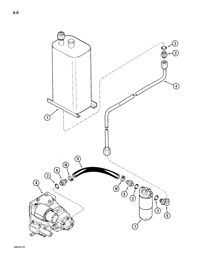
Запчасти Case IH 1822 (8-06) - HYDRAULIC RESERVOIR TO HYDROSTATIC PUMP SYSTEM, 1822 COTTON PICKER (07) - HYDRAULICS

Схема запчастей Case IH 1822 - (8-06) - HYDRAULIC RESERVOIR TO HYDROSTATIC PUMP SYSTEM, 1822 COTTON PICKER (07) - HYDRAULICS
10
10
6
6
4
5
2
7
1
3
2
11
2
8
2
FIT
1:1
100%

Артикул

Название

Примечание

Количество

1

REF

INSTRUCTION

RESERVOIR ASSEMBLY - hydraulic (See Page 8-3)

1шт.

2

237-6016

O-RING,0.116" Thk x 1.171" ID, -916, Cl 6, 90 Duro

- 1-11/64 ID x 7/64 inch wide

4шт.

3

9410207

HYD CONNECTOR,1 5/16"-12, 37 Degree x 1 5/16"-12, O-Ring

CONNECTOR - short swivel, 1 inch OD tube

1шт.

4

1285465C2

TUBE,1" OD, 935.5,629.1 mm Length

ASSEMBLY - filter supply

1шт.

5

9410981

ELBOW,90 Degree, 1 5/16"-12, 37 Degree x 1 5/16"-12, O-Ring

- 90 degree adjustable, 1 inch OD tube

1шт.

6

180182C1

FITTING

CONNECTOR - beaded tube, 1-5/16-12 x 1 inch

2шт.

7

REF

INSTRUCTION

FILTER ASSEMBLY - hydraulic suction (See Page 8-11)

1шт.

8

REF

INSTRUCTION

PUMP ASSEMBLY - hydrostatic (See Page 6-21 and 6-27)

1шт.

10

311164C91

HOSE CLAMP,#20, 0.81/1.75 Type F Worm

CLAMP - hose, No. 20, Type F

2шт.

11

1285373C1

HOSE,25.40 mm ID x 464.00, SAE 100R4

25.40 mm ID x 464.00 mm, SAE 100R4, Suction

1шт.

Выбрано товаров: 10