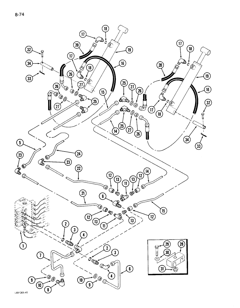
Запчасти Case IH 1822 (8-74) - BASKET DOOR CYLINDER SYSTEM (07) - HYDRAULICS

Схема запчастей Case IH 1822 - (8-74) - BASKET DOOR CYLINDER SYSTEM (07) - HYDRAULICS
34
14
31
13
13
16
15
33
3
23
21
27
10
6
9
24
7
8
26
2
4
3
9
17
17
10
26
20
11
30
33
4
18
8
32
2
18
1
18
25
25
1
22
27
12
25
13
15
26
15
12
19
18
23
20
27
5
19
28
34
12
29
17
27
14
32
26
FIT
1:1
100%

Артикул

Название

Примечание

Количество

1

REF

INSTRUCTION

VALVE ASSEMBLY - basket manifold (See Page 8-65)

1шт.

2

570828R1

O-RING,0.087" Thk x 0.644" ID, -908, Cl 6, 90 Duro

- 1/2 inch OD tube

2шт.

3

9410203

HYD CONNECTOR,3/4"-16, 37 Degree x 3/4"-16, O-Ring

CONNECTOR - short swivel, 1/2 inch

2шт.

4

9410281

ELBOW,90 Degree, 3/4"-16, 37 Degree x 3/4"-16, 37 Degree Fem Sw

- 90 degree swivel, 1/2 inch thread

2шт.

5

1285468C1

TUBE,0.375" OD, 2171.7, 71.12 mm Length

ASSEMBLY - door open rear (1822 only)

1шт.

5

1285330C3

TUBE

ASSEMBLY - door open rerq (1844 only)

1шт.

6

1982337C2

TUBE

- door close

1шт.

7

1982347C1

TUBE

- door open

1шт.

8

1285774C1

ELBOW

- 90 degree bulkhead, 1/2 tube 3/4-16 inch thread

2шт.

9

9403294

NUT

- bulkhead union lock, 1/2 inch

2шт.

10

467750R1

WASHER

- flat, 25/32 x 1-1/2 x7/65 inch

2шт.

11

9410333

TEE,37 Degree, 3/4"-16 x 3/4"-16, Fem Sw Run

- swivel, 1/2 inch

2шт.

12

9403528

TUBE NUT,37 Degree, 3/4"-16, Type B

NUT - tube, Style B, 1/2 inch

4шт.

13

9403400

REDUCER,37 Degree, 1/2" x 3/8" Tube

FITTING - reducer, 1/2 x 3/8 inch

4шт.

14

1285467C1

TUBE

ASSEMBLY - door close front (1822 only)

1шт.

14

1285331C3

TUBE

ASSEMBLY - door close front (1844 only)

1шт.

15

1285469C1

TUBE

ASSEMBLY - door open front (1822 only)

1шт.

15

1285328C3

TUBE

ASSEMBLY - door open front (1844 only)

1шт.

16

1285366C1

HOSE

- door close

2шт.

17

935036R91

ELBOW

- 90 degree adjustable, 1/2 to 3/8 inch thread

4шт.

18

364839R1

O-RING,0.078" Thk x 0.468" ID, -906, Cl 6, 90 Duro

6-1, 90 Duro, .468" ID x .078" Thk, 3/8 OD tube

4шт.

19

REF

INSTRUCTION

CYLINDER ASSEMBLY - basket door (See Page 8-75)

2шт.

20

1285395C1

HOSE

- door open

2шт.

21

1285329C3

TUBE

ASSEMBLY - door open right

1шт.

22

1285327C1

TUBE

ASSEMBLY - door close right

1шт.

23

9402942

ELBOW,90 Degree, 9/16"-18, 37 Degree x 9/16"-18, 37 Degree

UNION - 90 degree elbow, 3/8 inch thread

2шт.

24

1285466C1

TUBE,0.375" OD, 2171.7, 66.04 mm Length

ASSEMBLY - door close rear (1822 only)

1шт.

24

1285332C3

TUBE

ASSEMBLY - door close rear (1844 only)

1шт.

25

671943R1

ELBOW

- 90 degree bulkhead, 9/16-18 inch thread

4шт.

26

9403293

LOCK NUT,Blkhd, 9/16"-18

NUT - bulkhead union lock, 3/8 inch

4шт.

27

NLS

NO LONGER SERVICED

- flat, 21/32 x 1-5/16 x 5/64 inch

4шт.

28

183825C1

CLAMP

- tube - retaining

5шт.

29

113-17

BOLT,Hex, 1/4" - 20 x 1-1/4", Gr 5

- hex, 1/4 NC x 1-1/2 inch

5шт.

30

25707R1

WASHER,.281" x 5/8" x .075", HDN

- flat, 9/32 x 5/8 x 3/64 inch

5шт.

31

938016R1

FLANGE NUT,Flg, USR, 1/4"-20

- hex flange, 1/4 inch NC

5шт.

32

21242R1

HEADED PIN

PIN - headed, 1/4 x 1-3/4 inch

2шт.

33

648002

KNIFE

PIN SPLIT (COTTER), 1/8" x 3/4"

2шт.

34

1260395C1

SHAFT

- pivot

1шт.

Выбрано товаров: 38