Запчасти Case IH 1822 (9E-24) - FUEL TANK SHIELDS (12) - CHASSIS

Схема запчастей Case IH 1822 - (9E-24) - FUEL TANK SHIELDS (12) - CHASSIS
8
8
7
9
6
7
10
7
7
4
10
9
9
8
8
1
7
9
5
2
3
6
8
9
6
FIT
1:1
100%

Артикул

Название

Примечание

Количество

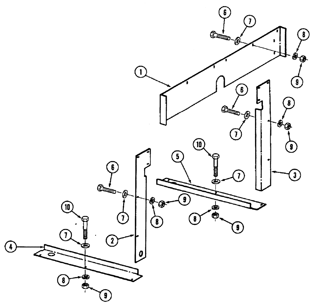
1

1278728C1

COVER

- fuel tank upper

1шт.

2

1278729C1

COVER

- fuel tank side, left

1шт.

3

1278730C1

COVER

- fuel tank side, right

1шт.

4

1278522C1

SHEET

FILLER - fuel tank end, left

1шт.

5

1285410C3

SUPPORT

FILLER - fuel tank end, right

1шт.

6

113-103

BOLT,Hex, 5/16" - 18 x 1", Gr 5

- hex, 5/16 NC x 3/4 inch

10шт.

7

28588R1

WASHER

- flat, 11/32 x 11/16 x 3/64 inch

26шт.

8

192-20

LOCK WASHER,Helical Spring, 0.318" ID, CST, ZND

WASHER, LOCK, 5/16"

16шт.

9

120376

NUT,5/16"-18, G5

16шт.

10

113-104

BOLT,Hex, 5/16" - 18 x 1-1/4", Gr 5

6шт.

Выбрано товаров: 10