Запчасти Case IH 1822 (9A-098) - DRUM HOUSING 1822 COTTON PICKER (13) - PICKING SYSTEM

Схема запчастей Case IH 1822 - (9A-098) - DRUM HOUSING 1822 COTTON PICKER (13) - PICKING SYSTEM
17
13
17
11
12
16
6
16
4
18
16
15
7
19
15
10
1
17
13
13
17
16
2
16
17
17
16
18
15
3
15
14
19
17
15
15
13
16
17
5
17
16
16
FIT
1:1
100%

Артикул

Название

Примечание

Количество

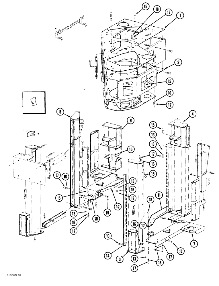
87328C92

HOUSING

ASSEMBLY - drum, left (Includes Ref 1 through 36)

1шт.

87329C92

HOUSING

ASSEMBLY - drum, right

1шт.

1

223965C5

LARGE PLATE

PLATE - top

1шт.

2

223943C3

PLATE

- center (Left drum)

1шт.

2

223944C3

PLATE

- center (Right drum)

1шт.

3

223998C5

POST

- outer front (Left drum)

1шт.

3

223999C5

POST

- outer front (Right drum)

1шт.

4

1278351C6

POST

- housing, outer rear (Left drum)

1шт.

4

1278352C6

POST

- housing, outer rear (Right drum)

1шт.

5

1278338C7

POST

- inner front (Left drum)

1шт.

5

1278339C7

POST

- inner front (Right drum)

1шт.

6

1278344C2

POST

- inner rear (Left drum)

1шт.

6

1278345C2

POST

- inner rear (Right drum)

1шт.

7

223974C2

CHANNEL

- spindle lower, left (Left and right drum)

1шт.

8

223975C2

CHANNEL

- spindle lower, right (Left and right drum)

1шт.

9

1278479C1

ANGLE

SUPPORT - front lower (Left drum)

1шт.

9

1278480C1

ANGLE

SUPPORT - front lower (Right drum)

1шт.

10

223980C1

ANGLE

SUPPORT - rear lower (Left drum)

1шт.

10

223981C1

ANGLE

SUPPORT - rear lower (Right drum)

1шт.

11

223990C1

ANGLE

BRACKET - wear, left (Left and right drum)

1шт.

12

223991C1

ANGLE

BRACKET - wear, right (Left and right drum)

1шт.

13

670363R1

SHIM

- retaining

1шт.

14

223630C1

SUPPORT

- slat front, left (Left drum)

1шт.

14

223631C1

SUPPORT

- slat front, right (Right drum)

1шт.

15

541313R1

BOLT,Hex Serr Flg, 3/8" - 16 x 3/4"

- hex flange, 3/8 NC x 3/4 inch

1шт.

16

192-21

LOCK WASHER,3/8"

WASHER, LOCK, (If equipped) 3/8"

1шт.

17

482256R1

BEARING LOCK NUT,Flg, USR, 3/8"-16

- hex flange lock, 3/8 inch NC

1шт.

18

459401C1

BOLT,Hex Flg, 3/8" - 16 x 1", Full Thd

- hex, 3/8 NC x 1 inch

1шт.

19

598809R1

CARRIAGE BOLT,Sht Sq Nk, 3/8" - 16 x 3/4", Gr 5

BOLT - round head square neck, 3/8 NC x 3/4 inch

1шт.

Выбрано товаров: 29