Запчасти Case IH 1822 (9A-130) - WATER LINES SERVICE CENTER (14) - WATER SYSTEM

Схема запчастей Case IH 1822 - (9A-130) - WATER LINES SERVICE CENTER (14) - WATER SYSTEM
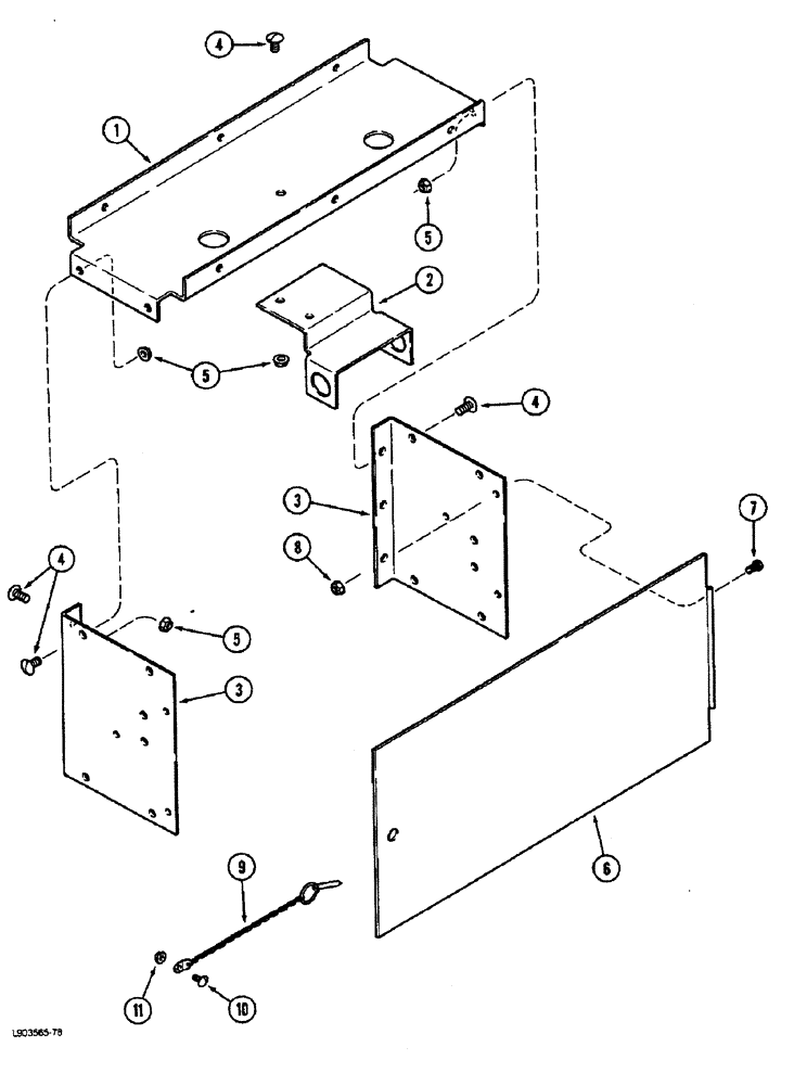
9
5
3
6
5
10
7
5
3
4
1
2
11
4
4
8
FIT
1:1
100%

Артикул

Название

Примечание

Количество

1

1345214C1

SUPPORT

- service center top

1шт.

2

1345112C1

SUPPORT

BRACKET - water filter

1шт.

3

1345144C1

SUPPORT

- service center front and rear

2шт.

4

477-73812

SERRATED SCREW,Truss HD, 3/8" - 16 x 3/4"

BOLT - slotted truss head, 3/8 x 3/4 inch

12шт.

5

482256R1

BEARING LOCK NUT,Flg, USR, 3/8"-16

- hex flange lock, 3/8 inch NC

12шт.

6

1345217C1

TRAP DOOR

DOOR ASSEMBLY - service center

1шт.

7

135270

SERRATED SCREW,5/16" - 18 x 3/4"

BOLT - hex, 5/16 NC x 3/4 inch

2шт.

8

938017R1

FLANGE NUT,Flg, USR, 5/16"-18

- hex flange lock, 5/16 inch NC

2шт.

9

1345212C1

CHAIN (AG)

CHAIN - service center door

1шт.

10

161108C1

BOLT,Hex Serr, 1/4" - 20 x 1/2"

SCREW - slotted truss, 1/4 NC x 1/2 inch

1шт.

11

938016R1

FLANGE NUT,Flg, USR, 1/4"-20

- hex flange lock, 1/4 inch NC

1шт.

Выбрано товаров: 11