Запчасти Case IH 1822 (9A-140) - DRUM CHAIN OILER (14) - WATER SYSTEM

Схема запчастей Case IH 1822 - (9A-140) - DRUM CHAIN OILER (14) - WATER SYSTEM
33
25
34
15
38
7
34
6
38
17
7
8
36
37
21
28
39
34
34
18
34
29
17
33
21
17
1
14
2
37
19
35
26
34
32
27
20
22
34
34
36
17
17
16
5
14
17
17
34
34
3
4
17
17
FIT
1:1
100%

Артикул

Название

Примечание

Количество

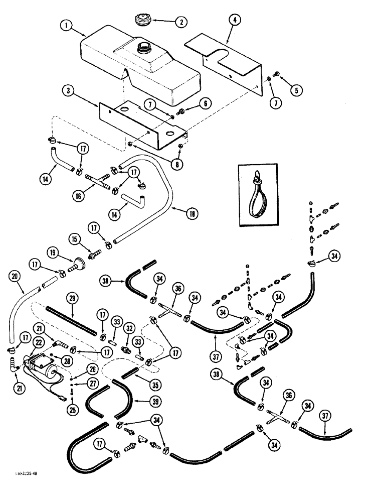
1

201921C1

TANK

RESERVOIR - oil

1шт.

2

201928C1

CAP

- oil reservoir

1шт.

3

1338611C1

BRACKET

- reservoir mounting

1шт.

4

1338106C1

COVER

BRACKET - reservoir retaining

1шт.

5

413-612

BOLT,Hex, 3/8" - 16 x 3/4", Gr 5

2шт.

6

434-612

CARRIAGE BOLT,Sht Sq Nk, 3/8" - 16 x 3/4", Gr 5

BOLT - round head square neck, 3/8 NC x 3/4 inch

2шт.

7

492-11038

LOCK WASHER,3/8"

4шт.

8

425-106

NUT,3/8"-16, Cl 5

4шт.

14

NSS

NOT SOLD SEPARAT

HOSE - reservoir outlet, 7-1/2 inch long (Order 665181R1, Serial Range: cut-length)

2шт.

15

1345204C1

FITTING

- barb, straight, 1/2 inch hose ID x 1/2 PT

1шт.

16

1285274C1

TEE

- hose, 1/2 inch

1шт.

17

214-251

HOSE CLAMP,#06, 0.44" - 0.78", Type F Worm

CLAMP - adjustable, no. 6, type F

12шт.

18

NSS

NOT SOLD SEPARAT

HOSE - reservoir to filter, 24 inch long (If equipped) (Order 665181R1, Serial Range: cut-length)

1шт.

18

NSS

NOT SOLD SEPARAT

HOSE - reservoir to filter, 19 inch long (Order 665181R1, Serial Range: cut-length)

1шт.

19

1982342C2

FILTER

- inline

1шт.

238-5130

O-RING,0.103" Thk x 1.612" ID, -130, Cl 5, 75 Duro

- 1-5/8 x 1-13/16 inch

1шт.

20

NSS

NOT SOLD SEPARAT

HOSE - filter to pump, 42 inch long (Order 665181R1, Serial Range: cut-length)

1шт.

21

217-290

FITTING,90 Degree Elbow, 1/2" Hose Barb x 3/8" Male NPTF

2шт.

22

1338877C1

PUMP, WATER

PUMP ASSEMBLY - water, electric

1шт.

1338878C1

KIT

- pump valve

1шт.

1338879C1

KIT

- pump diaphragm

1шт.

25

470-11020

SCREW,Slotted Pan Hd, #10-24 x 1 1/4"

- machine, pan head slotted, no. 10 NC x 1-1/4 inch

4шт.

26

495-31022

WASHER,#10

4шт.

27

492-11010

LOCK WASHER,#10

WASHER, LOCK, #10

4шт.

28

225-14110

NUT,#10-24

4шт.

29

NSS

NOT SOLD SEPARAT

HOSE - pump to check valve, 12 inch long (Order 665181R1, Serial Range: cut-length)

2шт.

32

1282426C1

VALVE

- check, 5 PSI

1шт.

33

1338961C1

HYD TUBE,0.05" OD, 38.1" Length

TUBE - check valve

2шт.

34

214-274

HOSE CLAMP,#04, 0.25" - 0.62", Type F Worm

- adj. #4, 0.25/0.62 Type F Worm

1шт.

35

NSS

NOT SOLD SEPARAT

HOSE - tee to tee, 66 inch long (If equipped) (Order 1982352C1, Serial Range: cut-length)

2шт.

35

NSS

NOT SOLD SEPARAT

HOSE - tee to tee, 70 inch long (Order 1982352C1, Serial Range: cut-length)

2шт.

36

1338966C1

TEE

- barbed, 1/4 inch (1844 cotton picker)

2шт.

37

NSS

NOT SOLD SEPARAT

HOSE - tee to drum no. 2 and 3, 8 inch long (If equipped) (Order 1982352C1, cut to length) (1844 cotton picker)

2шт.

37

NSS

NOT SOLD SEPARAT

HOSE - tee to drum no. 2 and 3, 28 inch long (Order 1982352C1, cut to length) (1844 cotton picker)

2шт.

38

NSS

NOT SOLD SEPARAT

HOSE - tee to drum no. 1 and 4, 84 inch long (If equipped) (Order 1982352C1, cut to length) (1844 cotton picker)

2шт.

38

NSS

NOT SOLD SEPARAT

HOSE - tee to drum no. 1 and 4, 62 inch long (Order 1982352C1, cut to length) (1844 cotton picker)

2шт.

39

NSS

NOT SOLD SEPARAT

HOSE - check valve to tee, 48 inch long (Order 665181R1, Serial Range: cut-length)

1шт.

Выбрано товаров: 0