Запчасти Case IH 1822 (9B-38) - UNLOADING CONVEYOR AND DRIVE (15) - HANDLING SYSTEM

Схема запчастей Case IH 1822 - (9B-38) - UNLOADING CONVEYOR AND DRIVE (15) - HANDLING SYSTEM
10
17
33
15
30
8
9
6
1
3
15
10
32
14
34
22
4
28
8
33
7
20
2
29
15
34
2
13
9
32
3
16
21
19
18
5
24
FIT
1:1
100%

Артикул

Название

Примечание

Количество

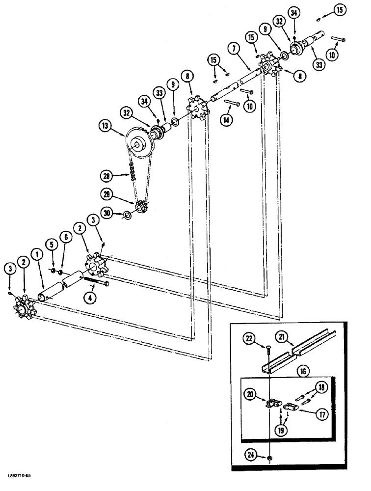
1

1260354C1

TUBE

PIPE - idler adjustment

1шт.

2

1270109C1

SPROCKET ASSY.

SPROCKET - idler, 7 teeth

4шт.

3

87414

LUBE NIPPLE,1/4" - 28

FITTING - grease, 1/4 inch

4шт.

4

1262728C1

BOLT

- idler take-up

4шт.

5

425-146

JAM NUT,3/8" - 16, Gr 5

- hex jam, 3/8 inch NC

4шт.

6

425-106

NUT,3/8"-16, Cl 5

4шт.

7

1260366C1

SHAFT

- conveyor drive

1шт.

8

1269910C1

DRIVE SPROCKET

SPROCKET - drive, 7 teeth

4шт.

9

495-81213

WASHER,35.71mm ID x 50.8mm OD x 1.7mm Thk

- flat, 1-13/32 x 2 x 3/64 inch

8шт.

10

441015R1

LOCK PIN,5/16" x 2 1/4", Slotted

Headed 5/16" x 2 1/4", Slotted

4шт.

13

1260365C1

SPROCKET ASSY.

SPROCKET - drive, 12 teeth

1шт.

14

455184R1

LOCK PIN,5/16" x 3", Slotted

Pin, , headed 5/16" x 3", Slotted

1шт.

15

117997

WOODRUFF KEY,#25, 5/16" x 1 1/2", HT

5шт.

16

1263072C92

CHAIN (AG)

CHAIN - conveyor (1/2 length - Note A)

8шт.

16

1329202C91

CHAIN (AG)

CHAIN - conveyor (1/2 length - Note B)

4шт.

16

1262674C92

CHAIN (AG)

CHAIN - conveyor (1/2 length - Note B)

8шт.

17

821017C1

CHAIN LINK

LINK - assembly

1шт.

18

821369C1

PIN,7.79mm OD x 47.93mm L

- coupler

1шт.

19

21858R1

COTTER PIN,1/8" x 1/2"

1/8" x 1/2"

1шт.

20

821016C1

LINK,Chain

LINK - attaching

1шт.

21

1263020C1

CONDUIT

CHANNEL - conveyor slat (40 used on 1844, 34 used on 1822)

1шт.

22

598803R1

CARRIAGE BOLT,Short NK, 5/16"-18 x 1", G5, Full Thd

BOLT - round head square neck, 5/16 NC x 1 inch (2 used per channel)

1шт.

24

25077R1

LOCK NUT,5/16"-18, GB

NUT, LOCK, (2 used per channel) 5/16"-18, GB

1шт.

28

NSS

NOT SOLD SEPARAT

CHAIN - conveyor drive (Use 69 links of No. 60H chain, 1 offset link 1318D and connecting link 1786D)

1шт.

29

1260364C1

SPROCKET ASSY.

SPROCKET - drive, 10 teeth

1шт.

30

495-81070

WASHER,1 1/32" x 1 1/2" x .120"

- flat, 1-1/32 x 1-1/2 x 3/32 inch

1шт.

32

1278954C91

BEARING ASSY

ASSEMBLY - drive shaft

4шт.

33

1278956C1

BUSHING,34.95mm ID x 39.7mm OD x 63.75mm L

- bearing

1шт.

34

87414

LUBE NIPPLE,1/4" - 28

FITTING - grease, 1/4 inch

4шт.

Выбрано товаров: 29