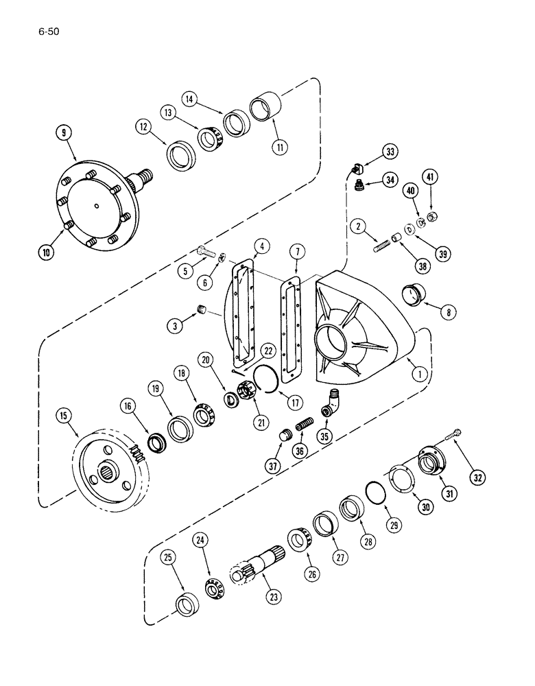
Запчасти Case IH 1822 (6-50) - FINAL DRIVE, 1822 COTTON PICKER (03) - POWER TRAIN

Схема запчастей Case IH 1822 - (6-50) - FINAL DRIVE, 1822 COTTON PICKER (03) - POWER TRAIN
23
27
8
33
9
30
15
26
18
38
2
25
1
10
13
41
31
5
36
34
7
11
24
29
4
3
40
39
37
35
19
32
16
6
12
21
17
14
20
28
FIT
1:1
100%

Артикул

Название

Примечание

Количество

1276910C93

DRIVE ASSY.

DRIVE ASSEMBLY - final, left

1шт.

1276911C93

DRIVE ASSY.

DRIVE ASSEMBLY - final, right

1шт.

1

1277167C1

HOUSING

- drive, left

1шт.

1

1277168C1

HOUSING

- drive, right

1шт.

2

1277171C1

STUD

- housing

7шт.

3

444595

DRAIN PLUG,Sq Hd, 1/4"-14 NPTF

PLUG - square head, 3/4 inch PT

1шт.

4

587078R91

PAN ASSY.

COVER - housing

1шт.

5

113-206

BOLT,Hex, 3/8" - 16 x 3/4", Gr 5, Full Thd

12шт.

6

492-11038

LOCK WASHER,3/8"

12шт.

7

184229C1

SEAL

GASKET - cover

1шт.

8

107622C3

BEARING CAP,92.4 mm ID x 114.3 mm OD x 45.7 mm

- bearing

1шт.

9

184027C1

SHAFT

- drive

1шт.

10

565130R3

BOLT,3/4" - 16 x 2 5/8", Class 8

- wheel

8шт.

11

64747C1

BUSHING,82.6 mm ID x 92.2 mm OD x 50 mm

- shaft, outer

1шт.

12

59881C1

OIL SEAL,96.14mm ID x 133.5mm OD x 11.89mm Thk

- oil

1шт.

13

63461C91

BEARING ASSY,3.25" ID x 5.25" OD x 1.5625"

CONE - bearing shaft, 3-1/4 inch ID

1шт.

14

160301R1

BEARING ASSY,133.35mm OD x 32.55mm W

CUP - bearing shaft, 5-1/4 inch OD

1шт.

15

107628C1

GEAR

- drive, 69 teeth

1шт.

16

107626C1

SPACER

- shaft inner

1шт.

17

107625C1

RING

- snap

1шт.

18

298033R91

TAPERED BEARING,53.98mm ID x 36.51mm W

CONE - bearing shaft, 2-1/8 inch ID

1шт.

19

107624C1

BEARING CUP,104.78mm OD x 28.57mm W

CUP - bearing shaft, 4-1/8 inch OD

1шт.

20

404076R1

WASHER

- retaining

1шт.

21

1975476C1

SLOTTED NUT

- retaining

1шт.

22

125637

COTTER PIN,1/8" x 2"

PIN, SPLIT (COTTER), 1/8" x 2"

1шт.

23

1276980C1

SHAFT

- pinion, 13 teeth

1шт.

24

50212VA

ROLLER BEARING,33.35mm ID x 24.01mm W

CONE - bearing shaft, 1-5/16 inch ID

1шт.

25

50213V

BEARING CUP

CUP - bearing shaft, 2-3/4 inch OD

1шт.

26

56934D

ROLLER BEARING,2.1663" ID x 3.8125" OD x 0.8268"

CONE - bearing shaft, 2-3/16; inch ID

1шт.

27

105497H

BEARING CUP,96.85mm OD x 15.77mm W

CUP - bearing shaft, 3-13/16 inch OD

1шт.

28

64749C1

SEAL,53.1mm ID x 80mm OD x 10mm Thk

- oil

1шт.

29

317923R1

O-RING,0.139" Thk x 3.609" ID, -239, Cl 5, 75 Duro

- cage, 3-5/8 x 3-7/8 x 1/8 inch

1шт.

30

405627R1

SHIM

- cage, 0.003 inch

1шт.

30

376467R1

SHIM

- cage, 0.007 inch

1шт.

31

64750C2

CAGE

- seal

1шт.

32

28138R1

BOLT,Hex, 7/16" - 14 x 1 1/8", Gr 8

- hex, 7/16 NC x 1-1/8 inch, Grade 8

5шт.

33

9409931

ELBOW,90 Degree, 1/8"-28 NPTF, Fem x 1/8"-27 NPTF Male

- 90 degree pipe, 1/8 inch PT

1шт.

34

61991R91

BREATHER,1/8"-27 NPT, Short, w/washer

- housing

1шт.

35

141621

ELBOW,90 Degree, 3/4" NPT Street

- 90 degree pipe, 3/4 inch PT

1шт.

36

192470

PIPE,Nipple, 3/4" NPT x 1 3/8"

NIPPLE - pipe, 3/4 x 1-3/8 inch PT

1шт.

37

119102

CAP,3/4" NPT

- pipe, 3/4 inch pipe PT

1шт.

38

1342531C1

BUSHING

- housing

4шт.

39

25548R1

WASHER

- flat, 13/16 x 1-1/2 x 7/32 inch

14шт.

40

129-27

NUT,Hex, #10 - 32

WASHER - lock, 3/4 inch

14шт.

41

129-138

NUT,3/4"-10, G8

14шт.

Выбрано товаров: 45