Запчасти Case IH 1822 (9-016) - DRIVE LINE SHIELD, PRIOR TO P.I.N. 701 (13) - PICKING SYSTEM

Схема запчастей Case IH 1822 - (9-016) - DRIVE LINE SHIELD, PRIOR TO P.I.N. 701 (13) - PICKING SYSTEM
1
7
2
4
10
4
1
9
3
5
8
8
10
5
9
6
7
6
FIT
1:1
100%

Артикул

Название

Примечание

Количество

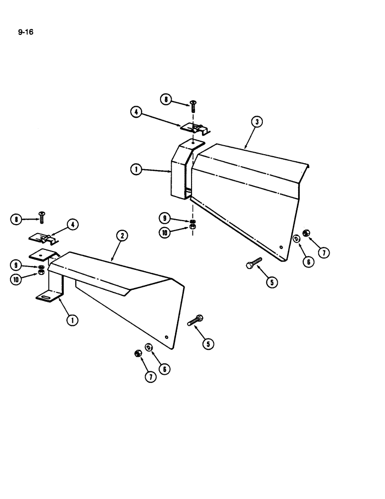
1

1266387C1

BRACKET

- shield

2шт.

2

1266389C1

SHIELD

- left

1шт.

3

1266390C1

SHIELD

- right

1шт.

4

167800C1

CLIP

CLIP - shield

2шт.

5

180122

BOLT,Hex, 3/8" - 16 x 1", Gr 5

- hex, 3/8 NC x 1 inch

2шт.

6

120394

WASHER,3/8", SAE

WASHER - flat, 13/32 x 13/16 x 3/64 inch

2шт.

7

9411655

LOCK NUT,3/8"-16, GB

NUT- hex, 3/8 inch NC

2шт.

8

159920

SCREW,Cross Pan Hd, #10 - 24 x 1/2"

- slotted, No. 10 x 1/2 inch

2шт.

9

120217

LOCK WASHER,#10

WASHER, LOCK, #10

2шт.

10

120614

NUT,Hex, #10 - 32

NUT, #10-32

2шт.

Выбрано товаров: 10