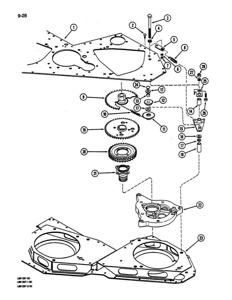
Запчасти Case IH 1822 (9-028) - SPROCKETS, IDLER ARM AND CAM, FRONT (13) - PICKING SYSTEM

Схема запчастей Case IH 1822 - (9-028) - SPROCKETS, IDLER ARM AND CAM, FRONT (13) - PICKING SYSTEM
25
27
3
1
8
5
2
6
26
15
20
9
24
21
7
17
28
4
14
12
19
18
11
23
17
10
16
17
13
22
FIT
1:1
100%

Артикул

Название

Примечание

Количество

1

REF

INSTRUCTION

PLATE - drum top (See Page 9-101 and 107)

1шт.

2

154273C1

BOLT,Hex Serr, 3/8" - 16 x 1", Spcl

- hex lock, 3/8 NC x 1 inch (Replaces 459401C1)

2шт.

3

19824R1

BOLT,Hex, 5/8" - 11 x 7 1/2", Gr 5

- hex, 5/8 NC x 7-1/2 inch

1шт.

4

492-11062

BEARING WASHER,5/8"

WASHER, LOCK, 5/8"

1шт.

5

1278578C1

BRACKET

- spring anchor

1шт.

6

120382

LOCK WASHER,Helical Spring, 3/8"

WASHER, LOCK, 3/8"

2шт.

7

120377

NUT,3/8" - 16, Gr 5

2шт.

7

482256R1

BEARING LOCK NUT,Flg, USR, 3/8"-16

- flange lock, 3/8 inch NC

4шт.

8

P016

CARTON BOX

SPRING - idler arm

1шт.

9

REF

INSTRUCTION

SPROCKET - moistener drive (See Page 9-49)

1шт.

10

REF

INSTRUCTION

CHAIN - moistener drive (See Page 9-25)

1шт.

11

REF

INSTRUCTION

SPROCKET - moistener drive idler (See Page 9-49)

1шт.

12

1278576C91

SPROCKET ASSY.

SPROCKET - idler, 20 teeth

1шт.

13

1278612C1

BUSHING

- idler sprocket

1шт.

14

1266303C1

SPACER

1шт.

15

87240C1

ARM

- idler

1шт.

16

1278596C1

WASHER

- idler

1шт.

17

Q3500

WASHER

- flat, 21/32 x 1-1/8 inch

1шт.

18

665416R1

SPACER

1шт.

19

REF

INSTRUCTION

SPROCKET - rotor drive (See Page 9-49)

1шт.

20

REF

INSTRUCTION

SPROCKET - spindle driven (See Page 9-51)

1шт.

21

REF

INSTRUCTION

HUB - spindle sprocket (See Page 9-55)

1шт.

22

REF

INSTRUCTION

CAM (See Page 9-51)

1шт.

23

REF

INSTRUCTION

PLATE - drum center (See Page 9-101 and 107)

1шт.

24

269174R1

SNAP RING,#62, Ext

Ring, Snap, #62, Ext

1шт.

25

87233C1

LARGE PLATE

PLATE - idler stop, left

1шт.

25

87234C1

LARGE PLATE

PLATE - idler stop, right

1шт.

26

598813R1

CARRIAGE BOLT,Sht Sq Nk, 1/2" - 13 x 1", Gr 5

BOLT - round head square neck, 1/2 NC x 1 inch

2шт.

27

120384

WASHER,1/2"

LOCK, 1/2"

2шт.

28

120378

NUT,Hex, 1/2" - 13, Gr 5

NUT, 1/2"-13, G5

2шт.

Выбрано товаров: 30