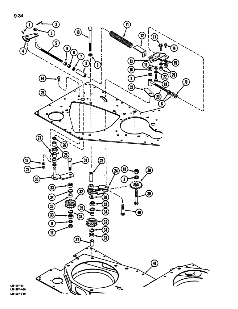
Запчасти Case IH 1822 (9-034) - IDLER ARMS AND SPROCKET, REAR SPINDLE CHAIN (13) - PICKING SYSTEM

Схема запчастей Case IH 1822 - (9-034) - IDLER ARMS AND SPROCKET, REAR SPINDLE CHAIN (13) - PICKING SYSTEM
27
10
36
16
34
29
33
18
34
25
34
18
23
28
6
41
34
35
33
30
33
6
40
39
18
9
11
22
20
37
6
17
7
9
3
14
19
13
32
32
8
12
38
2
5
33
21
31
15
35
4
24
9
14
1
29
16
26
15
9
FIT
1:1
100%

Артикул

Название

Примечание

Количество

1

576485R1

LOCK PIN,1/4" x 1 1/4", Slotted

1шт.

2

432-1216

COTTER PIN,3/16" x 1"

Pin, Split (Cotter), 3/16" x 1"

1шт.

3

25710R1

WASHER

- flat. 17/32 x 1-1/16 x 1/32 inch

1шт.

4

87102C1

LEVER

- idler

1шт.

5

87134C2

STUD

- idler spacing

1шт.

6

120378

NUT,Hex, 1/2" - 13, Gr 5

NUT, 1/2"-13, G5

4шт.

7

22770R1

WASHER

- flat, 17/32 x 1-1/2 x 5/32 inch

1шт.

8

87787C1

SPACER

- (Replaces 87135C1 by also supplying gauge, 87786C1)

1шт.

9

492-11062

BEARING WASHER,5/8"

WASHER, LOCK, 5/8"

3шт.

10

19824R1

BOLT,Hex, 5/8" - 11 x 7 1/2", Gr 5

- hex, 5/8 NC x 7-1/2 inch

1шт.

11

87128C1

SPRING

- chain tension

1шт.

12

87786C1

GAUGE

- idler spring adjusting (Replaces 87368C1 by also supplying spacer 87787C1)

1шт.

13

1329320C1

BRACKET

- housing support, left

1шт.

13

1329321C1

BRACKET

- housing support, right

1шт.

14

180122

BOLT,Hex, 3/8" - 16 x 1", Gr 5

- hex, 3/8 NC x 1 inch

8шт.

15

120382

LOCK WASHER,Helical Spring, 3/8"

WASHER, LOCK, 3/8"

10шт.

16

NLS

NO LONGER SERVICED

- flat, 17/32 x 1-1/16 x 3/32 inch

3шт.

17

86965C1

BOLT

- hex flange, 3/8 NC x 3/4 inch

3шт.

18

280374

NUT,Hex, 5/8" - 11, Gr 5

- hex, 5/8 inch NC

3шт.

19

180173

BOLT,Hex, 1/2" - 13 x 1", Gr 5

2шт.

20

1266315C2

ROD

- chain adjusting

1шт.

21

10215R

COVER

- slot

1шт.

22

120384

WASHER,1/2"

LOCK, 1/2"

2шт.

23

1266302C1

SPACER

1шт.

24

1266310C2

ARM ASSY.

ARM - rotor idler, left

1шт.

24

1266311C2

ARM ASSY.

ARM - rotor idler, right

1шт.

25

REF

INSTRUCTION

PLATE - drum top (See Page 9-101 and 107)

1шт.

26

21757R1

WASHER

- flat, 25/32 x 1-1/4 x 1/32 inch

1шт.

27

87126C91

PIVOT

ASSEMBLY - idler, left

1шт.

27

87127C91

PIVOT

ASSEMBLY - idler, right

1шт.

28

1280291C1

BUSHING,19.13mm ID x 22.3mm OD x 19.05mm L

- 3/4 inch (19 mm) diameter

1шт.

29

120377

NUT,3/8" - 16, Gr 5

8шт.

30

87108C1

ARM

- idler

1шт.

31

271728

SHAFT,Hex, 5/8" - 11 x 3 1/4", Gr 5

- hex, 5/8 NC x 3-1/4 inch

1шт.

32

10219R

SPROCKET ASSY.

SPROCKET ASSEMBLY - idler, 15 teeth

2шт.

33

666624R91

BALL BEARING,16.26mm ID x 40mm OD x 18mm W

- sprocket

4шт.

34

10213R

OIL SEAL

RING - retaining

4шт.

35

1266332C1

SPACER

- bearing

2шт.

36

23836R1

WASHER

- flat, 21/32 x 1-3/8 x 7/64 inch

1шт.

37

1266303C1

SPACER

1шт.

38

211623C91

SPROCKET

- idler, 17 teeth

1шт.

39

413-1032

BOLT,Hex, 5/8" - 11 x 2", Gr 5

- hex, 5/8 NC x 2 inch

1шт.

40

608812R1

CARRIAGE BOLT,5/8" - 11 x 3 1/4", Grade 5

BOLT - round head square neck, 5/8 NC x 3-1/4 inch

1шт.

41

REF

INSTRUCTION

PLATE - drum center (See Page 9-101 and 107)

1шт.

Выбрано товаров: 44