Запчасти Case IH 1822 (9-054) - PICKER BARS ANDSPINDLES (13) - PICKING SYSTEM

Схема запчастей Case IH 1822 - (9-054) - PICKER BARS ANDSPINDLES (13) - PICKING SYSTEM
24
26
27
2
10
16
6
25
21
2
20
19
3
23
7
9
8
11
14
23
29
30
17
18
24
4
22
1
20
32
15
12
31
5
28
13
FIT
1:1
100%

Артикул

Название

Примечание

Количество

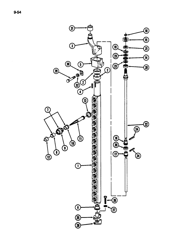
86824C91

BAR

ASSEMBLY - picker left (Includes items 1 through 24)

12шт.

86825C91

BAR

ASSEMBLY - picker right

12шт.

1

220324C1

BAR

- picker left

1шт.

1

220325C1

BAR

- picker right

1шт.

2

223634C1

SLEEVE,41.93mm ID x 43.98mm OD x 21.5mm L

SLEEVE - picker bar

2шт.

3

216504C3

ARM

- picker bar cam left

1шт.

3

216505C3

ARM

- picker bar cam right

1шт.

4

Q5024

KEY,3/16" Sq x 1", Par

1шт.

5

216669C3

HOUSING, BEARING

BEARING - journal

1шт.

6

669815R3

BUSHING,19.16mm ID x 28.78mm OD x 20.62mm L

- picker bar pivot

1шт.

7

220330C91

SUPPORT

HOLDER ASSEMBLY - spindle left

18шт.

7

220331C91

SUPPORT

HOLDER ASSEMBLY - spindle right

18шт.

8

216552C1

SPACER

BUSHING - spindle, plain

1шт.

9

NSS

NOT SOLD SEPARAT

HOLDER - spindle, left

1шт.

9

NSS

NOT SOLD SEPARAT

HOLDER - spindle, right

1шт.

10

216553C1

BUSHING,12.72mm ID x 17.52mm OD x 15mm L

- spindle, flanged

1шт.

11

216546C2

SPINDLE

- picker, left, rear

18шт.

11

216547C2

FINGER

SPINDLE - picker, right, front

18шт.

12

216554C1

SHIELD

- spindle

18шт.

13

674980R2

SHIM,25.77mm ID x 31.75mm OD x 0.31mm Thk

(0.012"), Spindle nut 0.3048mm Thk

1шт.

13

11264R

SHIM,25.77mm ID x 31.75mm OD x 0.2mm Thk

(0.008"), Spindle nut 0.2032mm Thk

1шт.

13

202099C1

SPACER

SHIM - spindle nut, 0.004 inch

1шт.

14

372070R91

BEARING ASSY,15.93mm ID x 28.32mm OD x 1.98mm W

BEARING - thrust

1шт.

15

216584C2

GEAR

- spindle drive shaft

1шт.

16

269192R1

SNAP RING,#50, Ext

RING - retaining, 0.461 inch

1шт.

17

10053RA

GEAR

- spindle long

5шт.

18

10054RA

GEAR

- spindle short

13шт.

19

338835R1

SNAP RING,1.125", Int, #112

RING - retaining, 1.249 inch

1шт.

20

209717C91

ROLLER BEARING,0.875" ID x 1.1245" OD x 0.375"

BEARING - spindle gear

6шт.

21

220355C1

OIL SEAL

- picker bar upper

1шт.

22

216578C2

SHAFT

ASSEMBLY - spindle drive

1шт.

23

216581C1

THRUST WASHER,15.93mm ID x 28.32mm OD x 2.41mm Thk

- thrust

2шт.

24

25954R1

LOCK PIN,9/64" x 1", Slotted

Pin, 9/64" x 1", Slotted

18шт.

25

214910C1

PIVOT

- picker bar

24шт.

26

181333

BOLT,Hex, 5/16" - 24 x 5/8", Gr 5

48шт.

27

103320

LOCK WASHER,5/16"

WASHER, LOCK, 5/16"

48шт.

28

669817R1

SHIM,0.08mm Thk

- picker bar, 0.003 inch

1шт.

28

669818R1

SHIM,0.18mm Thk

- picker bar, 0.005 inch

1шт.

28

669819R1

SHIM,0.18mm Thk

- picker bar, 0.007 inch

1шт.

28

669820R1

SHIM,0.25mm Thk

- picker bar, 0.010 inch

1шт.

29

1288767C1

BOLT

- journal bearing

24шт.

30

216839C1

RETAINER

- journal bearing

24шт.

31

86948C1

ROLLER,34.93mm OD x 20mm L

- cam arm

24шт.

32

120383

LOCK WASHER,Helical Spring, 7/16"

WASHER, LOCK, 7/16"

24шт.

Выбрано товаров: 44