Запчасти Case IH 1822 (9-102) - DRUM HOUSING, 1822 COTTON PICKER (13) - PICKING SYSTEM

Схема запчастей Case IH 1822 - (9-102) - DRUM HOUSING, 1822 COTTON PICKER (13) - PICKING SYSTEM
31
27
32
24
24
33
24
26
23
29
23
24
21
23
27
36
27
25
23
24
34
30
35
27
26
24
24
23
24
23
28
23
22
20
23
27
FIT
1:1
100%

Артикул

Название

Примечание

Количество

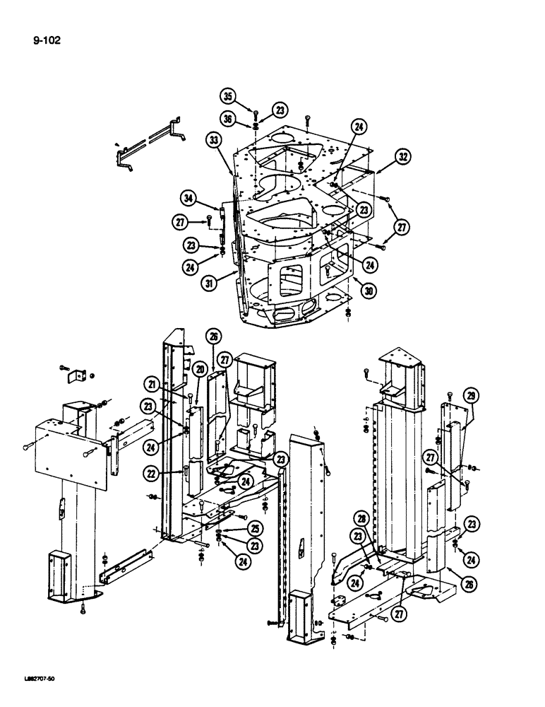
87328C92

HOUSING

ASSEMBLY - drum, left (Includes Ref. 1 through 36)

1шт.

87329C92

HOUSING

ASSEMBLY - drum right (Includes Ref. 1 through 36)

1шт.

20

1278429C1

SUPPORT

- rear slat (Left drum)

1шт.

20

1278430C1

SUPPORT

- rear slat (Right drum)

1шт.

21

113-206

BOLT,Hex, 3/8" - 16 x 3/4", Gr 5, Full Thd

- hex, 3/8 NC x 3/4 inch

1шт.

22

495967R1

CARRIAGE BOLT,Short NK, 3/8"-16 x 1", G5, Full Thd

BOLT - round head square head, 3/8 NC x 1 inch

1шт.

23

120382

LOCK WASHER,Helical Spring, 3/8"

WASHER, LOCK, 3/8"

1шт.

24

120377

NUT,3/8" - 16, Gr 5

1шт.

25

557950R1

WASHER

- flat, 13/32 x 1 x 11/64 inch

1шт.

26

1338675C1

POST

- doffer guard (Left and right drum) (Replaces 1278528C2)

2шт.

27

86965C1

BOLT

- hex, 3/8 NC x 3/4 inch

1шт.

28

1278441C1

ANGLE

- rear support (Left drum)

1шт.

28

1278442C1

ANGLE

- rear support (Right drum)

1шт.

29

1278440C1

POST

- rear (Left and right drum)

1шт.

30

223966C1

SUPPORT

WRAP - outer, front (Left and right drum)

1шт.

31

223967C2

SUPPORT

WRAP - inner, front (Left drum)

1шт.

31

86928C2

SUPPORT

WRAP - inner, front (Right drum)

1шт.

32

223968C2

SUPPORT

WRAP - outer, rear (Left and right drum)

1шт.

33

223969C3

SUPPORT

WRAP - inner, rear (Left drum)

1шт.

33

1338699C1

SUPPORT

WRAP - inner, rear (Right drum)

1шт.

34

1278655C1

SUPPORT

- gear box (Left and right drum)

1шт.

35

180122

BOLT,Hex, 3/8" - 16 x 1", Gr 5

- hex, 3/8 NC x 1 inch

1шт.

36

25709R1

WASHER

- flat, 13/32 x 13/16 x 3/32 inch

1шт.

Выбрано товаров: 23