Запчасти Case IH 1822 (2-56) - CONNECTING RODS, PISTONS AND SLEEVES, D466 DIESEL ENGINE (01) - ENGINE

Схема запчастей Case IH 1822 - (2-56) - CONNECTING RODS, PISTONS AND SLEEVES, D466 DIESEL ENGINE (01) - ENGINE
12
13
3
1
9
10
14
11
8
10
2
7
5
6
4
FIT
1:1
100%

Артикул

Название

Примечание

Количество

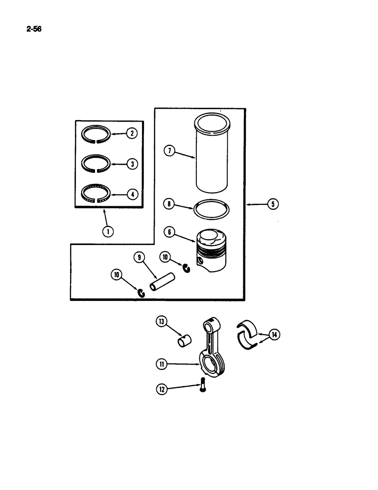
1

684065C92

RING, PISTON

RING SET - piston

6шт.

2

NSS

NOT SOLD SEPARAT

RING - compression piston, top or first groove

1шт.

3

NSS

NOT SOLD SEPARAT

RING - compression piston, second groove

1шт.

4

NSS

NOT SOLD SEPARAT

RING - oil piston, third or bottom groove

1шт.

5

1809579C92

PACKAGE

CYLINDER SLEEVE AND PISTON ASSEMBLY

6шт.

6

NSS

NOT SOLD SEPARAT

PISTON

1шт.

7

682720C1

SLEEVE

- cylinder

1шт.

8

680086C1

GASKET KIT

KIT - cylinder sleeve o-ring (Consists of 3 o-ring)

1шт.

NSS

NOT SOLD SEPARAT

O-RING - cylinder sleeve

3шт.

9

670675C1

PISTON PIN,41.27mm OD x 89.15mm L

PIN - piston

1шт.

10

326874R1

RETAINER

RING - piston pin retaining

2шт.

11

688923C91

ROD, CONNECTING

ROD ASSEMBLY - connecting

6шт.

12

676679C2

BOLT

- connecting rod

2шт.

13

675006C1

BUSHING

- piston pin

1шт.

14

1808059C91

BEARING

ASSEMBLY - connecting rod, 2 halves standard

6шт.

14

1808060C91

BEARING LINER

BEARING ASSEMBLY - connecting rod, 2 halves 0.010 inch undersize

6шт.

14

1808061

BEARING ASSEMBLY - connecting rod, 2 halves 0.020 inch undersize

6шт.

14

1808062C91

BEARING LINER

BEARING ASSEMBLY - connecting rod, 2 halves 0.030 inch undersize

6шт.

680333C92

SHIM KIT

KIT - cylinder sleeve shim

6шт.

NSS

NOT SOLD SEPARAT

SHIM - cylinder sleeve, 0.002 inch

2шт.

NSS

NOT SOLD SEPARAT

SHIM - cylinder sleeve, 0.004 inch

2шт.

NSS

NOT SOLD SEPARAT

SHIM - cylinder sleeve, 0.010 inch

1шт.

NSS

NOT SOLD SEPARAT

SHIM - cylinder sleeve, 0.020 inch

1шт.

NSS

NOT SOLD SEPARAT

SHIM - cylinder sleeve, 0.032 inch

2шт.

Выбрано товаров: 24