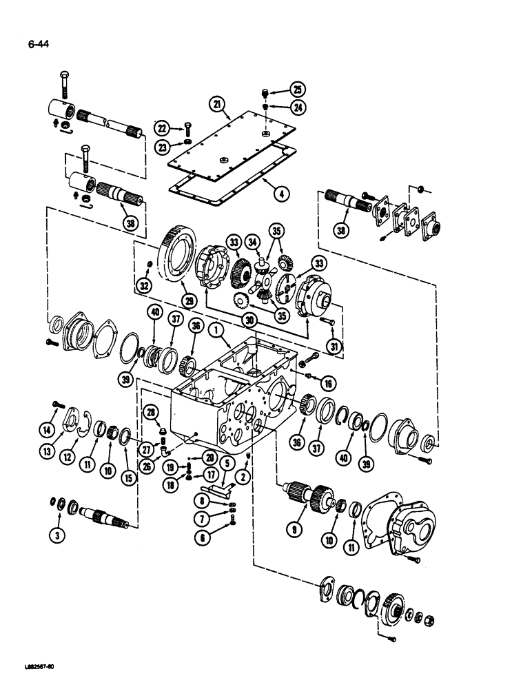
Запчасти Case IH 1822 (6-44) - TRANSMISSION HOUSING, DIFFERENTIAL SHAFT AND INTERMEDIATE SHAFT (03) - POWER TRAIN

Схема запчастей Case IH 1822 - (6-44) - TRANSMISSION HOUSING, DIFFERENTIAL SHAFT AND INTERMEDIATE SHAFT (03) - POWER TRAIN
22
18
3
37
8
36
23
34
24
11
9
36
32
30
38
35
27
20
10
10
11
26
14
6
16
40
5
1
29
17
28
40
39
13
35
33
33
31
21
37
2
19
7
39
12
4
38
15
25
FIT
1:1
100%

Артикул

Название

Примечание

Количество

92668C91

TRANSMISSION

ASSEMBLY (1822 Cotton Picker)

1шт.

92666C91

ASSEMBLY

TRANSMISSION ASSEMBLY (1844 Cotton Picker)

1шт.

1

107265C1

CASE

HOUSING - transmission

1шт.

2

320185C1

PLUG

- magnetic, 3/4 inch PT

1шт.

3

404207R1

RING,61.6mm ID x 68.4mm OD x 2.54mm Thk

- seal (Square Section)

1шт.

4

573998R2

GASKET

- cover

1шт.

5

402838R1

TROUGH

PAN - oil

1шт.

6

470-12510

SCREW,Slotted Pan Hd, 1/4"-20 x 5/8"

- slotted, 1/4 NC x 5/8 inch

1шт.

7

103319

LOCK WASHER,1/4"

WASHER, LOCK, 1/4"

1шт.

8

106260

WASHER,#12

- flat, 1/4 x 9/16 x 1/32 inch

1шт.

9

107301C1

GEAR

- pinion shaft, 13 and 23 teeth

1шт.

10

50212VA

ROLLER BEARING,33.35mm ID x 24.01mm W

CONE - bearing pinion shaft, 1-5/16 inch ID

2шт.

11

50213V

BEARING CUP

CUP - bearing pinion shaft, 2-3/4 inch OD

2шт.

12

405626R1

SHIM

- bearing, 0.003 inch (0.076 mm)

1шт.

12

381222R1

SHIM

- bearing, 0.007 inch (0.178 mm)

1шт.

13

573971R2

CAP

- shaft

1шт.

14

27347R1

BOLT,Hex, 3/8" - 16 x 1 1/8" , Gr 8

- hex, 3/8 NC x 1-1/8 inch, Grade 8

3шт.

15

548585R1

BEARING WASHER,71.17mm ID x 74.52mm OD x 3.61mm Thk

- seal

1шт.

16

444814

PLUG,Hex Hd, 1/8"-27, Brass

- hex head, 1/8 inch PT

1шт.

17

9410358

PLUG

- O-ring boss, 3/8 inch tube, 9/16-18 thread

2шт.

18

364839R1

O-RING,0.078" Thk x 0.468" ID, -906, Cl 6, 90 Duro

6-1, 90 Duro, .468" ID x .078" Thk, 3/8 OD tube

1шт.

19

588801R1

SPRING

- detent

2шт.

20

REF

INSTRUCTION

BALL - detent (See Page 6-55)

4шт.

21

184172C1

COVER

- housing

1шт.

22

179837

BOLT,Hex, 3/8" - 16 x 3/4", Gr 5

18шт.

23

93-41039

LOCK WASHER,Ext Tooth, 3/8"

WASHER - lock, 3/8 inch

18шт.

24

217-46

REDUCER,3/4" - 14 NPTF x 3/8" - 18 Fem NPTF

ADAPTER - hex, 3/4 to 3/8 inch PT

1шт.

25

91916R91

BREATHER,3/8"-18 NPT, Short, w/washer

- housing

1шт.

26

108686

ELBOW,90 Degree, 1/2" NPT Street

- 90 degree, 1/2 inch PT

1шт.

27

141504

PIPE,Nipple, 1/2" NPT x 1 1/2"

NIPPLE - pipe, 1/2 x 1-1/2 inch PT

1шт.

28

119101

CAP,1/2" NPT

- pipe, 1/2 inch PT

1шт.

395631R92

PACKAGE

KIT - differential, housing

1шт.

29

NSS

NOT SOLD SEPARAT

GEAR - driven, 53 teeth (Order 395631R92)

1шт.

30

NSS

NOT SOLD SEPARAT

CASE - differential (Order 395631R92)

2шт.

32

381368R1

NUT,Hex, 1/2" - 20, Gr 8

- hex, special, Grade 8

8шт.

33

360962R2

GEAR

- bevel, 28 teeth

2шт.

34

388093R1

U-JOINT SPIDER

SPIDER - differential

1шт.

35

360961R1

GEAR

- spider, 15 teeth

4шт.

36

ST2039

BEARING CONE,68.26mm ID x 22.07mm W

CONE - bearing differential, 2-11/16 inch ID

2шт.

37

13390D

ROLLER BEARING,3.06" ID x 4.3317" OD x 0.866"

CUP - bearing differential, 4-5/16 inch OD

2шт.

38

533847R3

SHAFT

- differential

2шт.

39

379511R1

SNAP RING,#177, 1.657", Ext

RING - snap

4шт.

40

ST560

BEARING, BALL,45 mm ID x 75 mm OD x 16 mm

BEARING - differential shaft, 2-15/16 inch OD

2шт.

Выбрано товаров: 43