Запчасти Case IH 1822 (6-48) - TRANS. HOUSING, 1822 CTTN PICKER PIN JJC0012001 AND AFT, 1844 CTTN PICKER PIN JJC0002001 AND AFT (03) - POWER TRAIN

Схема запчастей Case IH 1822 - (6-48) - TRANS. HOUSING, 1822 CTTN PICKER PIN JJC0012001 AND AFT, 1844 CTTN PICKER PIN JJC0002001 AND AFT (03) - POWER TRAIN
9
17
30
3
27
32
24
31
28
8
7
16
22
15
18
14
16
29
10
18
21
2
14
1
17
23
15
4
FIT
1:1
100%

Артикул

Название

Примечание

Количество

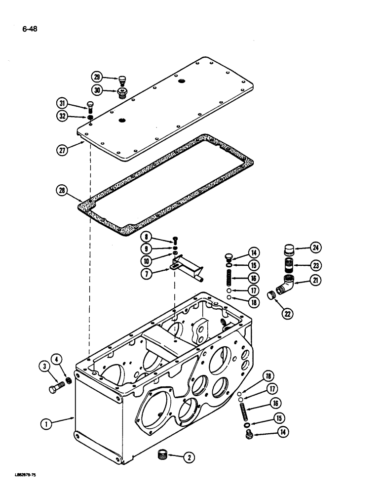
1963918C1

TRANSMISSION

ASSEMBLY - cotton picker, 1822

1шт.

Transmission assembly includes all items on Page 6-48, 6-50 and 6-52, except for items as indicated.

1шт.

1963922C1

TRANSMISSION

ASSEMBLY - cotton picker, 1844

1шт.

Transmission assembly includes all items on Page 6-48, 6-50 and 6-52, except for items as indicated.

1шт.

1

1963919C1

CASE

HOUSING - transmission

1шт.

2

1963920C1

PLUG

- drain, magnetic, 3/4 inch PT

1шт.

3

180177

BOLT,Hex, 1/2" - 13 x 1 1/2", Gr 5

- hex, 1/2 NC x 1-1/2 inch

4шт.

Not included in Transmission Assembly.

1шт.

4

120384

WASHER,1/2"

LOCK, 1/2"

4шт.

Not included in Transmission Assembly.

1шт.

7

1963911C1

TROUGH

PAN - oil

1шт.

8

470-12510

SCREW,Slotted Pan Hd, 1/4"-20 x 5/8"

BOLT - pan head slotted, 1/4 NC x 5/8 inch

1шт.

9

103319

LOCK WASHER,1/4"

WASHER, LOCK, 1/4"

1шт.

10

106260

WASHER,#12

- flat, 1/4 x 9/16 x 1/32 inch

1шт.

14

9410358

PLUG

- 3/8 inch tube, 9/16-18 thread

2шт.

15

364839R1

O-RING,0.078" Thk x 0.468" ID, -906, Cl 6, 90 Duro

6-1, 90 Duro, .468" ID x .078" Thk, 3/8 OD tube

2шт.

16

588801R1

SPRING

- detent

2шт.

17

17016R1

BALL,1/2" Dia

Detent 1/2" Dia

2шт.

18

17014R1

BALL

- detent, 7/16 inch diameter

2шт.

21

108686

ELBOW,90 Degree, 1/2" NPT Street

- 90 degree, 1/2 inch PT

1шт.

22

444705

PLUG,Hex Soc, 1/2"-14, Brass

- hex socket, 1/2 inch PT

1шт.

23

141504

PIPE,Nipple, 1/2" NPT x 1 1/2"

NIPPLE - 1/2 x 1-1/2 inch PT

1шт.

24

119101

CAP,1/2" NPT

- pipe, 1/2 inch Pt

1шт.

27

1963905C1

COVER

- housing

1шт.

28

573998R2

GASKET

- cover

1шт.

29

91916R91

BREATHER,3/8"-18 NPT, Short, w/washer

- housing

1шт.

30

144041

SEAL,3/4" NPT Male x 3/8" NPT Fem

ADAPTER - hex, 3/4 to 3/8 inch PT

1шт.

31

151629R1

BOLT,Hex, 3/8" - 16 x 1", Gr 8, Full Thd

- hex, 3/8 NC x 1 inch

18шт.

32

93-41039

LOCK WASHER,Ext Tooth, 3/8"

WASHER - lock, 3/8 inch

18шт.

184174C1

NUT - special retaining

1шт.

Выбрано товаров: 0