Запчасти Case IH 1844 (9A-056) - DOFFER (13) - PICKING SYSTEM

Схема запчастей Case IH 1844 - (9A-056) - DOFFER (13) - PICKING SYSTEM
35
13
19
34
5
20
12
10
38
25
33
26
16
11
6
24
43
7
31
41
37
33
14
3
36
9
15
31
8
31
37
18
2
40
27
1
17
32
21
23
42
22
30
39
4
31
31
FIT
1:1
100%

Артикул

Название

Примечание

Количество

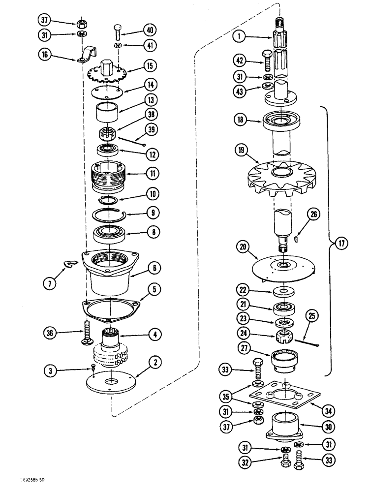
1

668823R1

SHAFT

- doffer drive

2шт.

2

660638R1

FELT

- doffer shaft dust seal

2шт.

3

667573R1

CLIP

- doffer dust seal retainer

6шт.

4

668849R1

SPROCKET ASSY.

SPROCKET - doffer drive

2шт.

5

669829R1

PLATE

- doffer reinforcing support

2шт.

6

1982355C1

CAGE

- doffer drive shaft bearing

2шт.

7

670363R1

SHIM

- upper doffer bearing

1шт.

8

662519R91

BALL BEARING,1.5312" ID x 80 mm OD x 1.083"

- doffer drive shaft

2шт.

9

49137D

RING, SNAP

RING - bearing retainer large snap

2шт.

10

R13338

SNAP RING,#150, Ext

Ring, Snap, , bearing #150, Ext

2шт.

11

7RA

ADJUSTMENT SCREW,3 1/4" - 12 x 2", Gr 25

- doffer adjusting

2шт.

12

ST287

BALL BEARING,20mm ID x 52mm OD x 15mm W

BEARING - doffer drive shaft upper

2шт.

13

10078R

SPACER

- adjusting screw bearing

2шт.

14

201396C1

GASKET

- doffer adjusting screw

2шт.

18

220466C1

COVER ASSY

COVER ASSEMBLY - doffer adjusting screw

2шт.

16

668820R1

LOCK

- doffer adjusting screw cap

2шт.

17

86828C91

SHAFT

DOFFER SHAFT - with doffers

2шт.

18

216599C3

SHAFT

ASSEMBLY - doffer

1шт.

19

123176A1

DOFFER

- cotton (replaces 216523C2)

18шт.

20

1329439C1

DISC

ASSEMBLY - doffer bottom

1шт.

21

669807R91

BALL BEARING,0.751" ID x 52 mm OD x 0.7"

- doffer shaft lower

1шт.

22

87282C1

WASHER

- doffer shaft lower spacer

1шт.

23

21758R1

WASHER

- flat, 25/32 x 1-1/4 x 3/64 inch

1шт.

24

427639

SLOTTED NUT,3/4"-16, G5

NUT - slotted hex, 3/4 inch NF

1шт.

25

87395

COTTER PIN,1/8" OD x 1-1/4" OAL

PIN, SPLIT (COTTER), 1/8" x 1-1/4"

1шт.

26

431787

WOODRUFF KEY,#61, 3/16" x 5/8", HT

KEY - Woodruff, 3/16 x 5/8 inch (SAE 61)

2шт.

27

1339066C1

BEARING CAP,48mm ID x 52mm OD x 40.10mm

- doffer lower bearing

1шт.

30

669806R2

CAGE

- lower doffer bearing

2шт.

31

192-21

LOCK WASHER,3/8"

WASHER, LOCK, 3/8"

28шт.

32

180116

BOLT,Hex, 3/8" - 16 x 1/2", Gr 5

- hex, 3/8 NC x 1/2 inch

2шт.

33

113-207

BOLT,Hex, 3/8" - 16 x 1", Gr 5

14шт.

34

223977C1

PLATE

ASSEMBLY - doffer adjusting

2шт.

35

25709R1

WASHER

- flat, 13/32 x 13/16 x 5/64 inch

12шт.

36

550796R1

CARRIAGE BOLT,3/8" - 16 x 1 1/4", Grade 5

BOLT - round head square neck, 3/8 NC x 1-1/4 inch

6шт.

37

129-103

NUT,Hex, 3/8" - 16, Gr 5

NUT, 3/8"-16, G5

6шт.

38

427639

SLOTTED NUT,3/4"-16, G5

NUT - slotted hex, 3/4 inch NF

2шт.

39

87395

COTTER PIN,1/8" OD x 1-1/4" OAL

PIN, SPLIT (COTTER), 1/8" x 1-1/4"

2шт.

40

18764R1

HARDWARE,Hex, 5/16"-18 x 3/4", G2

BOLT - hex, 5/16 NC x 3/4 inch

6шт.

41

192-20

LOCK WASHER,Helical Spring, 0.318" ID, CST, ZND

WASHER, LOCK, 5/16"

6шт.

42

181361

BOLT,Hex, 3/8" - 24 x 7/8", Gr 5

- hex, 3/8 NF x 7/8 inch

6шт.

43

NLS

NO LONGER SERVICED

- flat, 5/16 x 47/64 x 3/4 inch

6шт.

Выбрано товаров: 41