Запчасти Case IH 1844 (9A-106) - DRUM HOUSING, 1844 COTTON PICKER (13) - PICKING SYSTEM

Схема запчастей Case IH 1844 - (9A-106) - DRUM HOUSING, 1844 COTTON PICKER (13) - PICKING SYSTEM
24
23
30
23
32
36
24
24
24
24
22
27
29
31
27
34
25
27
24
26
35
28
24
21
27
23
23
27
26
33
23
24
23
23
23
20
FIT
1:1
100%

Артикул

Название

Примечание

Количество

REF

INSTRUCTION

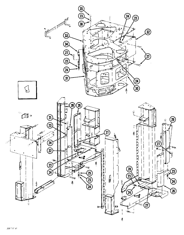
HOUSING ASSEMBLY - drum (No. 2 and 4 drum)

2шт.

REF

INSTRUCTION

HOUSING ASSEMBLY - drum (No. 1 and 3 drum)

2шт.

20

1278429C1

SUPPORT

- rear slat (No. 2 and 4 drum)

1шт.

20

1278430C1

SUPPORT

- rear slat (No. 1 and 3 drum)

1шт.

21

113-206

BOLT,Hex, 3/8" - 16 x 3/4", Gr 5, Full Thd

1шт.

22

495967R1

CARRIAGE BOLT,Short NK, 3/8"-16 x 1", G5, Full Thd

BOLT - round head square head, 3/8 NC x 3/8 NC x 1 inch

1шт.

23

192-21

LOCK WASHER,3/8"

WASHER, LOCK, 3/8"

1шт.

24

129-103

NUT,Hex, 3/8" - 16, Gr 5

NUT, 3/8"-16, G5

1шт.

25

557950R1

WASHER

- flat, 13/32 x 1 x 11/64 inch

1шт.

26

1338675C1

POST

- doffer guard

2шт.

ref # 26 1338675c1 attached plastic sheet is 1338676c1

1шт.

27

86965C1

BOLT

- hex, 3/8 NC x 3/4 inch

1шт.

28

1278441C1

ANGLE

BRACKET - rear support (No. 2 and 4 drum)

1шт.

28

1278442C1

ANGLE

BRACKET - rear support (No. 1 and 3 drum)

1шт.

29

1278440C1

POST

- rear

1шт.

30

223966C1

SUPPORT

WRAP - outer, front

1шт.

31

223967C2

SUPPORT

WRAP - inner, front (No. 2 and 4 drum)

1шт.

31

86928C2

SUPPORT

WRAP - inner, front (No. 1 and 3 drum)

1шт.

32

223968C2

SUPPORT

WRAP - outer, rear

1шт.

33

223969C4

SUPPORT

WRAP - inner, rear (Drum No. 2 and 4)

1шт.

33

1338699C2

SUPPORT

WRAP - inner, rear (Drum No. 1 and 3)

1шт.

34

1278655C1

SUPPORT

- gear box

1шт.

35

113-207

BOLT,Hex, 3/8" - 16 x 1", Gr 5

1шт.

36

25709R1

WASHER

- flat, 13/32 x 13/16 x 3/32 inch

1шт.

Выбрано товаров: 24