Запчасти Case IH 1844 (6-42) - TRANSMISSION HOUSING (03) - POWER TRAIN

Схема запчастей Case IH 1844 - (6-42) - TRANSMISSION HOUSING (03) - POWER TRAIN
16
32
5
8
15
22
2
9
29
3
31
1
15
16
4
14
6
18
7
17
17
18
27
28
14
FIT
1:1
100%

Артикул

Название

Примечание

Количество

1963918C3

TRANSMISSION

ASSEMBLY - cotton picker, 1822 (See Note)

1шт.

1963922C3

TRANSMISSION

ASSEMBLY - cotton picker, 1844 (See Note)

1шт.

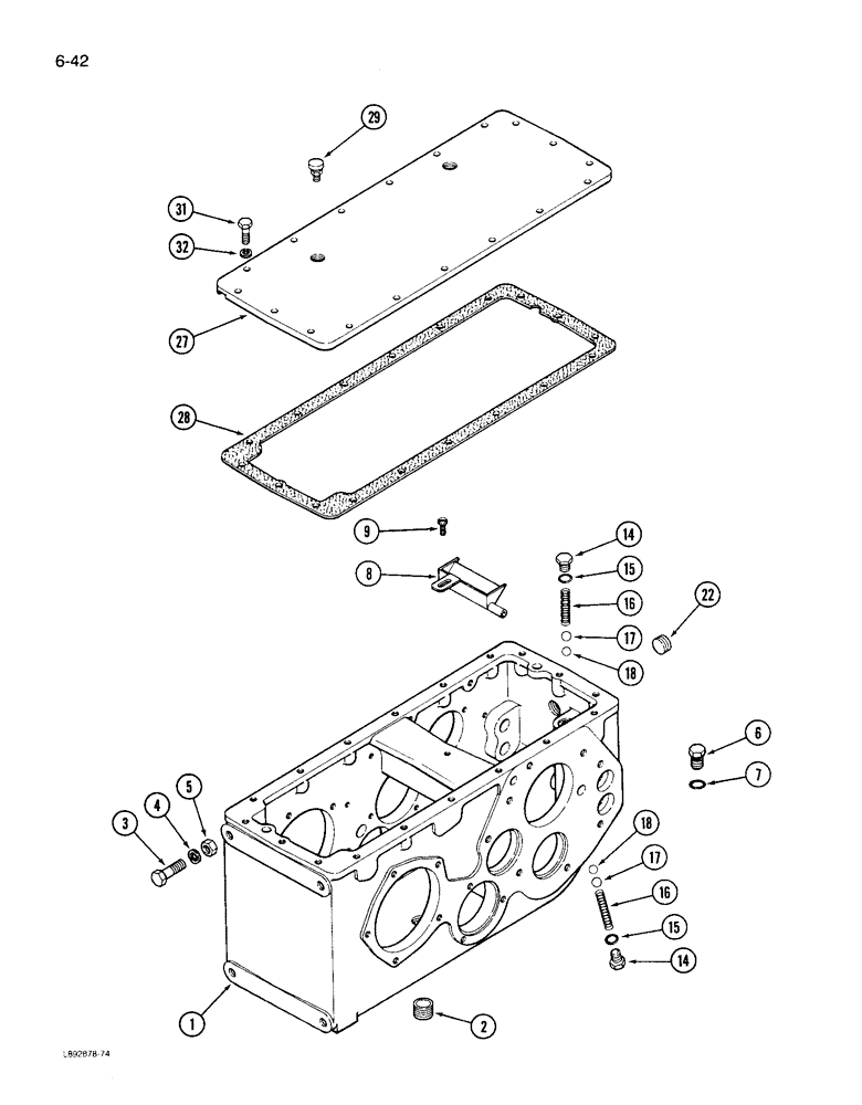
1

1963919C2

HOUSING

- transmission

1шт.

2

1963920C1

PLUG

- drain, magnetic, 3/4 inch PT

2шт.

3

413-824

BOLT,Hex, 1/2" - 13 x 1-1/2", Gr 5

4шт.

See Figure Note.

1шт.

3

113-421

BOLT,Hex, 1/2" - 13 x 2", Gr 5

2шт.

See Figure Note.

1шт.

4

80679

LOCK WASHER,1/20.507 CST ZND

WASHER, LOCK, 1/2"

6шт.

See Figure Note.

1шт.

5

425-108

NUT,1/2" - 13, Gr 5

NUT, , Hex 1/2"-13, G5

2шт.

See Figure Note.

1шт.

6

76349

PLUG,9/16" - 18 ORB

1шт.

8

1963911C1

TROUGH

PAN - oil

1шт.

9

470-12510

SCREW,Slotted Pan Hd, 1/4"-20 x 5/8"

- machine, pan head slotted, 1/4 NC x 5/8 inch

1шт.

14

9140358

PLUG - 3/8 inch tube, 9/16-18 thread

2шт.

16

588801R1

SPRING

- detent

2шт.

17

17016R1

BALL,1/2" Dia

Detent 1/2" Dia

2шт.

18

17014R1

BALL

- detent, 7/16 inch diameter

2шт.

22

444667

PLUG

- square socket, 1/2-14 inch PT

1шт.

27

1963905C1

COVER

- housing

1шт.

28

573998R2

GASKET

- cover (If equipped)

1шт.

29

91916R91

BREATHER,3/8"-18 NPT, Short, w/washer

- housing

1шт.

31

26-616

BOLT,Hex, 3/8" - 16 x 1", Gr 8

- hex, 3/8 NC x 1 inch grade 8

18шт.

32

93-41039

LOCK WASHER,Ext Tooth, 3/8"

WASHER - lock, external tooth, 3/8 inch

18шт.

7

237-6006

O-RING,0.078" Thk x 0.468" ID, -906, Cl 6, 90 Duro

6-1, 90 Duro, .468" ID x .078" Thk

1шт.

15

237-6006

O-RING,0.078" Thk x 0.468" ID, -906, Cl 6, 90 Duro

6-1, 90 Duro, .468" ID x .078" Thk

2шт.

Выбрано товаров: 27