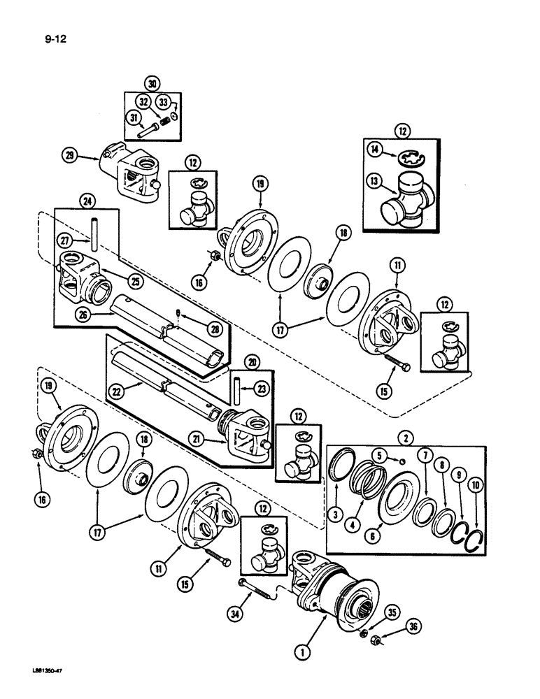
Запчасти Case IH 1844 (9-012) - AUXILIARY DRUM DRIVE SHAFT, 1844 COTTON PICKER (13) - PICKING SYSTEM

Схема запчастей Case IH 1844 - (9-012) - AUXILIARY DRUM DRIVE SHAFT, 1844 COTTON PICKER (13) - PICKING SYSTEM
32
25
16
24
33
6
11
14
9
7
16
1
27
20
28
21
17
10
11
36
18
12
8
12
26
18
12
17
3
29
15
34
35
12
4
19
22
12
5
23
30
19
2
31
15
13
FIT
1:1
100%

Артикул

Название

Примечание

Количество

87299C91

SHAFT

ASSEMBLY - drive, left

1шт.

87300C91

SHAFT ASSY.

SHAFT ASSEMBLY - drive, right

1шт.

1

87536C1

CLUTCH

- shaft, left

1шт.

1

87537C1

CLUTCH

- shaft, right

1шт.

2

87547C1

KIT

- clutch

1шт.

3

NSS

NOT SOLD SEPARAT

RING - backup (Order 87547C1)

1шт.

4

NSS

NOT SOLD SEPARAT

SPRING - compression (Order 87547C1)

1шт.

5

NSS

NOT SOLD SEPARAT

BALL - (Order 87547C1)

3шт.

6

NSS

NOT SOLD SEPARAT

COLLAR - lock (Order 87547C1)

1шт.

7

NSS

NOT SOLD SEPARAT

RING - backup (Order 87547C1)

1шт.

8

NSS

NOT SOLD SEPARAT

RING - backup (Order 87547C1)

1шт.

9

NSS

NOT SOLD SEPARAT

RING - snap (Order 87547C1)

1шт.

10

NSS

NOT SOLD SEPARAT

RING - snap (Order 87547C1)

1шт.

11

87538C1

FLANGE

YOKE - shaft

2шт.

REF #11. IF DLR IS LOOKING FOR THE GREASE ZIRK FITTING. PART IS 933801R1.

1шт.

12

87369C1

U-JOINT SPIDER

KIT - universal joint

4шт.

13

NSS

NOT SOLD SEPARAT

CROSS AND BEARING (Order 87369C1)

4шт.

14

NSS

NOT SOLD SEPARAT

LOCK - bearing (Order 87369C1)

16шт.

15

931405R1

BOLT,Hex, M8 x 1.25 x 30mm, Cl 8.8, Full Thd

- hex, M6 x 30 mm

16шт.

16

30167R1

NUT,M8, Cl 10

- hex, M6

16шт.

17

87545C1

CLUTCH DISC

DISK - friction

4шт.

18

87546C1

DISC

PLATE - centering

2шт.

19

87539C1

FORK

YOKE - shaft

2шт.

20

1329220C1

FORK

YOKE ASSEMBLY - inner

1шт.

21

1329220C1

FORK

YOKE - shaft (Order 1329920C1)

1шт.

22

1329220C1

FORK

TUBE - shaft (Order 1329920C1)

1шт.

23

30907R1

LOCK PIN,M10 x 70, Slotted

PIN - roll, 10 x 70 mm

1шт.

24

1329221C1

FORK

YOKE ASSEMBLY - outer

1шт.

25

1329221C1

FORK

YOKE - shaft (Order 1329921C1)

1шт.

26

1329221C1

FORK

TUBE - shaft (Order 1329921C1)

1шт.

27

30907R1

LOCK PIN,M10 x 70, Slotted

PIN - roll, 10 x 70 mm

1шт.

28

66584D

FITTING

- grease, drive type

1шт.

29

87541C1

FORK

YOKE - shaft

1шт.

30

1281458C1

KIT

- pin

1шт.

31

NSS

NOT SOLD SEPARAT

PIN (Order 1281458C1)

1шт.

32

NSS

NOT SOLD SEPARAT

SPRING (Order 1281458C1)

1шт.

33

NSS

NOT SOLD SEPARAT

WASHER (Order 1281458C1)

1шт.

34

413-432

- hex, 1/4 NC x 2 inch

2шт.

35

492-11025

LOCK WASHER,1/4"

WASHER, LOCK, 1/4"

2шт.

36

120375

NUT,Hex, 1/4" - 20, Gr 5

2шт.

Выбрано товаров: 40