Запчасти Case IH 1844 (9-080) - HEIGHT CONTROL LINKAGE, 1844 COTTON PICKER (13) - PICKING SYSTEM

Схема запчастей Case IH 1844 - (9-080) - HEIGHT CONTROL LINKAGE, 1844 COTTON PICKER (13) - PICKING SYSTEM
6
27
4
2
5
16
19
18
20
7
6
14
19
7
13
9
25
8
17
18
15
29
13
26
1
10
17
7
16
23
15
12
24
12
3
28
11
21
14
22
FIT
1:1
100%

Артикул

Название

Примечание

Количество

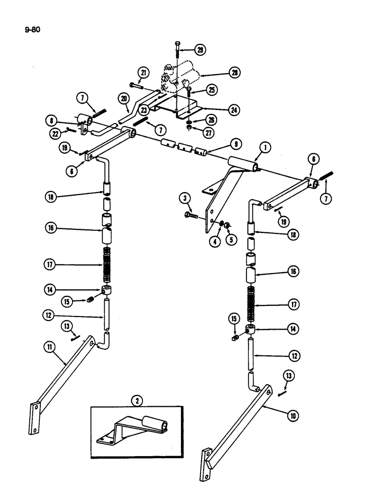
1

1278837C2

PIVOT ASSY.

PIVOT - shaft (No. 2 and 3 drum)

2шт.

NOTE-REF#1 NOT USED ON THE 1844, CATALOG

1шт.

ERROR (USED ON THE 1822) SEE PAGE 9-78-79 7/22/96

1шт.

NOTE-REF ILLUSTRATION NUMBER 2 IS USED ON THE 1844 P/N 1278837C2

1шт.

3

86965C1

BOLT

- hex, 3/8 NC x 3/4 inch

4шт.

3

541313R1

BOLT,Hex Serr Flg, 3/8" - 16 x 3/4"

- hex flange, 3/8 inch NC

1шт.

4

120382

LOCK WASHER,Helical Spring, 3/8"

WASHER, LOCK, 3/8"

4шт.

5

120377

NUT,3/8" - 16, Gr 5

4шт.

5

482256R1

BEARING LOCK NUT,Flg, USR, 3/8"-16

- flange lock, 3/8 inch NC

1шт.

6

1278832C1

ARM ASSY.

ARM - pivot (No. 2 and 3 drum)

4шт.

7

21648R1

LOCK PIN,1/4" x 1 1/4", Slotted

Pin, 1/4" x 1 1/4", Slotted

3шт.

8

1278835C1

ARM ASSY.

ARM - pivot (No. 2 and 3 drum)

2шт.

9

1278840C2

SHAFT

- pivot (No. 2 and 3 drum)

2шт.

10

669045R91

BRACKET

- lift (Offset left) (No. 2 and 4 drum)

2шт.

11

669046R91

BRACKET

- lift (Offset right) (No. 1 and 3 drum)

2шт.

12

1278842C1

ROD

- push (No. 1, 2, 3 and 4 drum)

4шт.

13

103385

COTTER PIN,1/8" x 1"

PIN, SPLIT (COTTER), 1/8" x 1"

4шт.

14

516595R11

COLLAR,16.67mm ID x 28.5mm OD x 19mm L

COLLAR ASSEMBLY - lock (No. 1, 2, 3, and 4 drum)

4шт.

15

21803R1

SET SCREW,1/2" - 13 x 5/8", Steel

SCREW - square head set, 1/2 NC x 5/8 inch

4шт.

16

669058R1

TUBE,30.2 mm OD, 406.5 mm Length

- spring (No. 1, 2, 3, and 4 drum)

4шт.

17

523677R1

SPRING

- push rod (No. 1, 2, 3, and 4 drum)

4шт.

18

670890R91

ROD

- push, upper (No. 1, 2, 3, and 4 drum)

4шт.

19

120169

COTTER PIN,5/32" x 1"

PIN, SPLIT (COTTER), 5/32" x 1"

4шт.

19

137185

COTTER PIN,1/8" x 1"

PIN, SPLIT (COTTER), 1/8" x 1"

4шт.

20

1278843C2

ROD

- push, left (No. 2 drum)

1шт.

20

87452C1

ROD

- push, right (No. 2 drum)

1шт.

21

20155R1

CLEVIS PIN,3/16" x .719"

PIN - headed, 3/16 x 3/32 inch

2шт.

22

432-1216

COTTER PIN,3/16" x 1"

Pin, Split (Cotter), 3/16" x 1"

2шт.

23

112726

COTTER PIN,1/16" x 1/2"

PIN, SPLIT (COTTER), 1/16" x 1/2"

2шт.

24

1288889C1

SUPPORT

BRACKET - valve (No. 2 and 3 drum)

2шт.

25

180077

BOLT,Hex, 5/16" - 18 x 3/4", Gr 5

- hex, 5/16 NC x 3/4 inch

4шт.

26

80681

LOCK WASHER,5/16"

WASHER, LOCK, 5/16"

4шт.

27

120376

NUT,5/16"-18, G5

4шт.

28

REF

INSTRUCTION

VALVE - height control (See Figure 8-38)

2шт.

29

18659R1

BOLT,Hex, 1/4" - 20 x 2", Gr 2

- hex, 1/4 NC x 2 inch

4шт.

Выбрано товаров: 35