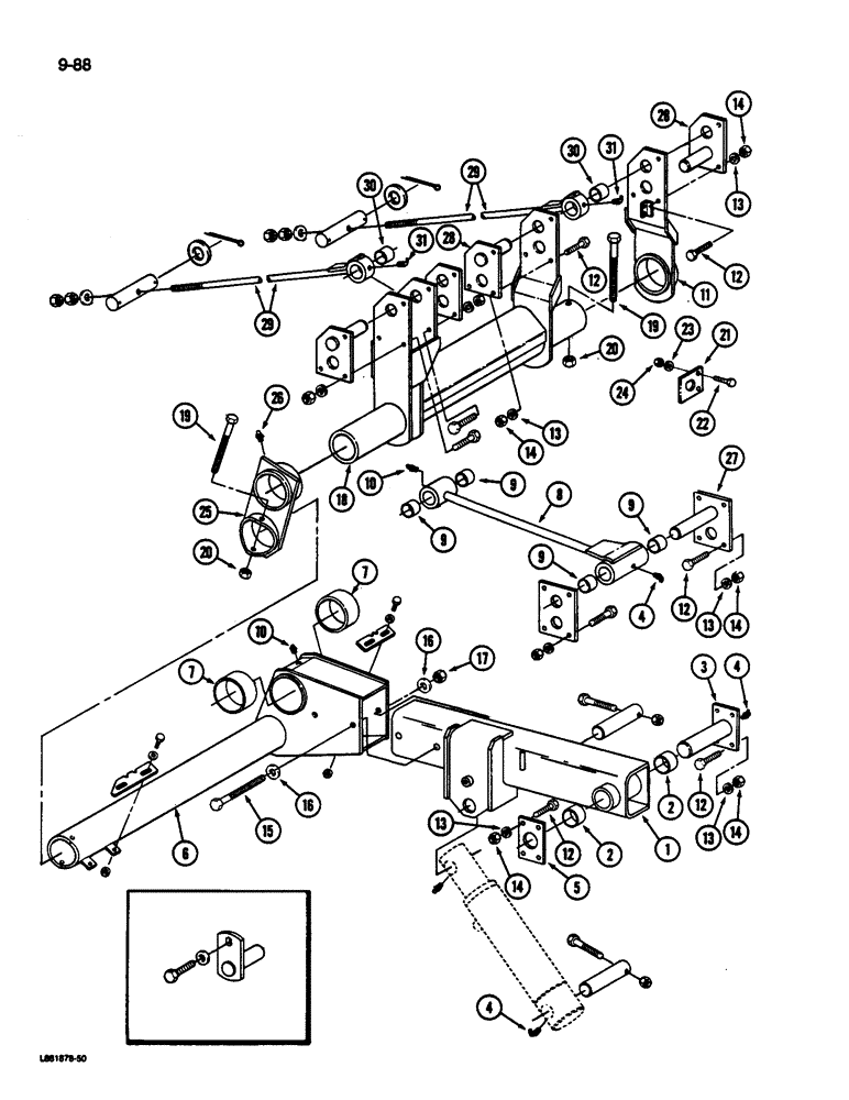
Запчасти Case IH 1844 (9-088) - DRUM LIFT ARM, 1844 COTTON PICKER (13) - PICKING SYSTEM

Схема запчастей Case IH 1844 - (9-088) - DRUM LIFT ARM, 1844 COTTON PICKER (13) - PICKING SYSTEM
23
13
16
3
14
9
9
13
22
14
2
24
16
4
5
17
14
21
10
10
4
14
31
11
18
2
12
19
20
30
27
25
29
8
31
13
30
19
26
12
29
12
28
1
14
13
4
7
12
7
15
9
13
9
12
28
6
20
FIT
1:1
100%

Артикул

Название

Примечание

Количество

1

87458C91

ARM

ASSEMBLY - lift, left (Replaces 1278466C91) (Includes Ref. No. 2)

1шт.

1

87459C91

ARM

ASSEMBLY - lift, right (Replaces 1278467C91) (Includes Ref. No. 2)

1шт.

2

669644R1

BUSHING

- arm

2шт.

3

221776C2

PIN

- arm

2шт.

4

332040

LUBE NIPPLE,90 Degree, 1/8" NPT x .84" lg

FITTING - 90 degree grease, 1/8 inch PT

1шт.

Not used with centralized chassis greasing system.

1шт.

5

221778C1

SUPPORT

PLATE - pin

2шт.

6

1339116C1

ARM ASSY.

ARM ASSEMBLY - front lift, left (Includes Ref. 7) (Replaces 1278299C92)

1шт.

6

1339117C1

ARM ASSY.

ARM ASSEMBLY - front lift, right (Includes Ref. 7) (Replaces 1278483C91)

1шт.

7

177751C1

BUSHING,101.7mm ID x 106.36mm OD x 38.1mm L

- arm

2шт.

8

1278289C92

STEM

ROD ASSEMBLY - radius, rear

2шт.

9

617924R1

BUSHING,41.3mm ID x 44.45mm OD x 44.7mm L

- arm

4шт.

10

109461

LUBE NIPPLE,1/8"-27 x .66 lg

NIPPLE, LUBE, , PT 1/8"-27 x .66 lg

4шт.

11

1278300C4

SUPPORT

- radius rod, left

1шт.

11

1339199C2

SUPPORT

- radius rod, right

1шт.

12

25346R1

BOLT,Hex, 5/8" - 11 x 5 1/2", Gr 8

- hex, 5/8 NC x 5-1/2 inch, Grade 8

2шт.

12

180177

BOLT,Hex, 1/2" - 13 x 1 1/2", Gr 5

- hex, 1/2 NC x 1-1/2 inch

1шт.

13

120384

WASHER,1/2"

LOCK, 1/2"

1шт.

13

25555R1

WASHER,17/32" x 1 1/4" x .188", HDN

- hardened

2шт.

14

9412231

NUT

- hex lock, 5/8 inch NC, Grade 8

2шт.

14

120378

NUT,Hex, 1/2" - 13, Gr 5

NUT, 1/2"-13, G5

1шт.

15

25702R1

BOLT,3/4" x 8, Gr 8

- hex, 3/4 NC x 8 inch, Grade 8

4шт.

16

NLS

NO LONGER SERVICED

- flat, 13/16 x 1-15/32 x 7/64 inch

8шт.

17

359793C1

NUT,3/4"-10, GC

- hex, 3/4 inch NC, Grade 8

4шт.

18

1278310C3

TUBE,815.17 mm Length

- torsion, left

1шт.

18

1278485C3

TUBE,815.17, 168.92 mm Length

- torsion, right

1шт.

19

25346R1

BOLT,Hex, 5/8" - 11 x 5 1/2", Gr 8

- hex, 5/8 NC x 8-1/2 inch, Grade 8

4шт.

20

9412231

NUT

- hex, 5/8 inch NC, Grade 8

4шт.

21

87156C2

LARGE PLATE

PLATE - harness

2шт.

22

413-412

BOLT,Hex, 1/4" - 20 x 3/4", Gr 5

2шт.

23

492-11025

LOCK WASHER,1/4"

WASHER, LOCK, 1/4"

2шт.

24

120375

NUT,Hex, 1/4" - 20, Gr 5

2шт.

25

1338704C1

ARM

- lift (Replaces 1278293C2)

2шт.

26

87414

LUBE NIPPLE,1/4" - 28

FITTING - grease, 1/4 inch

2шт.

27

1278360C1

SHAFT

- upper

2шт.

28

1278415C1

SHAFT

- upper, inner, right

2шт.

28

1338503C1

SHAFT

- upper, inner, left

2шт.

29

1278290C91

ROD ASSY.

ROD ASSEMBLY - radius, outer

2шт.

30

617924R1

BUSHING,41.3mm ID x 44.45mm OD x 44.7mm L

- rod

1шт.

31

332040

LUBE NIPPLE,90 Degree, 1/8" NPT x .84" lg

FITTING - 90 degree grease, 1/8 inch PT

2шт.

Used at inner position.

1шт.

31

80717

LUBE NIPPLE,45 Degree, 1/8" NPT x 7/8" lg

FITTING - 45 degree grease, 1/8 inch PT

2шт.

Выбрано товаров: 42