Запчасти Case IH 1844 (9-132) - QUICK FILL ATTACHMENT, 1844 COTTON PICKER (14) - WATER SYSTEM

Схема запчастей Case IH 1844 - (9-132) - QUICK FILL ATTACHMENT, 1844 COTTON PICKER (14) - WATER SYSTEM
4
4
2
6
15
10
3
5
11
12
8
9
14
3
1
7
13
16
FIT
1:1
100%

Артикул

Название

Примечание

Количество

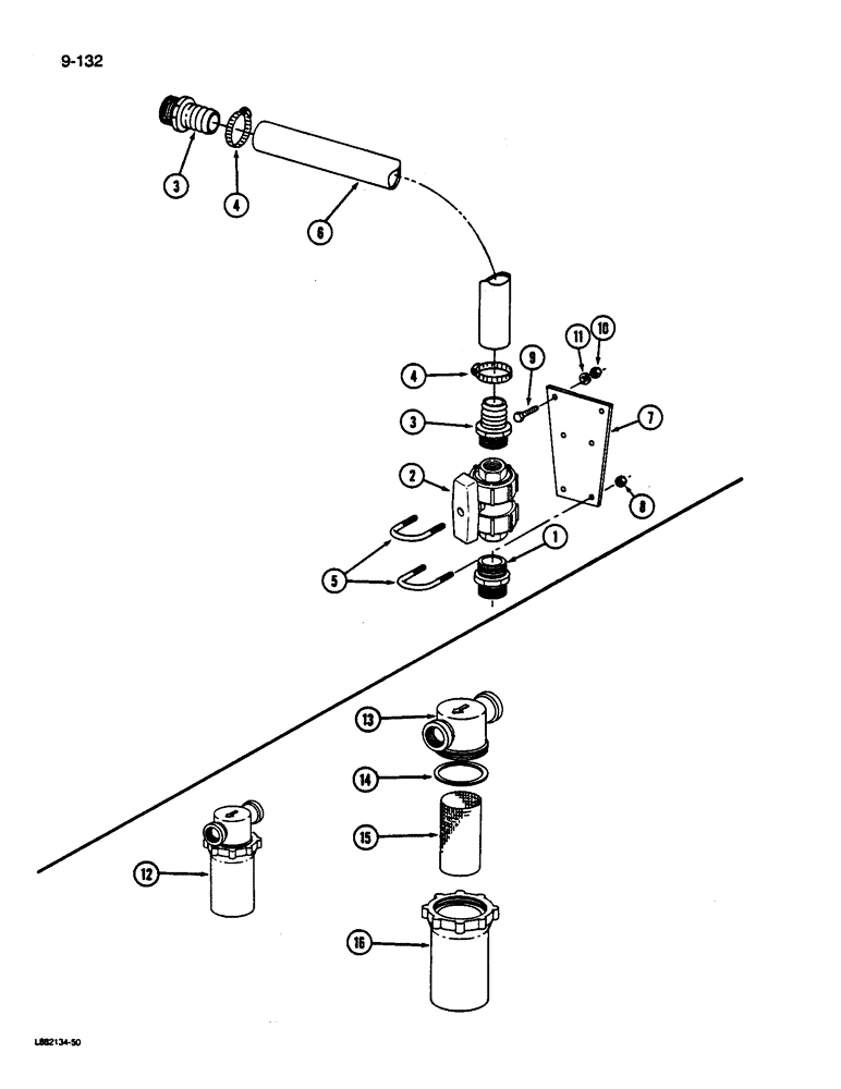
1

1264070C1

FITTING

NIPPLE - 1-1/4 x 1-1/4 inch

1шт.

2

1954828C1

VALVE, CHECK

VALVE ASSEMBLY - water (Replaces 1264073C1)

1шт.

3

1264072C1

FITTING

- 1-1/4 x 1-1/2 inch

2шт.

4

279024R91

HOSE CLAMP,#24, 1.06/2.00 Type F Worm

CLAMP - hose, No. 24, Type F

2шт.

5

87715C2

U-BOLT,U, 5/16" - 18 x 98mm

- 5/16 inch NC (Water valve)

2шт.

6

NSS

NOT SOLD SEPARAT

HOSE - water, 35-1/2 inch (Order 1264065C1 and, Serial Range: cut-length)

1шт.

1264065C1

HOSE

- 100 foot roll

1шт.

7

1270237C1

PLATE

- water valve support

1шт.

8

120376

NUT,5/16"-18, G5

4шт.

9

180122

BOLT,Hex, 3/8" - 16 x 1", Gr 5

- hex, 3/8 NC x 1 inch

2шт.

10

120377

NUT,3/8" - 16, Gr 5

2шт.

11

120382

LOCK WASHER,Helical Spring, 3/8"

WASHER, LOCK, 3/8"

2шт.

12

87006C92

FILTER

ASSEMBLY - water, Includes: Ref. 13 - 16

1шт.

13

NSS

NOT SOLD SEPARAT

BASE - water filter (Order 87006C92)

1шт.

14

87225C1

GASKET

- line strainer, water filter

1шт.

15

87260C1

FILTER SCREEN

SCREEN, water

1шт.

16

NSS

NOT SOLD SEPARAT

BOWL - water filter (Order 87006C92)

1шт.

Выбрано товаров: 17