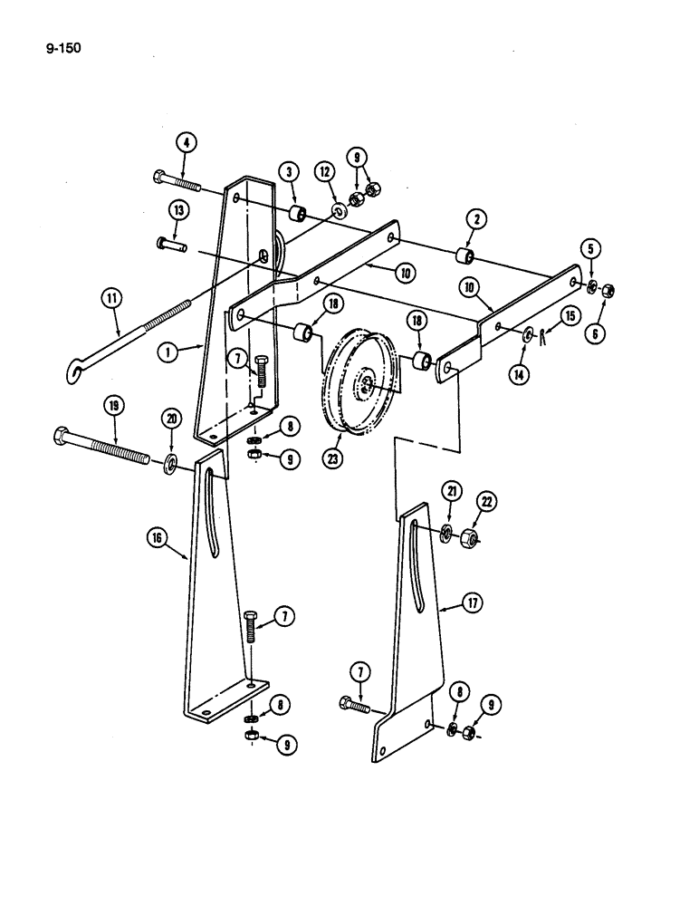
Запчасти Case IH 1844 (9-150) - FRONT FAN IDLER PULLEY LINKAGE, 1844 COTTON PICKER (15) - HANDLING SYSTEM

Схема запчастей Case IH 1844 - (9-150) - FRONT FAN IDLER PULLEY LINKAGE, 1844 COTTON PICKER (15) - HANDLING SYSTEM
8
10
1
13
5
8
9
10
9
14
9
9
15
21
16
7
22
23
18
4
17
2
3
11
18
19
7
12
20
6
7
8
FIT
1:1
100%

Артикул

Название

Примечание

Количество

1

1262948C1

SUPPORT

- idler pivot

1шт.

2

573713R1

SPACER,3/4" Tube x 11/16"

- pivot

1шт.

3

210166C1

SPACER

- pivot

1шт.

4

180185

BOLT,Hex, 1/2" - 13 x 2 1/2", Gr 5

- hex, 1/2 NC x 2-1/2 inch

1шт.

5

120384

WASHER,1/2"

LOCK, 1/2"

1шт.

6

120378

NUT,Hex, 1/2" - 13, Gr 5

NUT, 1/2"-13, G5

1шт.

7

180122

BOLT,Hex, 3/8" - 16 x 1", Gr 5

- hex, 3/8 NC x 1 inch

6шт.

8

120382

LOCK WASHER,Helical Spring, 3/8"

WASHER, LOCK, 3/8"

6шт.

9

120377

NUT,3/8" - 16, Gr 5

8шт.

10

1262945C1

SUPPORT

- idler pivot

2шт.

11

101617C1

BOLT

BOLT- adjusting

1шт.

12

25553R1

WASHER,13/32" x 1 1/8" x .134", HDN

- flat, 13/32 x 1-1/8 x 9/64 inch

1шт.

13

22900R1

HEADED PIN

PIN - headed, 3/8 x 1-1/4 inch

1шт.

14

120388

- flat, 7/16 x 1 x 1/16 inch

1шт.

15

648002

KNIFE

1/8" x 3/4"

1шт.

16

1260076C2

SUPPORT

- idler, front

1шт.

17

1260077C1

SUPPORT

- idler, rear

1шт.

18

650283R2

SPACER

- idler

1шт.

19

413-1072

BOLT,Hex, 5/8" - 11 x 4-1/2", Gr 5

- hex, 5/8 NC x 4-1/2 inch

1шт.

20

NLS

NO LONGER SERVICED

- flat, 21/32 x 1-5/16 x 5/64 inch

4шт.

21

492-11062

BEARING WASHER,5/8"

WASHER, LOCK, 5/8"

1шт.

22

280374

NUT,Hex, 5/8" - 11, Gr 5

- hex, 5/8 inch NC

1шт.

23

REF

INSTRUCTION

PULLEY - idler, 5-3/4 inch (See Page 9-149)

1шт.

Выбрано товаров: 23