Запчасти Case IH 1844 (6-18) - PROPULSION CONTROLS, 1844 COTTON PICKER (03) - POWER TRAIN

Схема запчастей Case IH 1844 - (6-18) - PROPULSION CONTROLS, 1844 COTTON PICKER (03) - POWER TRAIN
16
6
43
17
14
42
31
27
19
41
15
23
37
10
35
15
46
44
42
34
33
11
24
25
1
32
39
18
26
11
20
12
4
13
7
21
14
5
45
28
3
22
28
41
29
8
30
40
40
36
2
9
38
FIT
1:1
100%

Артикул

Название

Примечание

Количество

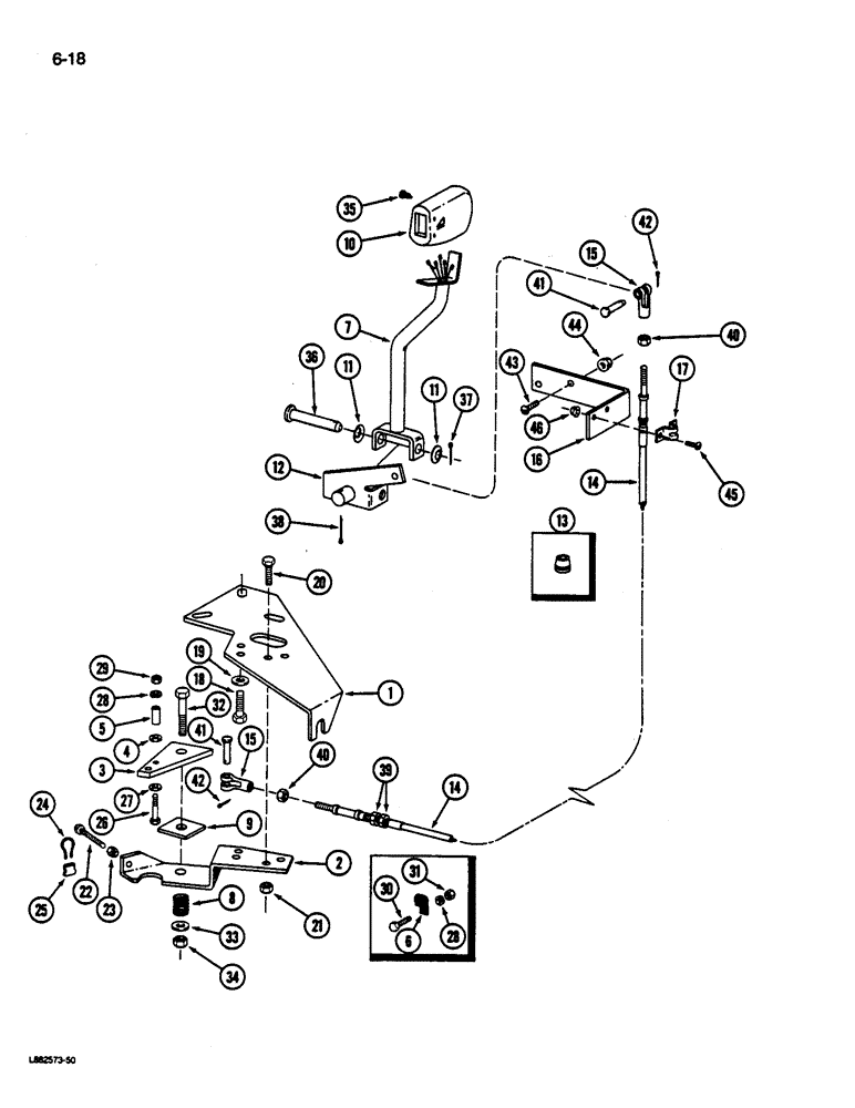
1

1270009C1

SUPPORT

- cable

1шт.

2

1270011C1

SUPPORT

- lever

1шт.

3

219716C1

BAR

LEVER - pump

1шт.

4

25707R1

WASHER,.281" x 5/8" x .075", HDN

- flat, hardened

1шт.

5

U13039

SPACER

- pipe

1шт.

6

98959R1

CLAMP

- cable (Replaces 98959R1)

1шт.

7

245981C1

COVER

LEVER - propulsion

1шт.

8

M74376

SPRING

- return

1шт.

9

674599R2

FRICTION WASHER

- special

1шт.

10

1301180C92

HANDLE

- control

1шт.

11

366613R1

SPRING

WASHER - friction

2шт.

12

1267441C1

SUPPORT ASSY.

SUPPORT - lever

1шт.

13

198824C1

GROMMET,12.7mm ID x 41.1mm OD x 26.9mm Thk

- cable

1шт.

14

1329384C1

CABLE

- control (Replaces 1285277C1)

1шт.

15

144242

CLEVIS

- cable

2шт.

16

193281C1

ANGLE

- cable mounting

1шт.

17

195593C1

CLAMP

- cable

1шт.

18

113-363

BOLT,Hex, 7/16" - 14 x 1-1/8", Gr 5, Full Thd

- hex, 7/16 NC x 1-1/8 inch

3шт.

19

496-21047

WASHER

- flat, 15/32 x 59/64 x 3/64 inch

3шт.

20

113-207

BOLT,Hex, 3/8" - 16 x 1", Gr 5

2шт.

21

120377

NUT,3/8" - 16, Gr 5

2шт.

22

219618C2

BOLT

BOLT - hex drilled 5/16 NC x 2-1/4 inch

1шт.

23

124824

NUT,Hex, 5/16" - 18

- hex jam, 5/16 inch NC

1шт.

24

678026C1

ELECTRICAL WIRE

WIRE - lock

1шт.

25

678027C1

SEAL

- lock

1шт.

26

180046

SPRING

- hex, 1/4 NC x 2-1/4 inch

1шт.

27

120392

WASHER,1/4", SAE

- flat, 5/16 x 47/64 x 3/64 inch

1шт.

28

492-11025

LOCK WASHER,1/4"

WASHER, LOCK, 1/4"

2шт.

29

86625061

NUT,1/4"-20, GB

NUT - hex, 1/4 inch NC

1шт.

30

113-4

BOLT,Hex, 1/4" - 20 x 1", Gr 5

1шт.

31

120375

NUT,Hex, 1/4" - 20, Gr 5

1шт.

32

180188

BOLT,Hex, 1/2" - 13 x 2 3/4", Gr 5

- hex, 1/2 NC x 2-3/4 inch

1шт.

33

178375R1

WASHER

- flat, 25/32 x 1-1/8 x 3/64 inch

1шт.

34

9413967

LOCK NUT,1/2"-13, GB

NUT - hex, 1/2 inch NC

1шт.

35

28002R1

HEX SOC SCREW,#6 - 32 x 1/2"

SCREW - tapping, No. 6 x 1/2 inch

3шт.

36

28258R1

CLEVIS PIN,1/2" x 3 7/16'"

PIN - clevis, 1/2 x 3-7/16 inch

1шт.

37

137185

COTTER PIN,1/8" x 1"

PIN, SPLIT (COTTER), 1/8" x 1"

1шт.

38

87395

COTTER PIN,1/8" OD x 1-1/4" OAL

PIN, SPLIT (COTTER), 1/8" x 1-1/4"

1шт.

39

124920

JAM NUT,Jam, 5/16"-24, G5

2шт.

40

120368

NUT,5/16"-24, G5

2шт.

41

427-5094

CLEVIS PIN,7.92mm OD x 23.88mm L

PIN - clevis, 5/16 x 15/16 inch

2шт.

42

121222

COTTER PIN,3/32" x 3/4"

PIN, SPLIT (COTTER), 3/32" x 3/4"

2шт.

43

135270

SERRATED SCREW,5/16" - 18 x 3/4"

- slotted, 5/16 NC x 3/4 inch

2шт.

44

938017R1

FLANGE NUT,Flg, USR, 5/16"-18

- hex, 5/16 inch NC

2шт.

45

937875R1

SCREW,Serr, 1/4" - 20

- slotted, 1/4 NC x 3/4 inch

2шт.

46

938016R1

FLANGE NUT,Flg, USR, 1/4"-20

- hex, 1/4 inch NC

2шт.

Выбрано товаров: 46