Запчасти Case IH 1844 (6-28) - HYDROSTATIC PUMP, 1844 COTTON PICKER (03) - POWER TRAIN

Схема запчастей Case IH 1844 - (6-28) - HYDROSTATIC PUMP, 1844 COTTON PICKER (03) - POWER TRAIN
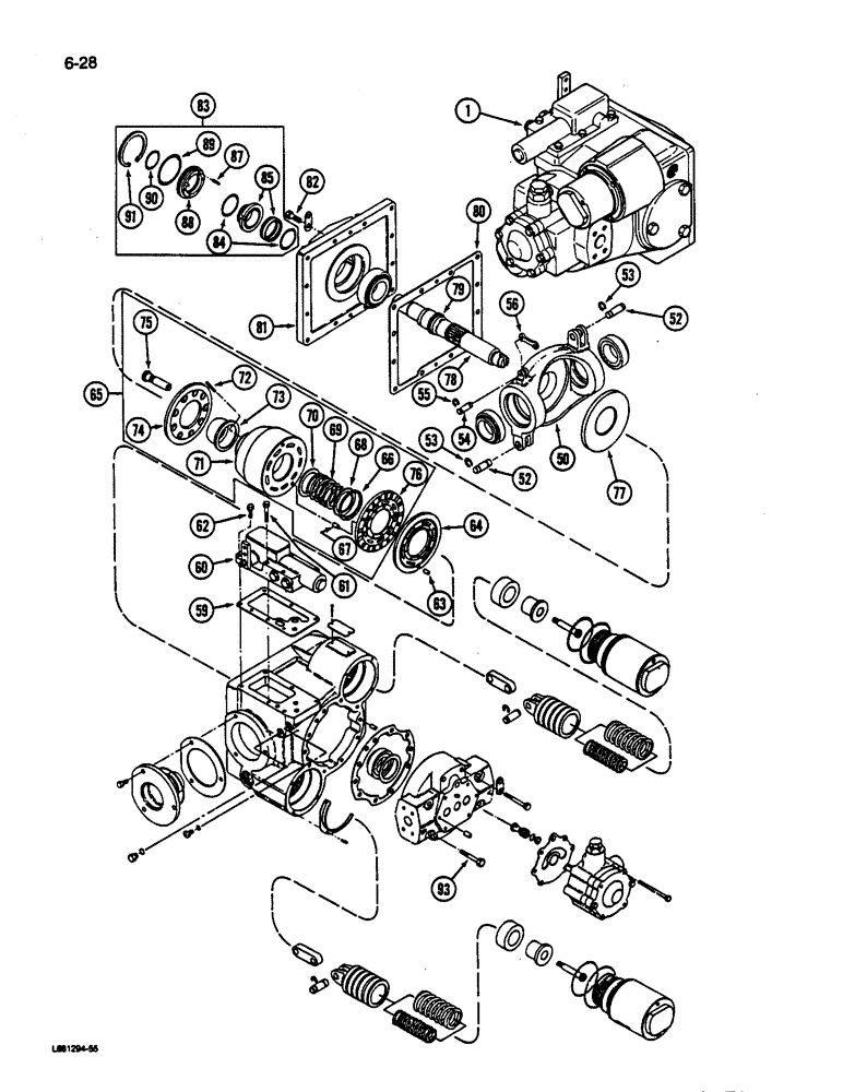
60
50
70
90
78
56
53
79
83
65
75
64
59
85
67
61
88
93
1
62
55
69
71
52
53
74
81
77
72
68
76
87
80
63
54
66
91
52
84
73
82
89
FIT
1:1
100%

Артикул

Название

Примечание

Количество

1

REF

INSTRUCTION

PUMP ASSEMBLY - hydrostatic, new

1шт.

50

80365C1

HOUSING

PLATE - swash

1шт.

52

140766C1

PIN,14.22mm OD x 39.12mm L

- linkage

2шт.

53

28145R1

SNAP RING,#56, Ext

Ring, Snap, #56, Ext

4шт.

54

140765C1

PIN

- link

1шт.

55

875777R1

SNAP RING,#25, Ext

Ring, Snap, #25, Ext

2шт.

56

142402C1

LINK

- valve

1шт.

59

133756C1

GASKET

- valve

1шт.

60

REF

INSTRUCTION

VALVE ASSEMBLY - control (See Page 6-37)

1шт.

61

179824

BOLT,Hex, 5/16" - 18 x 1 3/4", Gr 5

2шт.

62

179818

BOLT,Hex, 5/16" - 18 x 1", Gr 5

4шт.

63

140754C1

PIN

- dowel, 5/16 x 5/8 inch

1шт.

64

224668C1

PLATE

- valve

1шт.

65

142392C92

KIT

- rotating group

1шт.

66

NSS

NOT SOLD SEPARAT

RING - retaining (Order 142392C92)

1шт.

67

140754C1

PIN

- dowel, 5/16 x 5/8 inch

2шт.

68

NSS

NOT SOLD SEPARAT

SPACER - spring (Order 142392C92)

1шт.

69

NSS

NOT SOLD SEPARAT

SPRING - barrel (Order 142392C92)

1шт.

70

NSS

NOT SOLD SEPARAT

SPACER - spring (Order 142392C92)

1шт.

71

NSS

NOT SOLD SEPARAT

BARREL - cylinder (Order 142392C92)

1шт.

72

142394C1

PIN

- dowel

6шт.

73

NSS

NOT SOLD SEPARAT

GUIDE - plate (Order A142392C92)

1шт.

74

NSS

NOT SOLD SEPARAT

PLATE - retainer (Order 142392C92)

1шт.

75

142393C1

PISTON ASSY.

PISTON - cylinder

9шт.

76

142395C1

PLATE

- bearing

1шт.

77

80369C1

PLATE

- thrust

1шт.

78

1272046C1

SHAFT

- drive

1шт.

79

NSS

NOT SOLD SEPARAT

RING - snap (Order 1272046C1)

1шт.

80

142399C1

GASKET

- mounting

1шт.

81

NSS

NOT SOLD SEPARAT

FLANGE - mounting (Order 1272030C92)

1шт.

82

179860

BOLT,Hex, 7/16" - 14 x 1 1/4", Gr 5

- hex, 7/16 NC x 1-1/4 inch

12шт.

83

142518C92

PACKAGE

KIT - seal

1шт.

84

22278R1

O-RING,0.103" Thk x 1.674" ID, -131, Cl 5, 75 Duro

- shaft, 1-11/16 x 1-7/8 x 3/32 inch

1шт.

85

NSS

NOT SOLD SEPARAT

SEAL - shaft (Order 142518C92)

1шт.

87

NSS

NOT SOLD SEPARAT

SPRING - seal (Order 142518C92)

6шт.

88

NSS

NOT SOLD SEPARAT

RETAINER - seal (Order 142518C92)

1шт.

89

383017R1

O-RING,0.103" Thk x 2.55" ID, -145, Cl 5, 75 Duro

- 2-9/16 x 2-3/4 x 3/32 inch

1шт.

90

24472R1

O-RING,0.07" Thk x 1.334" ID, -28, Cl 6, 90 Duro

- 1-3/8 x 1-1/2 x 1/16 inch

1шт.

91

606937C1

SNAP RING,2.835", Int, #281

Ring, Snap, 2.835", Int, #281

1шт.

93

179866

BOLT,Hex, 7/16" - 14 x 2", Gr 5

2шт.

Выбрано товаров: 40