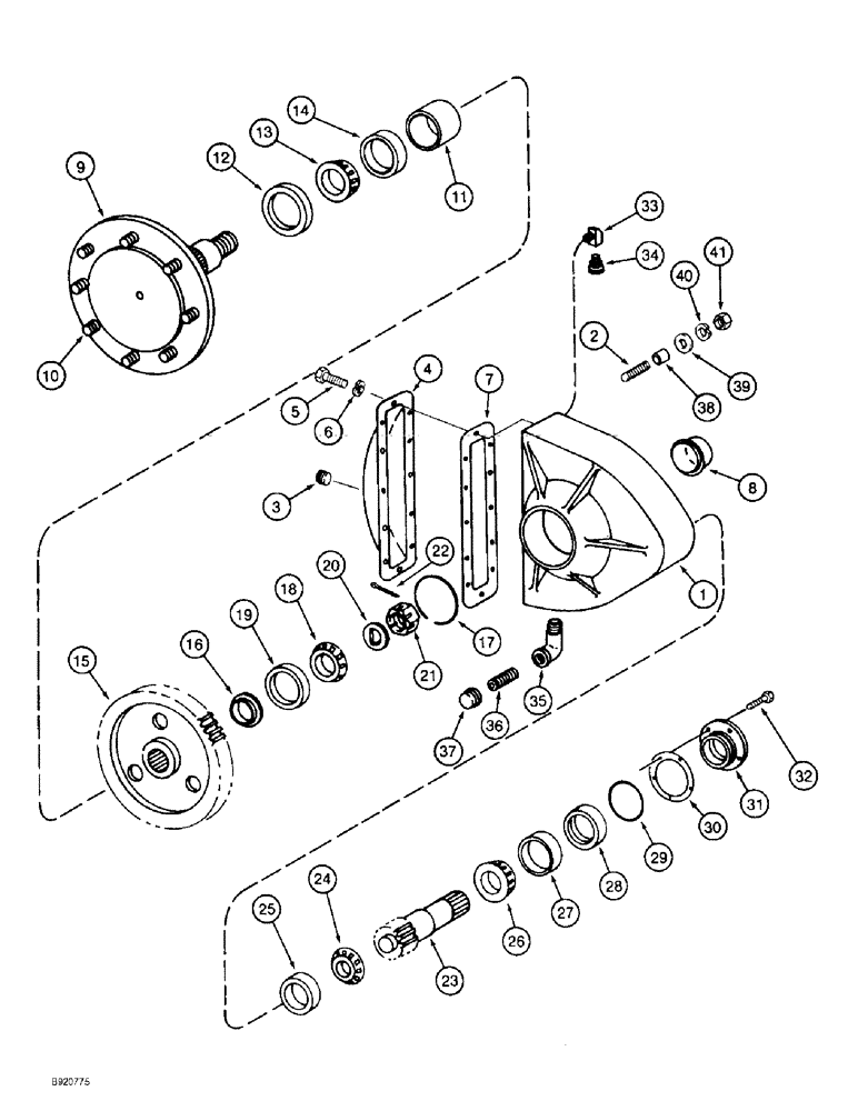
Запчасти Case IH 2022 (6-52) - FINAL DRIVE, 2022 COTTON PICKER (03) - POWER TRAIN

Схема запчастей Case IH 2022 - (6-52) - FINAL DRIVE, 2022 COTTON PICKER (03) - POWER TRAIN
10
37
38
24
22
8
32
1
35
23
4
2
33
14
18
28
7
5
11
31
12
27
39
16
30
40
29
3
13
21
41
6
17
20
26
9
25
34
36
19
15
FIT
1:1
100%

Артикул

Название

Примечание

Количество

1276910C93

DRIVE ASSY.

DRIVE ASSEMBLY - final, left-hand

1шт.

1276911C93

DRIVE ASSY.

DRIVE ASSEMBLY - final, right-hand

1шт.

1

1277167C1

HOUSING

- drive, left-hand

1шт.

1

1277168C1

HOUSING

- drive, right-hand

1шт.

2

1277171C1

STUD

- housing mounting

7шт.

3

217-442

PLUG,3/4" - 14

- hex socket, 3/4 inch PT (Replaces plug 444595)

1шт.

4

587078R91

PAN ASSY.

COVER - housing

1шт.

5

413-612

BOLT,Hex, 3/8" - 16 x 3/4", Gr 5

12шт.

6

92-11038

LOCK WASHER,3/8"

WASHER, LOCK, 3/8"

12шт.

7

184229C2

GASKET

GASKET - cover

1шт.

8

107622C3

BEARING CAP,92.4 mm ID x 114.3 mm OD x 45.7 mm

- driveshaft inner bearing

1шт.

9

184027C1

SHAFT

- drive

1шт.

10

565130R3

BOLT,3/4" - 16 x 2 5/8", Class 8

- wheel

8шт.

11

64747C1

BUSHING,82.6 mm ID x 92.2 mm OD x 50 mm

- shaft, outer

1шт.

12

59881C1

OIL SEAL,96.14mm ID x 133.5mm OD x 11.89mm Thk

- outer

1шт.

13

1997115C1

TAPERED BEARING,82.575 mm ID x 39.738 mm

BEARING - tapered roller, 3-1/4 inch ID (Replaces bearing 63461C91)

1шт.

14

160301R1

BEARING ASSY,133.35mm OD x 32.55mm W

CUP - tapered roller bearing, 5-1/5 inch OD

1шт.

15

107628C1

GEAR

- final drive, 69 tooth

1шт.

16

107626C1

SPACER

- gear inner

1шт.

17

107625C1

RING

- snap

1шт.

18

298033R91

TAPERED BEARING,53.98mm ID x 36.51mm W

CONE - tapered roller bearing, 2-1/8 inch ID

1шт.

19

107624C1

BEARING CUP,104.78mm OD x 28.57mm W

CUP - bearing shaft, 4-1/8 inch OD

1шт.

20

404076R1

WASHER

- final drive shaft

1шт.

21

1975476C1

SLOTTED NUT

- hex, shaft retaining

1шт.

22

432-832

COTTER PIN,1/8" x 2"

1/8" x 2"

1шт.

23

1276980C1

SHAFT

- pinion, 13 tooth

1шт.

24

50212VA

ROLLER BEARING,33.35mm ID x 24.01mm W

BEARING - tapered roller, 1-5/16 inch ID

1шт.

25

50213V

BEARING CUP

CUP - tapered roller bearing, 2-3/4 inch OD

1шт.

26

56934D

ROLLER BEARING,2.1663" ID x 3.8125" OD x 0.8268"

- tapered roller, 2-3/16 inch ID

1шт.

27

105497H

BEARING CUP,96.85mm OD x 15.77mm W

CUP - bearing shaft, 3-13/16 inch OD

1шт.

28

64749C1

SEAL,53.1mm ID x 80mm OD x 10mm Thk

- oil

1шт.

29

238-5238

O-RING,0.139" Thk x 3.484" ID, -238, Cl 5, 75 Duro

1шт.

30

405627R1

SHIM

- adapter housing, 0.003 inch thick

1шт.

30

376467R1

SHIM

- adapter housing, 0.007 inch thick

1шт.

31

64750C2

CAGE

- seal

1шт.

32

26315R1

BOLT,Hex, 7/16" - 14 x 1 1/4", Gr 8

- hex, 7/16 NC x 1-1/8 inch, grade 8

5шт.

33

217-20

ELBOW,90 Degree, 1/8"-28 NPTF, Fem x 1/8"-27 NPTF Male

Street (Replaces elbow 9409931) 90º, 1/8"-28 NPTF, Fem x 1/8"-27 NPTF Male

1шт.

34

219-434

BREATHER,1/8" - 27 NPT, Short, W/ Washer

VALVE - vent, includes felt washer, 1/8 PT x 1 inch

1шт.

35

141621

ELBOW,90 Degree, 3/4" NPT Street

- 90 degree, 3/4 male x 3/4 PT female

1шт.

36

221-211

PIPE,Nipple, 3/4" NPT x 1 3/8"

NIPPLE - straight, 3/4 PT x 1-3/8 inch PT (Replaces nipple 92470)

1шт.

37

119102

CAP,3/4" NPT

- pipe, 3/4 inch pipe PT

1шт.

38

1342531C1

BUSHING

- housing

4шт.

39

396-31081

WASHER,20.63mm ID x 38.1mm OD x 5.56mm Thk

14шт.

40

492-11075

LOCK WASHER,3/4"

3/4"

14шт.

41

329-1012

NUT,3/4"-10, G8

14шт.

Выбрано товаров: 0