Запчасти Case IH 2022 (5-34) - STEERING AXLE BOLSTER (04) - STEERING

Схема запчастей Case IH 2022 - (5-34) - STEERING AXLE BOLSTER (04) - STEERING
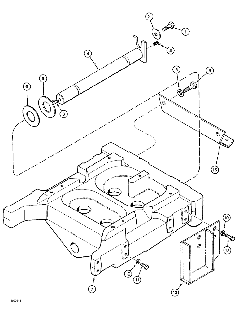
7
6
1
2
9
5
12
10
13
3
15
10
11
4
3
8
FIT
1:1
100%

Артикул

Название

Примечание

Количество

1

806-12030

BOLT,Hex, M12 x 1.75 x 30mm, Cl 10.9

- hex, 12 x 30 mm, class 10.9 (Replaces bolt 30225R1)

1шт.

2

101936C2

WASHER

- flat, hardened, special, pivot, Serial Range: pin-front

1шт.

3

219-41

LUBE NIPPLE,65 Degree Elbow, 1/8" - 27 NPTF

NIPPLE, LUBE, 65º, 1/8" NPT x 1.20" lg

2шт.

4

1348230C1

PIVOT PIN,49.95mm OD x 530mm L

PIN - pivot, front axle

1шт.

5

A177855

SEALING WASHER,50.3mm ID x 90mm OD x 4.9mm Thk

thrust, axle pivot

2шт.

6

A177854

WASHER,50.3mm ID x 90mm OD x 1.6mm Thk

flat, front axle pivot

1шт.

7

137316A1

SUPPORT ASSY.

BOLSTER - steering (Replaces bolster A185918)

1шт.

8

892-16020

LOCK WASHER,M20, Hvy

- lock, heavy, 20 mm

6шт.

9

626-20040

BOLT,Hex, M20 x 2.5 x 40mm, Cl 10.9, Full Thd

- hex, full threads, 20 - 2.5 x 40 mm, class 10.9

6шт.

10

892-16016

LOCK WASHER,M16, Hvy

- lock, 16 mm

16шт.

11

627-16050

BOLT,Hex, M16 x 2 x 50mm, Cl 10.9, Full Thd

8шт.

12

627-16060

BOLT,Hex, M16 x 2 x 60mm, Cl 10.9, Full Thd

8шт.

13

1990387C1

SUPPORT

BRACKET - axle sway, left- hand

1шт.

14

1990388C1

SUPPORT

BRACKET - axle sway, right-hand, not shown

1шт.

15

1994761C1

SUPPORT

GUARD - steering line, used on 2022 Cotton Picker only

1шт.

Выбрано товаров: 0