Запчасти Case IH 2022 (4-42) - PROPULSION CONTROL HANDLE (06) - ELECTRICAL SYSTEMS

Схема запчастей Case IH 2022 - (4-42) - PROPULSION CONTROL HANDLE (06) - ELECTRICAL SYSTEMS
2
4
1
3
FIT
1:1
100%

Артикул

Название

Примечание

Количество

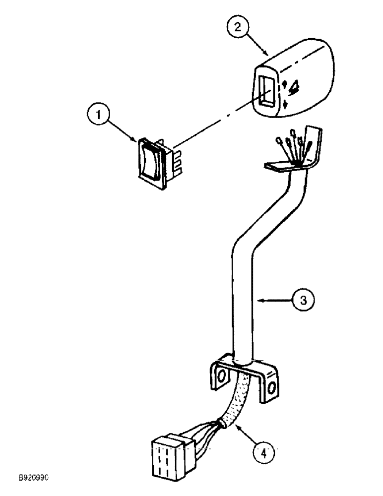
1

91928C1

SWITCH

- master drum

1шт.

2

1301180C92

HANDLE

- control, see page 6-23

1шт.

3

245981C3

LEVER ASSY.

LEVER ASSEMBLY - propulsion (Replaces lever assembly 245981C2)

1шт.

4

NSS

NOT SOLD SEPARAT

HARNESS - order lever assembly 245981C3

1шт.

Выбрано товаров: 0