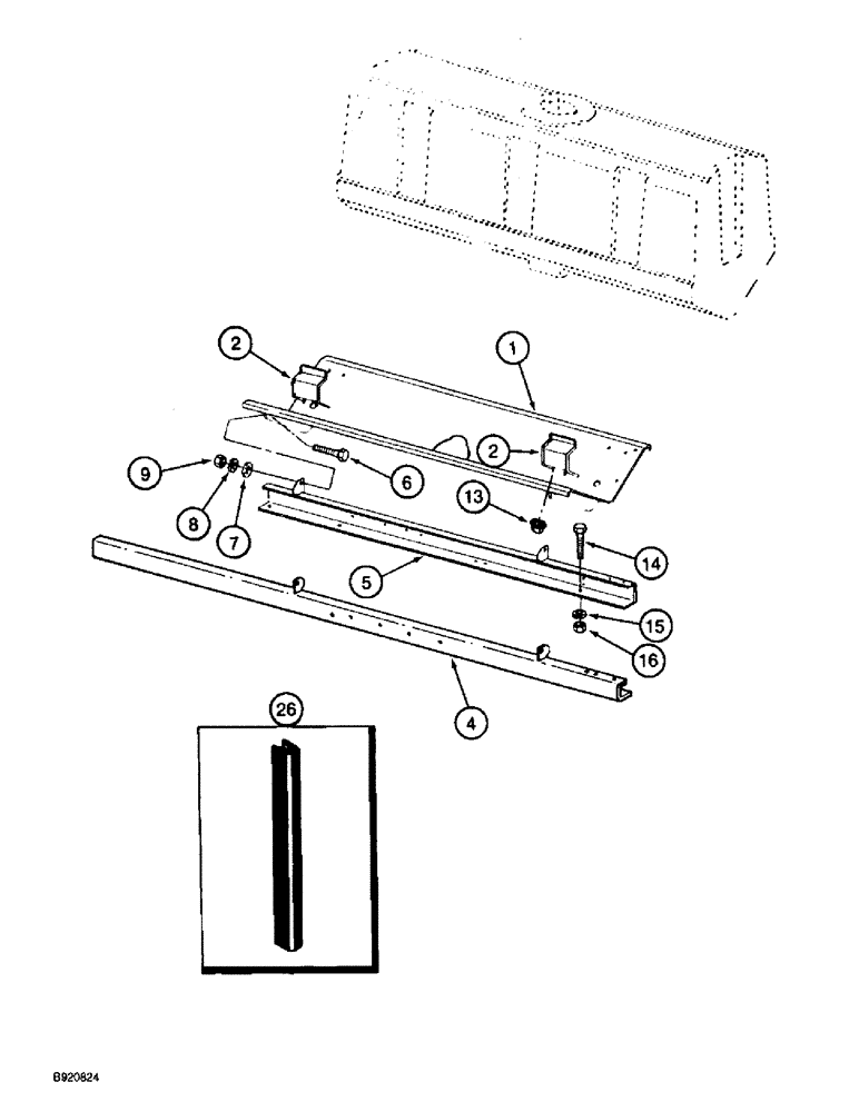
Запчасти Case IH 2022 (9B-06) - WATER TANK SUPPORT, 2022 COTTON PICKER (14) - WATER SYSTEM

Схема запчастей Case IH 2022 - (9B-06) - WATER TANK SUPPORT, 2022 COTTON PICKER (14) - WATER SYSTEM
15
16
5
2
7
6
13
9
26
4
14
8
2
1
FIT
1:1
100%

Артикул

Название

Примечание

Количество

1

1339484C1

SUPPORT

SADDLE - tank

1шт.

2

1329232C1

SUPPORT

BRACKET - tank retaining

4шт.

4

1990020C1

SUPPORT

- water tank, front

1шт.

5

1278773C3

SUPPORT

- water tank, rear

1шт.

6

413-620

BOLT,Hex, 3/8" - 16 x 1-1/4", Gr 5

- hex, 3/8 NC x 1-1/4 inch

4шт.

7

495-11041

WASHER,0.406" ID x 0.812" OD x 0.065" W

(Flat, 13/32 x 13/16 x 1/16") 3/8", SAE

8шт.

8

492-11038

LOCK WASHER,3/8"

4шт.

9

425-106

NUT,3/8"-16, Cl 5

4шт.

13

231-5146

FLANGE NUT,3/8"-16

8шт.

14

413-820

BOLT,Hex, 1/2" - 13 x 1-1/4", Gr 5

- hex, 1/2 NC x 1-1/4 inch

4шт.

15

80679

LOCK WASHER,1/20.507 CST ZND

WASHER, LOCK, 1/2"

4шт.

16

425-108

NUT,1/2" - 13, Gr 5

NUT, , Hex 1/2"-13, G5

4шт.

26

NSS

NOT SOLD SEPARAT

TRIM - edge, water tank support, 26 inch (660 mm) long, cut from bulk stock 1330108CX below

1шт.

1330108CX

SEAL,304.8mm L

TRIM - bulk, edge, 600 inch (15240 mm) long

1шт.

Выбрано товаров: 14