Запчасти Case IH 2022 (2-44) - OIL PUMP AND OIL PAN, 6TA-590 ENGINE (01) - ENGINE

Схема запчастей Case IH 2022 - (2-44) - OIL PUMP AND OIL PAN, 6TA-590 ENGINE (01) - ENGINE
2
8
13
4
16
12
7
14
5
9
11
1
10
3
6
15
FIT
1:1
100%

Артикул

Название

Примечание

Количество

JR918212

REMAN-ENG OIL PUMP

PUMP ASSEMBLY - oil, remanufactured, North America only, no longer available, order remanufactured assembly JR926203

1шт.

JC918212

CORE-HYDRAULIC PUMP

RETURN NUMBER - use this part number to return pump core for credit when using a remanufactured assembly, no longer used

1шт.

JR926203

REMAN-ENG OIL PUMP

PUMP ASSEMBLY - oil, remanufactured, no longer available

1шт.

JR930337

REMAN-ENG OIL PUMP

PUMP ASSEMBLY - oil, remanufactured, component parts shown on this page do not apply to the remanufactured assembly

1шт.

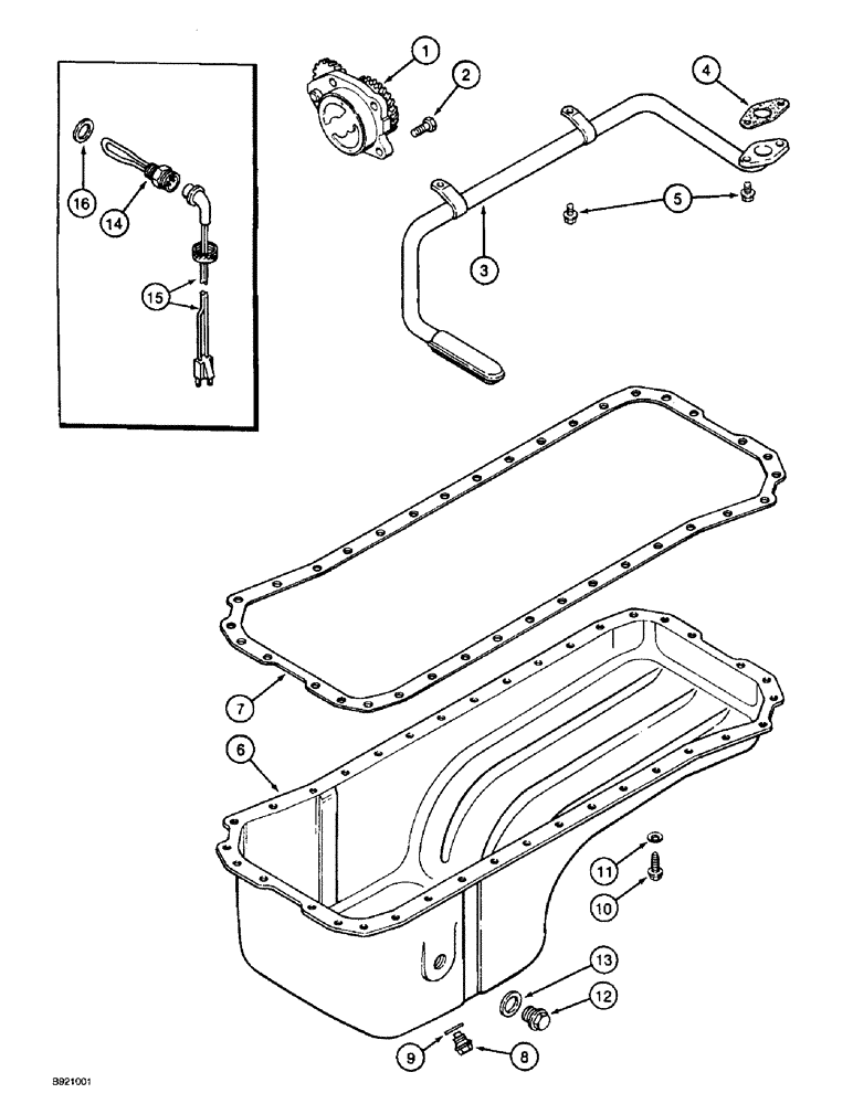
1

J930337

PUMP, ENGINE OIL

PUMP ASSEMBLY - engine oil, new (Replaces pump assemblies J926203 and J918212)

1шт.

1

J918212

PUMP, ENGINE OIL

PUMP ASSEMBLY - engine oil, new, no longer available, order pump assembly J930337

1шт.

2

614-8030

BOLT,Hex, M8 x 1.25 x 30mm, Cl 8.8, Full Thd

HH, CL 8.8, M8 x 1.25 x 30

4шт.

3

J921992

TUBE,25.4 mm OD x 359, 234 mm L

TUBE - oil suction (Replaces tube J918268)

1шт.

4

J914383

GASKET

- mounting, oil suction tube

1шт.

See Figure Note.

1шт.

5

845-8016

BOLT,Hvy Hex, M8 x 16mm, Cl 8.8

- heavy hex flange, 8 - 1.25 x 16 mm

3шт.

6

J915703

PAN, ENGINE OIL

PAN - oil, engine

1шт.

7

NSS

NOT SOLD SEPARAT

GASKET - oil pan, order A77676 kit shown below

1шт.

See Figure Note.

1шт.

8

J924147

PLUG,M18 x 1.5

- drain, oil, magnetic, 18 mm (Replaces plug J911638)

1шт.

9

J920773

SEALING WASHER

WASHER - sealing, drain plug

1шт.

See Figure Note.

1шт.

10

J920400

FLANGE BOLT,Hex, M8 x 1.25 x 21mm, Gr 8.8

SCREW - hex flange cap, special, 8 - 1.25 x 25 mm

36шт.

11

J910266

LOCK WASHER

- Belleville spring, oil pan bolt (Replaces washer J907537)

36шт.

12

J924148

PLUG,M22 x 1.5

- pipe, heater hole, 18 mm (Replaces plug J904386)

1шт.

13

J902425

SEALING WASHER,22.2mm ID x 26.9mm OD x 1.75mm Thk

- sealing, plug

1шт.

A77676

GASKET KIT

KIT - gasket, oil pan

1шт.

See Figure Note.

1шт.

A77490

KIT

- heater, engine oil (See Note)

1шт.

14

NSS

NOT SOLD SEPARAT

ELEMENT - heater, order kit A77490

1шт.

15

196466A1

ELECTRIC CABLE

CABLE - engine block heater (Replaces cable J905113) OIL

1шт.

16

J902425

SEALING WASHER,22.2mm ID x 26.9mm OD x 1.75mm Thk

- sealing, plug ENGINE OIL HEATER

1шт.

Выбрано товаров: 27