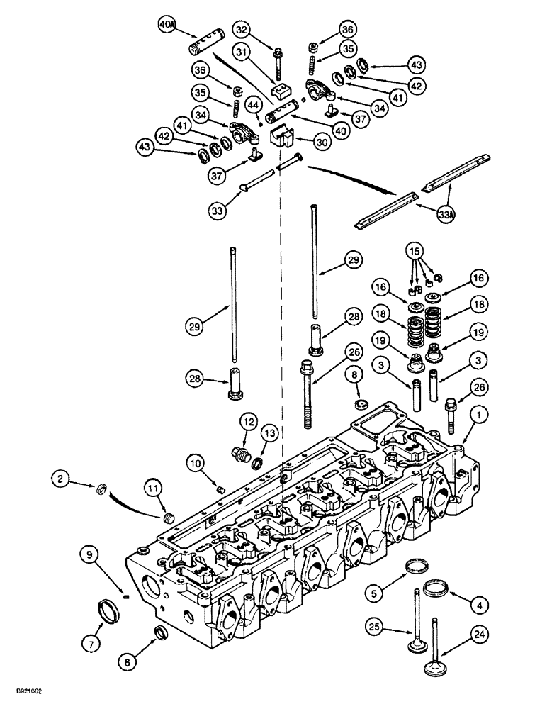
Запчасти Case IH 2022 (2-56) - CYLINDER HEAD AND VALVE MECHANISM, 6TA-830 ENGINE (01) - ENGINE

Схема запчастей Case IH 2022 - (2-56) - CYLINDER HEAD AND VALVE MECHANISM, 6TA-830 ENGINE (01) - ENGINE
31
40
35
42
11
5
33
24
26
16
9
2
40a
34
28
32
29
36
3
43
43
15
26
42
6
4
13
10
7
19
36
44
37
33a
16
25
29
41
18
18
41
1
28
35
12
34
30
3
8
19
37
FIT
1:1
100%

Артикул

Название

Примечание

Количество

JR913111

HEAD

ASSEMBLY - cylinder, remanufactured, North America only, no longer available, order remanufactured assembly JR925644 below

1шт.

JC913111

HEAD (CYLINDER)

RETURN NUMBER - use this part number to return cylinder head core for credit when using a remanufactured assembly

1шт.

JR925644

REMAN-CYLINDER HEAD

HEAD ASSEMBLY - cylinder, remanufactured, component parts shown on this page do not apply to the remanufactured assembly

1шт.

1

J925644

HEAD (CYLINDER)

HEAD ASSEMBLY - cylinder, with valves, new

1шт.

1

J917768

HEAD (CYLINDER)

HEAD ASSEMBLY - cylinder, with valves, new, no longer available, order head assembly J925644 above (Replaces head J913111)

1шт.

1

J919919

HEAD (CYLINDER)

HEAD ASSEMBLY - cylinder, without valves, new, no longer available, order head assembly J925644 above

1шт.

1

J920026

HEAD (CYLINDER)

HEAD ASSEMBLY - cylinder, without valves, new, no longer available, order head assembly J925644 above

1шт.

2

J912900

PLUG

- expansion, 24 mm

1шт.

3

J923564

VALVE GUIDE

GUIDE - stem, valve (Replaces gulde J901187)

12шт.

4

J924582

INSERT

- seat, intake valve (Replaces insert J908830)

6шт.

4

J925468

SEAT, VALVE

INSERT - seat, intake valve, service repair only, 0.254 mm oversize (Replaces insert J914839)

6шт.

5

J929005

INSERT

- seat, exhaust valve (Replaces insert J904716)

6шт.

5

J929006

INSERT

- seat, exhaust valve, service repair only, 0.254 mm oversize (Replaces insert J914836)

6шт.

6

A77530

PLUG

- expansion, 30 mm OD

1шт.

7

A77782

PLUG

- expansion, 58 mm OD (Replaces plug J900965)

2шт.

8

A77590

PLUG

- expansion, 28,7 mm

5шт.

9

A77534

PLUG

- hex, 1/16 inch PT

1шт.

10

A77428

PLUG

- hex socket, 1/4 inch PT

1шт.

11

A77429

PLUG

- hex socket, 1/2 inch PT

2шт.

12

J924148

PLUG,M22 x 1.5

- hex magnetic, special, 22 mm - 1.5 (Replaces plug J904386)

2шт.

13

J902425

SEALING WASHER,22.2mm ID x 26.9mm OD x 1.75mm Thk

- sealing, plug

2шт.

15

J901177

VALVE

KEEPER - valve

24шт.

16

J912976

RETAINER

- valve spring

12шт.

18

J906412

VALVE SPRING

SPRING, VALVE

12шт.

19

J915707

SEAL

- intake and exhaust valve stem and guide

12шт.

24

J924492

STD INLET VALVE

VALVE - intake (Replaces valve J915506)

6шт.

25

J921444

STD EXHAUST VALVE

VALVE - exhaust (Replaces valve J902254)

6шт.

26

J917728

BOLT

- cylinder head, 160 mm long

14шт.

26

J917729

BOLT,Flng, M14 x 80mm

BOLT - cylinder head, 80 mm long

12шт.

28

J931623

TAPPET

- valve, push rod (Replaces tappet J907240)

12шт.

29

J905194

PUSH ROD

ROD - push, rocker arm

12шт.

30

J905870

SUPPORT

- shaft, rocker arm

6шт.

31

J901693

CLAMP

- retaining, shaft

6шт.

32

868-10065

12 PT SCREW,M10 x 65mm, Cl 12.9

SCREW - 12 point flange, 10 - 1.5 x 65 mm (Replaces bolt J901617)

12шт.

33

J910911

MANIFOLD

- oil, rocker arm, no longer available, order J919677 manifold, item 33A

1шт.

33a

J919677

TUBE

- oil, rocker arm

1шт.

34

J901717

ROCKER

ARM ASSEMBLY - rocker

12шт.

35

J937438

ADJUSTMENT SCREW,Hex Skt, 3/8" - 24 x 33mm, Adj, Ball Point

SCREW - slotted set, adjusting, special, 3/8 inch NF x 40 mm

1шт.

36

425-116

NUT,3/8" - 24, Gr 5

- hex, 3/8 inch NF

1шт.

37

NSS

NOT SOLD SEPARAT

INSERT - rocker

1шт.

40

J915415

SHAFT

- rocker, also order plug J907555, item 44, no longer available, order shaft J919435 below

6шт.

40

J919435

SHAFT

- rocker, sealed with pop rivet

6шт.

41

J906100

SPRING CUP

WASHER - spring

12шт.

42

J907206

WASHER,22.5mm ID x 30mm OD x 1mm Thk

- flat, special

12шт.

43

100-1187

SNAP RING,#87, Ext

Ring, Snap, #87, Ext

12шт.

44

J907555

PLUG

- rocker arm shaft, use with shaft J915415, item 40

12шт.

Выбрано товаров: 46